新浪财经

官方通报“上海多校午餐发臭事件”,一周内将出具结果,该学生餐供应商背后公司8月中标70家学校餐饮项目

市场资讯 2025.09.18 22:46

(来源:都市现场)

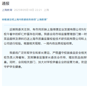
9月18日晚,微信公众号“上海教育”发布通报:

此前,有媒体报道上海多所学校午餐中的虾仁炒蛋被发现有臭味而被紧急撤换。有学生反映这道虾仁炒蛋存在问题后,学校补发了饼干、面包作为替代。

资料图:上海绿捷实业发展有限公司

针对上述事件,该学生餐供应商上海绿捷实业发展有限公司(以下简称“上海绿捷”)回应称,有学校反映虾仁里有细沙,并不是所有批次都存在问题,不存在别的食品安全问题,公司已经留样,将加强食品安全监管,并深刻反思。

目前,闵行区市场监督管理局已关注到此事,将积极开展调查。9月18日,21世纪经济报道记者多次致电上海市市场监督管理局,欲了解此事件最新进展,均显示忙线中。

有关于上海绿捷学生餐的不满由来已久,在诸多社交媒体上均能看到上海学生家长的反馈,存在“油炸食品占比过高”“菜品口味差”“学生吃不饱”等等问题。与之相对应的是,据企查查数据显示,仅在2025年,上海绿捷就有101条中标信息,具体到8月一个月,就中标了70家上海中小学的食堂餐饮服务项目。

(8月上海绿捷部分中标项目名单)

其中,在今年8月,上海市曹杨二中附属学校学生食堂餐饮服务项目中标公告中显示,本项目采用综合评分法,经专家小组打分及评审: 上海绿捷实业发展有限公司得分最高,得分为: 85.80,推荐为中标人。

这让人不禁想问,上海绿捷到底有何来头?据2024年1月的媒体报道介绍,上海绿捷成立20多年来,公司业务覆盖全市16个区的500多所中小学、幼儿园,日供餐超过50万份。更早之前,在2022年,上海绿捷实业发展有限公司董事长张国华曾当选上海市餐饮烹饪行业协会副会长。在另一文章介绍中,张国华为上海绿捷快餐的创始人,最早于1999年成立。

不过,企查查信息显示,张国华在上海绿捷的职务为总经理,任职时间为2018年-2020年。现在,上海绿捷法定代表人为葛某锋,注册资本为5000万元,经营范围包含餐饮管理、信息咨询服务、食用农产品批发等。值得注意的是,该公司曾多次因生命权、健康权、身体权纠纷被起诉。近期,上海绿捷名下多家全资子公司已注销。

加载中...