新浪财经

七年沉浮,一部光伏小企业消亡史

市场资讯 2025.07.21 09:56

(来源:光伏Time)

从负债起家,到背债退场。

 撰文 |叶均

 出品 | 光伏Time

将徐州老家村上“人死账不烂”的原则奉为圭臬的刘亮可能不会想到,自己苦心创办的太一光伏最终会是被一屁股债追到破产。

今年1月,昆山天洋新材料以“不能清偿到期债务且明显缺乏清偿能力”为由,向金坛区法院申请对太一光伏(常州)公司进行破产清算。

7月1日,安徽柯仕达接连向金坛区法院申请常州环宇光伏、昀晖光伏两家公司的破产清算。

作为以上三家企业母公司的江苏太一光伏科技有限公司,亦在同日遭海盈新能源提起破产申请。

参考股权关系结构,这家名不见经传的常州光伏小厂,如今已基本被债主一锅端了。

 图表:太一光伏股权关系结构图

 来源:爱企查

今年以来已经至少有超过50家光伏企业破产清算,仅上个月破产的企业就有近20家之多。

在浩浩荡荡的光伏倒闭大潮中,可能连二、三线都算不上的太一光伏,甚至可以算是其中颇为幸运的一家:

无论是负债千万起家、营收数十亿逆转、55亿大手笔扩产的辉煌一时,抑或是被上游货商拉横幅讨债、累计近两百条开庭公告、被执行总金额高至3亿元的惨烈收场,太一光伏至少没在泥沙俱下的光伏行业死得悄无声息。

太一光伏的七年沉浮,也是两轮周期夹缝间“起而又落”的一部光伏小企业消亡史。

负债起家

与绝大多数光伏创业者一样,刘亮的发家也从对按部就班生活的不甘之中开始。

“我不想重复父母那种生活,辛苦种地,一年到头就盼多收点粮食,我想我可以把事情做得更好一点。”

2008年,初出茅庐的刘亮放弃国企的稳定工作,与朋友合开的公司却只维持了一年时间。其人后从半导体行业转入光伏企业任职。

时间来到十年后,2018年,“531新政”的出台给高歌猛进的中国光伏产业大泼一盆冷水,成为上一轮光伏行业周期性大调整的开端,为那时不少尚在成长中的企业强行送上“成人礼”,更多企业则倒在了“双碳”目标提出的黎明前。

彼时,刘亮所任职的公司迎头撞上行业急转直下,背负超过2000万债务,董事长也在巨大的压力之下突发心梗去世。

时年33岁的刘亮抓住机会,大胆选择逆势接手了这家年利润还不到600万的企业,开启自己的二次创业,硬是挨过2年时间将千万负债全部偿清。

 据说刘亮当年为还债白了头

2020年,刘亮团队在常州金坛朱林镇正式创立太一光伏科技(常州)有限公司,业务涵盖太阳能组件生产、光伏玻璃、光伏边框以及高效异质结(HJT)电池的研发与生产。

当地报道,这家以楚辞《九歌》中的东皇太一神话为名的企业,承载了刘亮相当宏大的理想:

“太阳之所以伟大,是因为照拂地球、造福全人类。我们做企业也是一样,企业对社会、对员工有贡献,才有存在的意义。”

伴随过去几年新能源产业空前繁荣,逐渐迈入正轨的太一光伏也乘上了行业大发展的东风。

2022年,太一光伏以投资55亿元大手笔扩产光伏项目的消息名动业界。其中一期建设5GW TOPCon光伏电池,二期建设5GW HJT光伏电池。预计项目一期竣工达产后,可实现年销售收入50亿元。

同年8月的光伏展会上,公司销售副总董光华向媒体透露,太一光伏受到徐州政府的大力支持,计划于三年内上市。

许是甩掉负债包袱的太一光伏业绩节节攀升,给了公司未来可期的底气。

2021年,太一光伏在金坛开票收入6个多亿,次年开票销售收入突破20亿元。彼时公司便将2023年的发展目标定为60至80亿元,力争2024年突破百亿的销售额。

刘亮甚至在2023年时颇为自信的提出:“企业在疫情三年期间,从原来的默默无闻进入二线品牌,今年奋力冲刺一线品牌。”

公司不仅与国电投、中能建等央国企达成战略合作,还在新加坡、德国、荷兰、巴西等多个国家成立了分公司,业务足迹遍及南北美、欧洲、澳洲、东南亚等全球多个地区。

当然,太一光伏至死究竟有没有成功迈入二线,相当有待商榷。

直至去年5月,太一光伏官微还公开其跻身彭博新能源财经2024年第二季度全球一级光伏组件制造供应商(BNEF Tier 1)榜单,前景似乎一片大好。

事实上,对光伏产业颇有信心,曾提出“每个产业都有它的发展规律,一时的低谷,不影响它蓬勃发展、未来广阔”的刘亮,也并非对山雨欲来一无所感,前年他便预测“到2024年,可能有30%到50%的企业会被淘汰”。

只不过他应该没有想到,太一光伏也会成为最率先倒下的那一批。

背债退场

太一光伏的大溃败,是伴随着“欠债还钱”的声音一同为业内知晓。

去年6月底,货商扯着“太一光伏欠我货款,欠债还钱”横幅到公司现场讨债的视频在光伏圈内广为流传。

 网传太一光伏货商讨债

比起如今的负债、被诉当年让刘亮生出满头白发的千万债务,已经算是小巫见大巫。

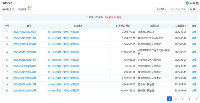
仅今年年内,太一光伏(常州)累计执行信息33条,被执行总金额高达2.36亿元。而将时间拓展至去年10月至今,则足有85条之多。

此外,公司自去年下半年以来还有3条失信被执行人信息,15项股权冻结以及194条开庭公告,仅与晶澳科技之间的买卖合同纠纷就有15起。

在这些开庭公告之中,甚至能够看到国网江苏电力常州金坛区供电分公司的身影,案由则是供用电合同纠纷。以还债起步的太一光伏,到最后这是连电费都难缴了?

被几家上游供应商接连申请破产清算,太一光伏也算是已经回天乏术。此前被外界视作复产翻身希望的环宇光伏,如今也已经走到了破产边缘。

 图表:太一光伏年内被执行情况

 来源:天眼查

加载中...