新浪财经

禁入军队医院!国药大型子公司被通报

医疗器械经销商联盟

关注

编辑:联盟菌

涉围标串标!

国药大型子公司被通报

前段时间,军队采购网发布了一则知情告知书,其中宣布拟对国药控股天津有限公司处以3年禁止参与全军采购活动的处罚。

据公告:

国药控股天津有限公司因在参加耳鼻喉综合治疗台、下肢智能反馈、上肢智能反馈系统采购项目采购活动中,涉嫌存在围标串标等违规行为

根据军队供应商管理相关规定,拟处以3年禁止处理,处理范围为全军采购活动。

(如有异议,需在收到告知书7个工作日内申辩,逾期视为放弃。)

据官网介绍,国药控股天津有限公司是国药控股股份有限公司的全资子公司。公司以药品及器械耗材经营为主,兼营其他大健康相关产品。

根据军队供应商管理相关规定,一旦处罚落实,不仅国药控股天津有限公司将在3年内禁止参加全国军队医院市场,其法人名下的其他公司也将面临“连坐”处罚。

实际上,这已经不是国药集团今年以来旗下首家被通报的子公司了。在近一年的时间里,国药集团旗下已有十多家子公司,因为军队设备围标串标等问题而受到处罚。

在医药四大流通巨头中,国药集团子公司在军采市场的违规情况堪称“首屈一指”

子公司频陷围标串标、业绩下滑严重,

国药集团怎么了?

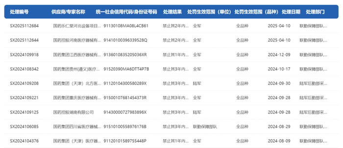
7月17日国药控股湖北致润医疗器械有限公司因为围标串标,被禁止3年内参加空军范围物资工程服务采购活动。

4月10日国药乐仁堂河北设备项目管理有限公司因“虚假投标”,禁止2年内参加全军物资工程服务采购活动。同一天,国药控股河南医疗器械有限公司因“串通投标”,禁止2年内参加全军物资工程服务采购活动的处理。

6月20日这一天,国药集团更是有4家子公司因“围标串标”被暂停参加军队采购。

频繁出现违规情况,让人不禁问一句:国药,到底怎么了?

从业绩方面来看,国药控股2024年营收为5845.08亿元,同比上一年下降了2.02%。然而,归母净利润同比降幅达到了22.14%。其中,器械分销板块2024年营收1179.15亿元,同比下降9.44%。主要原因在于耗材集采产品价格降低,以及医保监管力度加强。

尽管按照2024年的营收水平,国药控股依旧是医药流通四大巨头里的“老大”,但也是唯一一家呈现负增长的企业。

再来看军采市场的表现,相比上药、华润、九州通,国药子公司频繁陷入围标串标等违规行为,不仅损害了国药集团的声誉,也给市场公平竞争环境带来了负面影响。

这一系列问题的背后,或许是内部管理机制的不完善,对合规经营的重视程度不够,导致部分子公司为了短期利益而铤而走险。但它同样也反映出国药在合规经营上存在着不容小觑的漏洞。

最严终身禁入军队医院,

大批械企被处罚!

除了“国药系”,在军队医疗市场严查的当下,7月初至今,已有16家医疗器械企业遭到重罚,其中一家还面临顶格的“终身禁入”处罚。

  • 7月1日,多家企业因串通投标被禁止参加全军物资工程服务采购活动。其中,北京康海盈达医疗器械有限公司、北京和众顾邦医疗设备有限公司、国科恒瑞(北京)医疗科技有限公司、无锡麦创医疗器械有限公司、成都清影医疗设备有限公司、成都明昌医疗科技有限公司,均被禁止3年内参与全军物资工程服务采购活动。

  • 7月2日西安莱特医生集团有限公司、陕西辰易阳医疗设备有限公司存在虚假投标、围标串标行为,被禁止3年内参加空军范围物资工程服务采购活动;西安博阅医疗器械有限公司则被终身禁止参加空军范围物资工程服务采购活动。

  • 7月3日,西安智和盛医疗技术服务有限公司、陕西澳华医疗器械有限责任公司、西安众联共创医疗技术有限公司,均因“串通投标”,被禁止3年内参加空军范围物资工程服务采购活动;沈阳森科生物医药有限公司在投标时提供虚假材料,被禁止2年内参加武警部队范围物资工程服务采购活动。

  • 7月4日南京宁健医学研究有限公司因“违规挂靠”,被禁止3年内参加空军范围物资工程服务采购活动。

  • 7月9日重庆一凡心康医疗科技有限公司因存在围标串标行为,被禁止3年内参加全军物资工程服务采购活动。

  • 7月13日,吉林省三和医疗器械有限公司围标串标,被禁止3年内参加武警部队范围物资工程服务采购活动。

纵观上述军队采购违规案例,绝大多数处罚的原因都是因为围标串标、虚假投标所引起。

这是因为。军队采购网此前发布了《军队物资服务采购整肃治理专区问题线索征集公告》,对全军物资采购“围标串标、虚假投标”等突出问题进行大清查。

一波波整顿之下,近两年内数以千计的违规企业被一一挖出给予处罚,单医疗领域2024年就有将近500家医疗器械企业,在军队物资采购项目中违规被列入失信“黑名单”。

到了2025年,整顿工作仍在紧锣密鼓地开展。

  • 根据最新发布的《中国军队医疗卫生事业发展报告》数据显示,截至2024年年末,我国现役军事体系内的医院总数已增加到131所。

百余所医院的医疗设备市场,无疑是任何医疗器械企业都不愿轻易舍弃的。因此,合规经营将成为企业生存和发展的基本准则。那些妄图凭借不正当手段来谋取利益、曾心存侥幸的企业,都逃不过被市场淘汰的结局。哪怕是在国药这艘巨轮庇护下的企业,也概莫能外。

注:以上内容仅供参考,不构成投资建议,本文中对官方政策的相关解读,仅代表本平台观点,内容以官方文件为准。如有平台转载本篇文章,须自行对该篇文章负责,医疗器械经销商联盟不对转载引起的二次传播影响负责,转载请后台联系编辑

加载中...