新浪财经

20cm涨停!这家千亿市值川股三个月翻三倍!董事长乐山人,此前涉违规减持、违规信披被罚

市场资讯 2025.07.15 15:42

(来源:川商)

国内光模块龙头成都新易盛通信技术股份有限公司(证券简称“新易盛”)股价再创历史新高!

卖出的股票涨了,一路上涨,会是什么心情?

今(15),新易盛股价在开盘10分钟左右就涨停封板,最终报收157.08元/股,总市值已高达1560.9亿元。该股近期呈不断突破新高之势,近一个月累计有11个交易日股价刷新历史纪录,从4月9日至今累计涨幅达214%。

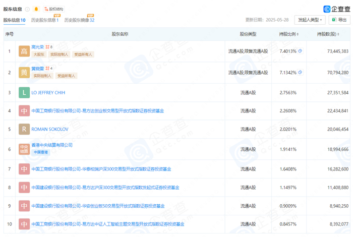
累计套现超9亿

董事长高光荣减持在“半山腰”之下

记者注意到,在股价持续上涨的日子里,新易盛董事长高光荣也在不断地减持套现。东方财富数据显示,新易盛2016年上市以来,高光荣已陆续套现了超9亿元。其中,2022年至今,高光荣就套现近7亿元。

不过,高光荣最后一次公告的减持日期为2023年7月21日,按照当时公告的减持均价66.2元的价格来计算,截至2025年7月15日收盘价157.08元/股,新易盛股价已累计上涨137.28%。也就是说,高光荣是减持在了“半山腰”之下。

消息面上,昨(14)日盘后,新易盛发布2025年半年度业绩预告,预计上半年归属于上市公司股东的净利润37亿元-42亿元,同比增长327.68%-385.47%;扣除非经常性损益后的净利润36.6亿元-41.6亿元,同比增长336.48%-395.85%。 对于业绩变动原因,新易盛表示,报告期内,受益于人工智能相关算力投资持续增长,公司产品结构优化,高速率产品需求持续增加,公司销售收入和净利润同比大幅增加。 

值得一提的是,新易盛2024年和2025年一季度业绩也是成倍增长,2024年公司实现营业收入86.47亿元,同比增长179.15%;实现归母净利润28.38亿元,同比增长312.26%。2025年一季度公司实现营业收入40.52亿元,同比增长264.13%;实现归母净利润15.73亿元,同比增长384.54%。一个季度的盈利规模几乎追平2024年全年的一半。

国盛证券表示,从基本面预期来看,算力行业的核心驱动力在于技术升级的确定性以及业绩兑现的阶段性验证。算力板块的基本面预期锚定长期价值,筹码高低切反应短期对估值差异的再平衡,建议关注技术壁垒强、订单可见度高的核心环节。

资料显示,新易盛于2008年在成都成立,2016年在深交所上市。目前,公司业务主要涵盖全系列光通信应用的光模块,致力于高性能光模块的研发、生产和销售,产品服务于人工智能/机器学习集群、云数据中心、数据通信、5G 无线网络、电信传输、固网接入等领域的国内外客户。

据了解,光模块是一种用于高速数据传输的光器件,其作用是实现光信号和电信号之间的相互转换,从而实现数据在通信网络中的传输。

涉违规减持、违规信披

高光荣被罚没超3000万元

此外,今年,新易盛实控人高光荣被证监会罚没3149.86万元也引发广泛关注。

2月28日,新易盛控股股东、实际控制人、董事长高光荣收到中国证券监督管理委员会出具的《行政处罚决定书》(【2025】29 号):2023年3月15日至4月11日,高光荣通过家族信托2号账户、高光荣华泰证券账户合计转让占上市公司总股本1.42%的“新易盛”股票,其中,违反限制性规定转让比例0.42%,违法所得949.86万元。高光荣通过家族信托2号账户持有“新易盛”期间,未如实向新易盛报告实际持股情况,导致新易盛2020年、2021年、2022年年报披露的股东相关情况存在虚假记载。中国证券监督管理委员会决定: 一、对高光荣违反限制性规定转让股票的违法行为,责令改正,给予警告,没收违法所得949.86万元,并处以2000万元罚款。二、对高光荣信息披露违法行为,责令改正,给予警告,并处以200万元罚款。综合上述两项违法事实,对高光荣合计没收违法所得949.86元,并处以2200万元罚款。 

目前,高光荣虽然是新易盛第一大股东,但持股比例只有7.4%,其与持股7.13%的第二大股东黄晓雷结成一致行动人,共同控制新易盛。他们曾是同事,一起参与早期的出资设立,多年来分任董事长、总经理,稳定合作多年。

2024年,高光荣、黄晓雷分别在公司领取薪酬154.63万元、193.01万元。

简历显示,高光荣,出生于1969年5月,乐山夹江人,中专学历,毕业于成都无线电机械学校工业电气自动化专业。2008年4月至2011年11月任新易盛有限董事长、财务总监;2011年12月至今任新易盛董事长。

黄晓雷出生于1969年9月,研究生学历。2008年4月至2011年11月先后任新易盛有限技术总监、董事、总经理;2011年12月至今任新易盛董事、总经理。 

加载中...