新浪财经

德尔玛第二大股东拟减持4%,"双向代工"模式下价值空心化凸显

估值之家

关注

在竞争白热化的小家电赛道中,代工遍地可见,不过同时扮演代工方和发包方双重角色的上市公司就比较罕见了。德尔玛(301332.SZ)既为小米生产定制产品,又将自身半数生产外包给其他制造商。这种轻资产运作使其规模迅速扩大,在2023年成功登陆资本市场,却也埋下隐忧。

7月6日,德尔玛披露公告显示,公司第二大股东磐茂(上海)投资中心(有限合伙)计划通过集中竞价和大宗交易方式减持不超过1846.25万股,占总股本的4%。以最新收盘价10.85元计算,此次若顶格减持预计可套现约2亿元。

图片说明:来源于公告

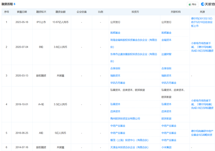
回溯2018年,私募机构上海磐茂以5亿元战略注资德尔玛A轮融资,获得25%股权成为第二大股东。经历IPO稀释后,目前持股比例降至18.96%,持股市值约9.42亿元。以此计算,七年投资的内部收益率(IRR)约为9%。

图片说明:德尔玛融资历程,数据来源于天眼查

作为德尔玛的A轮投资者,上海磐茂在持股七年后首次启动减持计划,虽然公司公告将减持原因归结为"股东自身资金规划需要",但结合德尔玛近期的市场表现,这一解释似乎难以完全打消投资者的疑虑。

自2023年上市以来,德尔玛股价持续低迷,当前10.85元的股价较14.81元的发行价已累计下跌26.74%,陷入破发状态。

图片说明:德尔玛股价,数据来源于同花顺

观察近一年的股价走势,德尔玛始终在10元区间震荡徘徊,未能突破上市初期的价格通道。这种横盘态势对投资机构而言意味着严峻的时间成本压力,若股价长期无法突破,其IRR将随时间推移持续衰减,这或许才是减持的真实原因。

股价的低迷源于公司上市后即遭遇业绩"变脸":2023年归母净利润同比大幅下滑42.93%,近乎腰斩。尽管2024年业绩有所回暖,但距离上市前的盈利水平仍有明显差距。

图片说明:德尔玛归母净利润,数据来源于同花顺

在德尔玛股价持续低迷与业绩承压的双重背景下,上海磐茂的减持动作是否暗示着对德尔玛价值的重估?尤其在公司"双向代工"商业模式面临严峻挑战的当下,这一减持动作更显得意味深长。

"双向代工"模式的隐患

在佛山顺德这个"家电之都",德尔玛创始人蔡铁强在2007年从飞鱼广告起步,2010年转型电商代运营,到2011年创立了现在的德尔玛。如今,蔡氏及其一致行动人通过42.18%的控股掌控公司,其弟蔡演强也从淘宝店长一路晋升至董事副总。然而,2024年财报显示创始人兄弟曾因母亲短线交易被证监会盯上,一纸警示函,暴露出这个家族企业治理的隐忧。

图片说明:德尔玛2024年处罚及整改情况,数据来源于公告

但比家族治理更严峻的,是德尔玛“双向代工”模式下的企业价值空心化。与众多小家电代工企业一样,德尔玛的转折点始于与小米的战略合作。2019年下半年,双方建立合作关系,次年小米生态链资本天津金米分两次注资1.25亿元,获得1.90%股权。合作效应快速显现,2021年小米集团跃升为德尔玛第一大客户,贡献营收占比达21.47%。

图片说明:德尔玛前五大客户,数据来源于招股书

光鲜的合作背后,却是持续下滑的毛利率。招股书数据显示,米家ODM业务毛利率从2019年的27.53%暴跌至2022年上半年的8.79%,演绎了一出现实版的"微笑曲线"陷阱。相比之下,以自主品牌为主的小熊电器,2022年以来毛利率随小家电智能化升级稳步提升,而德尔玛整体毛利率仍受制于代工模式下低利润率的桎梏。

图片说明:德尔玛与小熊电器毛利率对比,数据来源于同花顺

更令人担忧的是,德尔玛是一个趋于"空心化"的制造企业。2024年,德尔玛外协生产成本占比高达47.49%,同比激增24.60%,主要因水健康、个护类产品增长较快,而这两类产品高度依赖外包生产。这种外包模式虽能快速扩张规模,但也削弱了企业对供应链和利润的控制力。

图片说明:德尔玛2024年营业成本构成,数据来源于公告

而且,供应链外包容易暴露出企业研发的不足,德尔玛专利布局呈现出明显的结构性缺陷。根据公开数据显示,公司持有的专利中,实用新型和外观设计专利占据绝对比重,而代表核心技术创新能力的发明专利寥寥无几。

图片说明:德尔玛专利公开数量,数据来源于天眼查

更值得警惕的是,自2023年上市以来,德尔玛的专利申请与授权数量呈现断崖式下滑,2024年新增专利数量较上市前高峰期减少近70%。专利数量的"断崖式"下跌,为这家企业的研发能力打上问号。

德尔玛自有品牌的困境

2020年,德尔玛与皇家飞利浦的商标授权合作曾被视为品牌升级的关键一步。这场"联姻"虽然带来了短期品牌溢价,但飞利浦强势的品牌光环,反而让德尔玛自主品牌的发展空间被挤压。

在资本加持下,德尔玛曾试图为自主品牌开辟蹊径。2020年,直播电商风口正盛时,董海锋(前头部主播薇娅丈夫)以1.5亿元战略入股德尔玛、薇娅也在直播间里带货“德尔玛”品牌的产品,曾为这个品牌带来短暂的高光时刻。但随着薇娅退场,这场流量盛宴也戛然而止。

如今,尽管董海锋仍持有2.27%股份,德尔玛也自行开展直播运营,但品牌声量未有明显起色。最明显的证据就是品牌的销售情况。奥维云网的最新数据显示:2024年7月以来,德尔玛线上零售额持续负增长,呈现量价齐跌,表现远逊于清洁电器行业整体水平。

图片说明:德尔玛清洁家电零售数据,数据来源于奥维云网

在追觅、添可等新锐品牌掀起的价格战中,德尔玛不仅输在营销,更暴露出产品力的硬伤。黑猫投诉平台上,对于德尔玛的投诉多与产品质量相关,折射出代工模式下品控体系的脆弱。

图片说明:德尔玛相关投诉,数据来源于黑猫投诉平台

德尔玛的股权故事,是典型的“家族创业+资本助推+代工依赖”模式。短期来看,小米代工业务提供了稳定订单,但长期低毛利可能制约研发投入;外包生产虽能快速放量,却可能影响品控与利润。

当核心供应链、优势品牌、技术能力三个制造业核心要素都游离于企业掌控之外,资本市场不得不质疑:德尔玛的护城河究竟在哪里?此次第二大股东磐茂减持4%股份,或许正是对德尔玛企业价值空心化的反应。

加载中...