新浪财经

又一国资旅投集团破产!“5年上市”终成梦

市场投研资讯

关注

(转自:山海新财经)

外界不禁产生疑问,一家背靠当地政府,曾获多家金融机构大力支持的省属文旅国企,缘何沦落至此?

楚小强、刘亚丨文

理想与现实的差距总叫人猝不及防,对一家企业也一样。

青海省旅游投资集团股份有限公司(以下简称“青海旅投”)刚成立时,领导班子豪情壮志,喊出5年上市”的宏大目标

如今9年时间过去,外界没有等来IPO的“敲钟声”,听到的却是破产清算的消息。

日前,青海省西宁市中级人民法院的数则公告,透露了青海旅投及其下属公司集体走向破产清算的结局。

青海旅投是实缴资本超4.8亿元的省属一级国企。外界不禁产生疑问,一家背靠当地政府,曾获多家金融机构大力支持的省属文旅国企,缘何沦落至此?

01

曾喊出5年上市

从法院的公告得知,此番被申请破产清算的主体,包括青海旅投及其13家子公司。子公司具体如下:

青海路游网网络科技有限公司;

青海撒拉尔水镇旅游开发有限公司;

青海旅投铁航国际旅行社有限公司;

青海尚东今致文化创意有限公司;

青海旅投文体旅游运营管理有限公司;

青海格尔木昆行天下旅游开发有限公司;

青海省旅游文化运营管理有限公司;

青海旅投自驾车旅游营地开发有限公司;

青海旅投融资担保有限公司;

青海旅投汽车租赁服务有限公司;

青海青藏国际会务有限公司;

青海路游居旅游开发有限公司;

青海旅投药水温泉开发有限公司。

14家企业都是同一天被裁定受理破产清算。申请人不是别人,正是青海旅投及相关子公司

目前,这一破产清算案进入债权申报阶段。法院要求,2025720日前,相关债权人要向青海旅投管理人申报债权,并书面说明债权数额、有无财产担保及是否属于连带债权,并提供相关证据材料。

时间回到2016年,青海旅投的诞生可谓“轰轰烈烈”。

要知道,青海省旅游资源丰富,不仅有中国面积最大的高原内陆咸水湖青海湖,还有世界闻名的可可西里、历史悠久的唐蕃古道,更是长江、黄河和澜沧江三大河流的发源地。

当时,根据青海省政府的部署,青海旅投于20164月正式揭牌成立,并被寄予“全面促进省内旅游资源开发”的厚望。

借助国家重点发展旅游产业的良机,这家省属文旅平台的摊子一开始便铺得很大。从“吃住行游”到“购娱商养”,再到“学闲情奇”,业务全面涵盖景区、酒店、交通、旅行社、旅游地产......

领导班子更是斗志昂扬,成立之初便提出“三年投融资达到百亿元、五年上市”的宏大战略目标。

之后,青海旅投与当地金融机构密集洽谈合作,希望得到对方融资等方面的大力支持。

02

获多家银行支持 

20183月,青海旅投与西宁市农商银行召开合作交流会,时任青海旅投董事长喇积元、总经理马海龙向该行汇报公司发展情况,并强调要做大做强青海旅投,实现“三年百亿元、五年上市”的发展目标。

同期,在与农业银行青海省分行的合作交流会上,时任青海旅投总经理马海龙再次提及要实现“三年百亿元、五年上市”的发展目标,并向该行展示宣传片。

根据马海龙的介绍,青海旅投未来35年,将通过股权投资、资源整合、并购重组等方式,加速全省优质旅游资源整合。希望农业银行青海省分行继续支持公司发展。

彼时,时任农业银行青海省分行行长刘勇表示,会一如既往支持青海旅投发展。为满足青海旅投融资需求,他强调各业务部门要与青海旅投加强沟通交流,以项目贷款、并购贷款、融资租赁及产业基金等多种方式,与之开展多层次、全方位的合作。

得到金融机构资金支持的青海旅投,扩张速度凶猛。此后几年间,公司不仅先后出手收购青海旅投铁航国际旅行社、青海青藏国际会务等资产,还成立了众多二级子公司。

时至今日据企查查显示,剔除已注销的子公司后,青海旅投控制的下属企业仍有20余家。此番申请破产清算的13家包含其中。

03

核心高管接连落马

纵观这家省属文旅平台的生命周期,从揭牌开业到走向破产,前后还不到10年时间,令人唏嘘。

如果拉长时间线,青海旅投近几年来的日子其实一直不太好过。今年616日,青海旅投还新增一则被执行人信息,执行标的金额27.25万元。在此之前,青海旅投于今年3月、4月各新增一条被执行人信息。去年,青海旅投也多次被法院强制执行。

截至623,企查查显示,青海旅投共存在5条被执行人信息,被执行总金额超3.23亿元。另还有2条被限制高消费记录,涉案金额合计仅27.89万元。

反观旗下子公司,此次被申请破产清算的青海旅投铁航国际旅行社、青海撒拉尔水镇旅游开发、青海路游网网络科技等等,早在2023年就已被法院列为“失信被执行人”。

更严峻的问题是,集团下属公司诉讼缠身及屡屡失信之余,公司核心高管也因贪腐问题“塌方”

20235月,时任青海旅投董事长喇积元副总经理马尚德同日落马,两人均因涉嫌严重违纪违法问题被调查。

根据调查结果,喇积元和马尚德不仅违规收受礼品、消费卡,同时还在职工录用中为亲属谋取利益,并滥用职权,造成国家经济损失。

此二人将公权力当作攫取私利的工具,在项目承揽方面为他人谋取利益,并非法收受财物。

同年9月,喇积元和马尚德被“双开”。前者涉嫌国有公司人员滥用职权罪、国有公司人员失职罪、贪污罪、挪用公款罪、受贿罪;后者涉嫌国有公司人员滥用职权罪、受贿罪。

高管贪腐、诉讼缠身、无法偿债沦为失信公司......青海旅投走向破产清算的原因无疑是多方面的。

04

文旅平台日子难过

青海旅投并不是首例出现危机的国资文旅平台。

早在20246月,宁夏永宁县人民法院就曾裁定,对银川文化旅游投资集团(以下简称“银川旅投”)及银川博冠房地产、银川尚质房地产等12家关联公司进行合并破产重整,原因是不能清偿到期债务且明显缺乏清偿债务能力。

企查查显示,银川旅投原是银川市国资委控股子公司,后者于202310月退出控股股东行列。

202410月,管理人对银川旅投等12家公司合并破产重整案公开招募重整投资人。经管理人论证,这12家公司存在法人人格高度混同致使财产界限模糊无法区分,各公司单独重整将严重损害债权人的公平清偿利益,因此管理人向法院申请了合并重整。

彼时,这一破产重整案临时确定了包含国家税务总局永宁县税务局等在内的3061名债权人,债权金额合计超39亿元

文旅产业在行情好的时候,不少地方国资平台纷纷举债投资。然而自疫情爆发后受整体经济环境影响,很多文旅项目前期投入巨大,但后期造血能力严重不足,最终企业债务压顶,流动性告急,陷入经营困境。

就在日前,从上海票交所公布的商票逾期企业名单得知,截至20255月末,商票持续逾期的文旅平台超过70,其中不乏国资背景的文旅集团。

这些名单中,有些企业的名字普罗大众可能都听过,甚至是一些网红文旅项目的运营主体公司,比如广州万达文化旅游城投资有限公司、潍坊禹王湿地旅游文化发展有限公司、西安曲江临潼旅游投资(集团)有限公司(以下简称“曲江临潼旅投”)等。

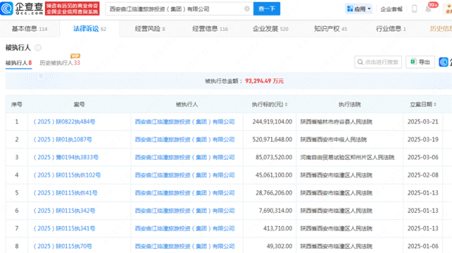
曲江临潼旅投是由西安曲江临潼国家旅游休闲度假区管理委员会投资组建的大型国有企业,注册资本15.2亿元,主要承担西安临潼国家度假区27.33平方公里规划范围内的产业开发、基础设施建设及重大项目的投资建设、运营管理工作。

但企查查显示,今年以来,曲江临潼旅投先后8次遭到法院强制执行,被执行总金额超9.3亿元;2次被限制高消费,涉案金额超758万元。

责任编辑:徐凡淋

加载中...