新浪财经

白象多半商标引争议 食品行业文字游戏耍不停

财中社

关注

近日,白象“多半桶方便面的多半是商标”上热搜。

6月4日晚,白象食品回应称后续公司将尽快调整“多半”产品包装,避免引发消费者的误解。

白象“多半袋”只多25g

此次引发争议的“多半”方便面,实际面饼重量110克,仅比普通方便面85克多25克,并未“多一半”。白象食品解释,目前白象食品在售的“多半”产品,是基于原70克面饼基础上推出的100-120克面饼的大分量产品,“多一半”是基于原60克面饼推出的100克面饼的产品。

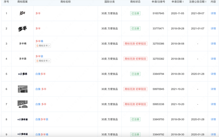
根据企查查,白象已注册成功5个包含“多半袋”“多半桶”的商标,还有9个“多半”相关商标被初审驳回。

《财中社》关注到,白象并非唯一一家在方便面产品命名中运用“文字游戏”商标的企业,康师傅和今麦郎方便面也推出类似的商标。例如康师傅控股(00322)旗下110克的“1倍半”方便面,其申请的“1倍半”商标被驳回,但是其120克的大食袋BIG方便面的“大食代BIG” “大食桶BIG”“ 大食袋BIG”商标注册成功。今麦郎的“1桶半”商标显示已注册,“1袋半”正在申请商标,其中3款商标注册申请中,两款商标初审驳回复审完成。

食品行业“文字游戏”商标盛行

《财中社》梳理发现,不仅是方便面行业,整个食品行业“打擦边球”式商标屡见不鲜。

例如,日前深圳市晨光乳业有限公司旗下“供港壹号”牛奶被指商标擦边。“供港壹号”是公司申请的商标,已经注册四款商标,并且晨光乳业旗下的供港壹号-“我只选更好的牛奶”中,“我只选 更好的”也是公司注册商标。晨光乳业的客服回应,供港壹号产品有在香港售卖,但香港主流超市惠康、百佳等线上渠道,并未发现供港壹号有售。

近期,面对千禾味业旗下“千禾0”系列酱油并非添加剂的“0添加”而是“千禾0”的添加,引发舆情争议。千禾味业回应称,“‘千禾0’是注册商标,并非‘零添加’的字面含义。”并且公司解释,千禾0系列确实未添加食品添加剂。

同时汇源100%果汁的“汇源100%”同样是注册商标。《财中社》注意到,汇源100%果汁的配料表是水、浓缩果汁,并不是消费者心目中100%天新鲜水果压榨而成的产品,而是经过浓缩+水还原而成。汇源源公司市场部工作人员回应称,“汇源 100%” 确实是公司的组合商标,仅用于百分百纯果汁饮品,非百分百果汁的饮品则使用 “汇源” 商标。

广东壹号食品股份有限公司更是推出“壹号土”和“壹号土猪”等商标,但公司的“壹号土鸡”商标被驳回,“壹号土鸡”商标驳回复审决定书显示,申请商标使用在指定商品上,易使消费者对商品的原料、成分等特点产生误认,且整体缺乏显著特征,已构成《中华人民共和国商标法》第十条第一款第(七)项、第十一条第一款第(三)项规定所指不得作为使用及注册之情形。

此外,浙江雪海梅乡食品有限公司正在给其0添加西梅申请“0添加西”商标,江西康怡食品有限公司正在注册申请“零蔗糖”冰激凌商标。

《商标法》规定,带有欺骗性、容易使公众对商品的质量等特点或者产地产生误认的,不得作为商标使用。

经历千禾“0添加”等争议后,近期最新版《食品安全国家标准预包装食品标签通则》(GB 7718 - 2025)出台,具体内容包括禁止使用相关用语:预包装食品不允许再使用 “不添加”“零添加” 等用语对食品配料进行特别强调。例如,食品标签上不能出现 “0 添加防腐剂”“不添加色素” 等表述。

尽管零添加被法律规范,然而很多“擦边”文字游戏仍然存在。

中伦律师事务所知识产权律师舒海认为,在一些缺乏统一国家或行业标准的领域,商标监管尚存较大难度。“商标使用应该是独立、突出的,让大家一看就知道是商标。如果将商标和其他语言文字连在一起,就成了描述性的使用,非商标性质的使用,这属于后续问题。”

加载中...