新浪财经

千万粉丝网红何秋亊回应抄袭,汪苏泷多个演唱会元素申请专利,并注册商标“素龙”

大象新闻

关注

本文来自微信公众号“大象新闻”

近日,千万粉丝网红何秋亊(shì)演唱会造型引发抄袭争议。从服装造型、定制手麦,到舞台元素、互动环节,均被指与汪苏泷2024年巡演、章昊粉丝应援手麦设计、刘耀文舞台造型等高度相似。

昨日,他对此事直播道歉,热搜爆了。

6月3日晚9时许,何秋亊开启线上直播,瞬间就有10万+网友围观。

面对质疑,6月3日,@何秋亊发视频道歉:“这是我第一次办演唱会,很多细节没有把控到位,这是我的疏忽,也因为我的幼稚、不成熟给大家带来了伤害,再次向大家道歉,我会严肃认真追究责任,给这次涉及风波的老师们和粉丝朋友们,一个妥善的交代。此外,我还要替我的粉丝朋友给大家道歉。”

随后他提到:“之前我不知道会跟别人有雷同,这个麦克风,也是我很早就叫别人去做的。这个公司,我们也马上要去告他,我也是受害者,我花了那么多钱,然后他整个跟别人……拿别人的来糊弄我,我也在维权。” 

“为什么别人是撞衫我是抄袭,就是我跟各位老师们穿了很相似的衣服,我想的是觉得可能会觉得我去模仿,但为什么说我是抄袭或者怎么样呢?”

除了提到演唱会与汪苏泷服装雷同之外,他也回应了网红身份开演唱会,他表示:“我觉得标准,只要能让喜欢自己的人满意就好了啊。什么都要有标准吗?票价的事情?真不是我定的,定得再高,我也拿不了很多钱,我是每一场多少钱都已经定好了,和主办方定好了。不是卖得越多,我挣得越高,不是我定的票价。”

据悉,何秋亊演唱会票价在410-1074元,内场票价为1314元,价格直追一线歌手。

汪苏泷多个演唱会元素已申请专利

近日,网红何秋亊因演唱会造型引发抄袭争议。6月2日晚,何秋亊方向汪苏泷道歉,回应演唱会抄袭事件,解释服装造型、麦克风、文案、惊喜环节以及画面等演唱细节问题,是委托第三方来处理的。

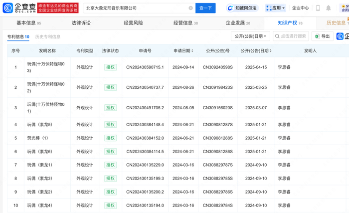
据企查查APP显示,汪苏泷持股10%的北京大象无形音乐有限公司已将汪苏泷演唱会多个相关元素注册为专利,包括“玩偶(十万伏特怪物01)”“荧光棒(1)”等,并已将“素龙”注册成商标,据悉。“素龙”为苏泷谐音,是其推出的一款IP形象,多次亮相汪苏泷演唱会。

6月2日,因演唱会造型引发 #何秋亊抄袭# 争议,千万粉丝网红何秋亊工作室发文向歌手汪苏泷及其团队道歉,并解释称因时间紧急,演唱会协同了多个团队合作,完全按照第三方提供的方案进行, 并未进行详细调查,后续将保留追究第三方法律责任的权利。

4月7日晚间,千万粉丝网红何秋亊宣布,将无期限停播。相关话题登上热搜,引发关注。

何秋亊在社交媒体上写道:“无期限停播,大家找些能让自己开心的事做。”

对于停播原因,何秋亊工作室解释称是何秋亊最近结膜炎复发,加上近期胃绞痛,体检发现身体不太好,医生让休息治疗。

公开资料显示,何秋亊,2003年4月10日出生,抖音平台主播。2023年3月发布的《白毛菠萝咒》作品,因使用猫耳滤镜却化身喊麦高手的反差,在网络上迅速走红,并吸引了大量粉丝。

2024年2月,何秋亊在音乐平台发表翻唱歌曲《他他他》;5月份发表个人单曲《晴天,雨》 ;6月-7月出演网剧《龙门诀之大漠风云变》。

何秋亊是一位专注于颜值领域的自媒体创作者,其主要视频内容围绕高颜值主题展开。目前,其抖音账号已有1036.9万粉丝,作品获赞2.2亿次。

 ‍‍‍大象新闻记者 孙健  部分综合当事人账号 新闻晨报 等监制 | 李金锋 洁敏

主编 | 彭丹

编辑 | 杜卉

加载中...