新浪财经

金恪集团:“非吸”还是“集资诈骗”?

市场资讯 2025.05.31 18:18

来源:资管黑板报

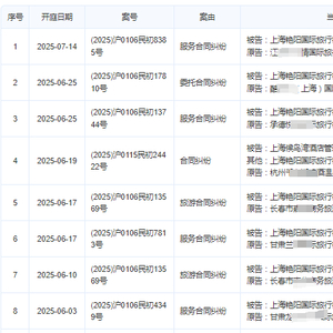
摘要:近日,我们发现金恪集团旗下公司上海艳阳国际旅行社有限公司的开庭公告数高达27条。其中即将开庭的有8条。

近日,我们发现金恪集团旗下公司上海艳阳国际旅行社有限公司的开庭公告数高达27条。其中即将开庭的有8条。

从公布的案件信息显示,案子一般是“服务合同纠纷”“委托合同纠纷”“合同纠纷”“旅游合同纠纷”等,原告单位遍布全国各地。

上海艳阳国际旅行社有限公司即将开庭的公告有8条

此外金恪控股集团股份有限公司即将开庭的公告有3条

金恪控股集团股份有限公司被执行的标的有4条,涉及金额超7500万。

议:金恪非吸而不是集资诈骗

合同诈骗罪是指以非法占有为目的,在签订、履行合同过程中,实施虚构事实或者隐瞒真相等欺骗手段,骗取对方当事人的财物,数额较大,从而构成的犯罪。

集资诈骗:根据《中华人民共和国刑法》第一百九十二条,行为人使用诈骗方法非法集资,数额较大即构成集资诈骗罪。这表明,集资诈骗罪的立案标准相对较低,只要行为人使用诈骗方法非法集资且数额较大,即可构成犯罪。

非法吸收公众存款:非法吸收公众存款罪的立案标准是达到扰乱金融秩序的程度。这意味着,行为人必须非法吸收公众存款到一定的规模或程度,足以扰乱金融秩序,才能构成此罪。

集资诈骗:集资诈骗罪的处罚相对更重。根据《中华人民共和国刑法》第一百九十二条,数额较大的,处三年以上七年以下有期徒刑,并处罚金;数额巨大或者有其他严重情节的,处七年以上有期徒刑或者无期徒刑,并处罚金或者没收财产。

非法吸收公众存款:非法吸收公众存款罪的处罚相对较轻。根据相关法律规定,处三年以下有期徒刑或者拘役,并处或者单处罚金;数额巨大或者有其他严重情节的,处三年以上十年以下有期徒刑,并处罚金。

不过据资管黑板报报道的案例显示,很多平台在最初的立案过程中也有很多是以非吸立案,但在漫长的侦查或者审判阶段也会改变罪名,由“非吸”升级为“诈骗”,比如2024年9月11日,上海市公安局奉贤分局发布《依法对海银财富管理有限公司(以下简称“海银财富”)涉嫌非法集资犯罪立案侦查》的通告。通告称警方对韩某某、韩某、王某等多名犯罪嫌疑人采取刑事强制措施。值得注意的是,此时公安机关对海银财富立案的时候并没有明确“罪名”,而在2025年05月19日,上海市奉贤区人民检察院【重大案件发布】:韩宏伟、王滇等6人集资诈骗案被害人:犯罪嫌疑人韩宏伟、王滇等6人集资诈骗案一案,上海市公安局奉贤分局于2025年5月16日向本院移送审查起诉。在立案8个月之后,海银财富的罪名被明确为“集资诈骗”。

当然这个罪名的改变需要证据支撑,这个证据有可能是相关部门在侦查过程自己找到的,也有可能是受害者以及利益相关方提供给相关部门的,不管怎么样获得证据,都需要受害人以及各方都积极提供才能推动案件进一步向前发展。

2025年2月,金恪集团受害人与相关专案组负责人进行了当面沟通会要点显示:

1、受害人有重要问题可在建立的“警民直通微信群”内对接提问。

2、金恪集团所有已知资产,去年11月起我们就已开始全部股权冻结了,部分股权在我们查封之前已发生转移的除外。

3、退赔金额是以受害人投入的总金额扣除“利息”后的净本金作为应退赔基数。

4、现在能还大家多少净本金目前还是涉密内容,暂时不便公开,已查处到的现金很少,全部现存资产都已查封,可能还值点钱的!

5、证据上需要抓捕的人大都已归案,包括任松,另有二人在逃。

6、已经掌握了金艳的数据库,加上受害人群体提供的管家名单比对,已有基本完整的名单了,凡是涉案的都跑不了的。

7、转“元通”,性质是“债转股”,将原租赁合同收的会同意退赔,一视同仁。

8、金艳案件据说受害者有4~5万人,有这么多吗?回答是人数差不多。

据资管黑板报报道,2024年的12月21日,上海市公安局浦东分局通报,金恪集团、艳阳度假等已被立案侦查,罪名是涉嫌非法集资。涉案金额可能高达五百多亿人民币。

瞄准“高净值中老年人群”

金艳案件据说受害者有4~5万人,大部分是中老年人,金恪的集资模式,就是投资其理财产品,可以免费在度假村住、跟团游、兑换礼品等,并不新鲜,但对老人很有吸引力。通过旗下 “艳阳度假” 品牌,以 “客房租赁” 合同为载体,向投资者承诺 7%-10% 的年化收益,并附加免费度假、积分兑换等福利,吸引老年群体投入养老积蓄。

同样是瞄准“高净值中老年人群”的山屿海集团近日也被立案,近日,上海市公安局虹口分局对山屿海集团涉嫌非法吸收公众存款罪立案侦查并对公司相关人员采取刑事强制措施。

据资管黑板报报道,山屿海集团创始人、董事长熊雄在今年4月份“失联”,有关负责人已被刑事拘留。用山屿海集团创始人、董事长熊雄的话说,老年人群体是“有钱、有闲,候鸟式旅居一定得具备相当的购买力”。

据相关媒体报道,截至2025年5月,上海警方已对37名金恪集团、艳阳度假中高层采取刑事强制措施,并启动国际追逃程序,但实际控制人王建峰早在2021年便取得圣基茨护照,其亲属在加拿大购置的庄园价值超5亿元,追回难度极大。国内资产方面,17家酒店及农业项目多已抵押,变现价值不足预期30%,预计投资者仅能拿回10%-30%本金。

资金流向的复杂性进一步加剧了追赃难度。500亿资金中仅12%用于实体运营,其余通过艺术品拍卖、虚拟货币等渠道洗白。司法审计显示,集团通过关联交易转移资金超200亿元,其中部分流向加密货币市场,导致追踪和冻结异常困难。

加载中...