新浪财经

宗馥莉,正式接任娃哈哈董事长!

每日经济新闻

关注

天眼查显示,5月28日,浙江娃哈哈实业股份有限公司发生工商变更,宗庆后卸任法定代表人、董事长、总经理,由宗馥莉接任法定代表人、董事长职务。同时,多位主要人员均发生变更。

该公司成立于1993年2月,注册资本9179.1755万元。

公开资料显示,宗馥莉,女,汉族,1982年出生于浙江杭州,毕业于美国佩珀代因大学,娃哈哈创始人宗庆后之女。

图片来源:视觉中国

宗馥莉于2004年完成学业后归国,并加入娃哈哈。2007年,宗馥莉担任宏胜饮料集团总裁,通过对宏胜集团改革整合,带领宏胜集团成为一家全产业链饮料生产企业。2016年,宗馥莉又带领团队推出独创定制饮料品牌KellyOne2018年,宗馥莉担任娃哈哈集团品牌公关部部长,领导娃哈哈品牌升级。2020年,宗馥莉兼任娃哈哈集团销售公司副总经理。202112月,宗馥莉担任娃哈哈集团副董事长兼总经理。

2024年2月25日,宗庆后因病医治无效逝世,享年79岁

。随后,宗馥莉接班,开始接手父亲名下公司,陆续接手娃哈哈食品公司及娃哈哈创投公司等。

今年3月,南阳娃哈哈食品有限公司发生工商变更,原股东杭州萧山顺发食品包装有限公司退出,宗馥莉接替宗庆后任该公司董事长职务。

2月23日,浙江娃哈哈创业投资有限公司发生工商变更,宗庆后从法定代表人、执行董事卸任,宗馥莉担任董事。

2月12日,杭州娃哈哈食品有限公司发生工商变更,宗庆后卸任法定代表人、董事长,由宗馥莉接任法定代表人并担任董事、经理。

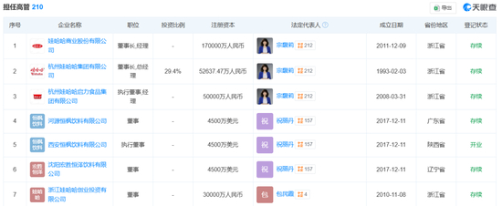
天眼查显示,截至5月31日,宗馥莉共在210家企业任职,担任40家企业法定代表人,多为娃哈哈集团旗下或上下游公司。2024年10月29日发布的胡润百富榜显示,宗馥莉取代邝肖卿成为中国女首富,财富810亿元

2024年,宗馥莉接掌娃哈哈首年便交出一份728亿元营收的成绩单,追平十年前的业绩巅峰有媒体这样评价宗馥莉:她看重效率、数字化、一体化,她不怕打破旧有的组织体系和公司习惯,她高度看重每个动作的流程化。

2024年11月7日,杭州娃哈哈集团在浙江绍兴举办2024年全国销售工作总结表彰大会,当时任娃哈哈集团董事长兼总经理宗馥莉在大会汇报中总结时表示,成功拉齐了十年前的业绩规模。此外,今年娃哈哈针对业绩增长表现突出的经销商合计发放奖励近亿元,娃哈哈销售人员整体收入增长30%。

每日经济新闻综合自21世纪经济报道、天眼查、中国基金报、每经网、公开资料等

加载中...