新浪财经

聚水潭,中国最大的电商SaaS ERP提供商,递交IPO招股书,拟赴香港上市

瑞恩资本RyanbenCapital

关注

2025年5月22日,来自上海的聚水潭集团股份有限公司JST Group Corporation Limited (以下简称“聚水潭”)向港交所递交招股书,拟香港主板IPO上市。这是继其于2023年6月19日、2024年3月21日、2024年11月13日先后三次递表失效后的再一次申请。

聚水潭招股书链接:

https://www1.hkexnews.hk/app/sehk/2025/107390/documents/sehk25052201587_c.pdf

主要业务

聚水潭,成立于2014年,作为一家中国电商SaaS供货商,提供一站式的丰富SaaS产品和服务帮助客户无缝升级业务能力、提高业绩表现并发展跨平台业务,同时极大降低部署和运营成本。

根据灼识咨询的资料:

  • 于2024年按电商SaaS ERP的相关收入计,聚水潭是中国最大的电商SaaS ERP供货商,市场份额达24.4%;

  • 于2024年按收入计,聚水潭是中国最大的电商运营SaaS供货商,市场份额达8.7%。

  • 除ERP SaaS提供商外,中国的电商SaaS市场亦包括CRM、建站管理、销售及营销管理、数据分析、人力资本管理及财务管理,按2024年相关收入计,聚水潭也是中国第二大电商SaaS提供商,市场份额7.1%。

聚水潭已开发出云端电商SaaS产品,能够推动商家客户链接全球逾400个电商平台相连,是中国电商SaaS行业中覆盖电商平台最广的提供商之一。公司的产品为不同类型及规模的客户提供一套统一且直观的业务监控、运营及管理工具,并赋能其做出数据驱动的智能决策。于2024年,聚水潭为8.84万名不同类别的SaaS客户服务。

聚水潭的核心SaaS产品「聚水潭ERP」,服务并满足商家客户在电商平台上处理电商订单相关的关键需求,设计简约且易操作。商家可通过聚水潭ERP轻松整合、同步及统筹协调其所有店铺、订单、产品、库存,管理其各平台的运营或财务数据。聚水潭ERP提供的主要功能包括订单管理系统(OMS)、仓储管理系统(WMS)、采购管理系统(PMS)及分销管理系统(DMS)等。根据灼识咨询报告,聚水潭ERP已成为最受中国商家欢迎的电商SaaSERP品牌。

以ERP为核心,聚水潭进一步扩大产品和服务范围并延伸至其他电商运营SaaS产品,现已成为一站式电商SaaS提供商。公司丰富的SaaS工具可满足电商参与者的各类需求,使其具备财务会计、管理报告及分析、工作流程管理及批发市场采购等能力,使用户可以更好地协同内部资源及与包括包括供货商、分销商、仓储及物流供货商等在内的外部合作伙伴。

于2024年,聚水潭处理了330亿份电商订单,公司技术基础设施也能在访问量高峰情况下能够保持稳定,于2024年「双11」期间,公司成功处理了约16亿份订单,创造行业领先的记录。

聚水潭的收入来自:

  • SaaS,在授权客户使用公司的SaaS产品之前,通常要求客户提前付款,并向客户收取年费(提供不限单量)或基于单量的费用;

  • 出售配套设备,公司出售各种电商配套设备(PDA等),并产生收入;

  • 营销服务费,通过公司的销售人员为其他公司的产品提供营销服务,并收取服务佣金;

  • 其他,主要包括短信服务,目前已战略性停止。

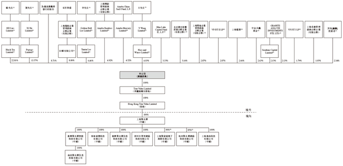
股东架构

招股书显示,聚水潭在上市前的股东架构中,

骆海东先生,直接持有及通过投票权委托安排,合计可控制约46.87%。

其他投资者包括阿米巴资本、北京微光股权、GGV、Wu Yongming先生、红杉智盛、上海蓝湖等。

董事高管

聚水潭董事会由7名董事组成,包括:

  • 4名执行董事:骆海东先生(董事会主席、首席执行官)贺兴建先生(首席产品官)李灿升先生(首席安全官)王瑜先生(首席营销官)

  • 3名独立非执行董事:罗玫女士(清华大学经济管理学院会计系副教授、学院数字金融资产研究中心主任)李嘉俊先生(上海文盛资产首席财务官、董事会秘书兼副总裁)盛凯强先生(上海舞泡网络执行董事)。

除执行董事外,高管包括岑文初先生(首席技术官)刘路遥先生(首席财务官,联席公司秘书)

公司业绩

招股书显示,在过去的2022年、2023年和2024年聚水潭的营业收入分别为人民币5.23亿、6.97亿和9.10亿元相应的净利润别为人民币-5.07亿、-4.90亿和1,058.3万元,相应经调整净利润分别为人民-3.79亿、-2.06亿和4,898.8万元。

中介团队

聚水潭是次IPO的中介团队主要有:

中金公司摩根大通为其联席保荐人;

普华永道为其审计师;

通商为其公司中国律师;

达维为其公司香港及美国律师;

竞天公诚为其券商中国律师;

年利达

为其券商香港及美国律师;

国泰君安为其合规顾问;

灼识咨询为其行业顾问。

版权声明:所有瑞恩资本Ryanben Capital的原创文章,转载须联系授权,并在文首/文末注明来源、作者、微信ID,否则瑞恩将向其追究法律责任。部分文章推送时未能与原作者或公众号平台取得联系。若涉及版权问题,敬请原作者联系我们。

更多香港IPO上市资讯:www.ryanbencapital.com

加载中...