新浪财经

都在抢商标?麦当劳申请“badabababa”,肯德基申请“冷静星期四”

滚动播报 2025.05.22 16:28

转自:上观新闻

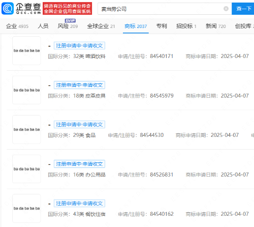
5月21日,记者从企查查APP看到,麦当劳公司正申请注册多枚“ba da ba ba ba”商标,国际分类涉及啤酒饮料、食品、办公用品等。

据悉,“ba da ba ba ba”为麦当劳经典旋律歌词,被粉丝称为“麦门魔性神曲”,近期王楚钦对该旋律进行了重新演绎。此前,麦当劳已成功注册多枚麦门商标。

无独有偶,肯德基的商标布局,从“疯狂”转为“冷静”。

每隔一段时间,与肯德基疯狂星期四有关的梗和段子,就会收割一波网友的关注度。

近日,企查查APP显示,肯德基国际控股有限责任公司于2025年5月申请注册“冷静星期四”商标,国际分类为方便食品。

自2018年起,肯德基推出“疯狂星期四”促销活动,通过每周四的特价优惠和网友自发创作的“疯四文学”,迅速成为现象级营销案例。其标志性结尾“V我50”更成为社交媒体的高频热梗。

2022年,肯德基成功在餐饮住宿类(第43类)注册“疯狂星期四”商标,但其他类别如方便食品、广告销售等因被第三方抢注而受阻。

此次“冷静星期四”商标的申请,被业内视为肯德基在商标防御性布局上的延伸。曾有消费者猜测,此举或为预防他人模仿“疯狂星期四”IP进行关联性抢注,同时为未来可能的衍生营销活动预留空间。

原标题:《都在抢商标?麦当劳申请“badabababa”,肯德基申请“冷静星期四”》

栏目主编:孙欣祺 题图来源:上观题图

来源:作者:沈佳灵 整合

加载中...