新浪财经

新闻多一度 | 40℃高温天气来袭 5月为何北方这么热?

新京报

关注

据气象部门预报,今年北方首场高温过程已开启。今(5月19日)起至22日,

进入核心影响时段,西北、华北、黄淮多地或经历40℃高温天气。高温天气来袭,如何科学防暑防晒?

今明两天高温天气过程进入鼎盛阶段

据气象部门消息,今明两天(5月19至20日),我国首场大范围高温天气将达到鼎盛,多地将现37℃到39℃的高温,河北、河南、陕西局地更是可能出现超过40℃的酷热天气。 

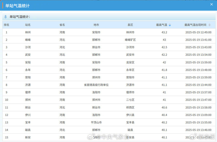
@中央气象台消息,今天(5月19日)11时,河南安阳率先出现超过40℃的站点。截至5月19日14时,已经有16个站最高气温突破40℃。

5月19日13时,来源于2418个国家级气象观测站的数据显示,高温排行前十名里,河南、河北各占五席,其中河南林州以42.1℃排名第一。

气象专家表示,本次高温过程持续时间较长,强度较强,范围较大;主要影响黄淮中西部、华北南部及陕西关中地区,局部地区最高气温将达35℃至37℃。尤其是5月19日至20日,高温天气范围扩大、强度增强,河南西部的局部地区最高气温可能超过40摄氏度。高温过程预计持续到5月22日前后

与此同时,南方大范围降水仍会持续,其中明天新一轮降水将无缝衔接,需防范降雨叠加带来的次生灾害风险,公众请避免前往地质灾害易发地带。

5月的北方为何这么热?

中央气象台首席预报员陈涛介绍,此次高温是大气环流与地形条件共同作用的结果。从大气环流上讲,华北南部至黄淮地区高空受偏西风影响、低层受暖湿气团控制,在晴空辐射助力下,近地面温度迅速上升。从地形看,气流翻越太行山后,在下沉过程中增温,进一步升高局地气温,因此河南及河北南部地区将出现较明显高温天气。

5月出现持续性高温天气是否异常?高温是指日最高气温到35℃以上的天气现象,连续数天(3天以上)高温天气过程称之为高温热浪(也称为高温酷暑)。

陈涛表示,从历史监测数据来看,5月华北到黄淮地区出现阶段性高温天气并不是偶然的现象,历史上经常发生

以2020年为例,《中国气候公报(2020)》显示,2020年5月1日至9日,我国中东部出现1961年以来最早高温过程。华北西部、黄淮西部、江淮西部、江南、华南、西南地区东部及陕西东南部、内蒙古东南部等地极端最高气温普遍有35~38℃。

高温天气如何防暑防晒?

天气炎热,大家应积极采取防护措施,以防中暑。

1. 减少室外高温暴露。尽量避免室外体力活动和户外运动;若需外出活动,尽量避免高温时段外出。在阴凉处活动。尽量避免高温环境与太阳直射,宜在阴凉处活动。

2. 准备防暑降温药品。将防暑降温药品妥善储存,身体不适时服用(以药品说明为准);若患有慢性基础性疾病或长期服用多种药物,应咨询医生。

3. 注意调节饮食。及时饮水,避免饮用含酒精、咖啡因以及大量分的饮品;少食多餐,饮食要清淡易消化。

4. 关注不适症状。外出随身携带解暑药品,一旦出现中暑,可用所带药品缓解症状。若出现头晕、头痛、乏力、口渴、多汗等中暑先兆症状,应及时寻求帮助,尽快转移到阴凉处休息,补充水分;若不适症状持续存在,应及时就医。

5. 保持健康生活方式。充足的睡眠可使大脑和身体各系统都得到放松,注意不要躺在空调的出风口和电风扇下,以免患上空调病和热伤风。多喝水,但口渴后不宜狂饮,应适当补充些淡盐(糖)水。

夏日紫外线的威力不容小觑,外出要格外注意防晒。

物理遮挡是基础:宽檐帽(帽檐≥10cm)配合防晒口罩,能阻挡60%的紫外线直射。防晒衣选择UPF50+专业级产品,其特殊织法能有效反射紫外线。专业级的防晒衣采用“原纱型”防晒技术,经50次洗涤后UPF值仍>40,适合长期户外活动。

化学防护要科学:化学防晒要遵循“20-2-2”原则,即提前20分钟涂抹,每2小时补涂,每次用量约2mg/cm²。对于敏感肌人群,推荐物理防晒霜,避免化学防晒剂可能引发的接触性皮炎。

高温暴晒下,一些车内放置的物品,也可能存在安全隐患变成“危险品”。

1.打火机、防晒喷雾、碳酸饮料等带压力物品,受热易膨胀;

2. 花露水、酒精等,挥发会产生易燃气体;

3. 老花镜、瓶装水等有凸透镜效果的物品,聚光发热易引燃车内可燃物;

4. 充电宝、手机等电子产品,高温下电池易发生鼓包,有爆炸危险。

整合自中央气象台、国家气候中心、健康北京微信公众号、新华网、央视新闻等

编辑 马浩歌

校对 李立军

加载中...