新浪财经

“供港”牛奶实际不供港?深圳晨光乳业被曝商标擦边,“供港壹号”为商标

齐鲁晚报

关注

转自:南方都市报

“供港”牛奶实际不供港?又一企业被曝玩商标文字游戏。

据《中国消费者》报道,日前,多位消费者向投诉平台反映,深圳市晨光乳业有限公司(以下简称“晨光乳业”)生产的“供港壹号”盒装牛奶实际并未供应香港,打商标注册擦边球,存在误导消费者的嫌疑。

对此,南都湾财社记者在国家知识产权局商标局中国商标网查询到,晨光乳业多次申请“供港”相关商标,包括“供港”“供港壹号”“直供港”“供港贰号”等,但多数商标均被驳回,仅一个“供港壹号”商标注册成功。但在晨光乳业的产品矩阵中,“供港壹号”相关产品是重要组成部分,但这些产品是否真的供应香港市场,还是只是文字噱头?

多次注册“供港”相关商标被驳回

目前仅一个“供港壹号”商标注册成功

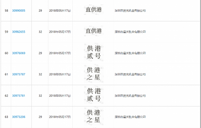
国家知识产权局商标局中国商标网信息显示,晨光乳业从2014年开始申请“供港”相关商标,包括“供港”“供港壹号”“直供港”“供港贰号”“供港之星等,据记者不完全统计,晨光乳业申请的“供港”商标记录达33条,直到2023年该公司仍在尝试申请供港相关商标。

但其中多数商标的状态显示为申请被驳回、不予受理或驳回审查中,仅2017年申请的“供港壹号”商标状态显示为“注册商标”,商品及服务涉及肉; 水果罐头; 蛋; 酸奶; 豆奶(牛奶替代品); 奶粉; 奶茶(以奶为主); 牛奶; 食用油; 果冻。该商标专用期限为2018年02月07日至 2028年02月06日。

官网信息显示,深圳市晨光乳业有限公司(以下简称“晨光乳业”)创建于1979年,是深圳市光明集团有限公司全资、重点国有骨干企业。曾被国务院发展研究中心评为“全国最大鲜奶出口企业”,时至今日,已发展成为一家集研发、生产、销售于一体的专业乳制品企业。

从销售市场来看,官网介绍称,现阶段,晨光产品已覆盖广东省,辐射浙江、福建、湖南等地,在销售网络辐射图中,其销售市场涵盖了香港;在发展历程中,该公司也指出其鲜奶产品曾供应香港,但目前晨光乳业的产品是否仍供应香港?产品包装上印着“供港”二字,是否真的跟香港市场挂钩?

南都湾财社记者在电商平台的晨光官方旗舰店询问客服,供港壹号纯牛奶是否供应香港,但客服“已读不回”。而《中国消费者》的报道中提到,晨光客服称“供港壹号”是2017年为纪念香港回归20周年推出的纪念版包装,且承认该产品“并不供应香港”。

多家企业申请注册“供港”相关商标

温氏食品曾注册相关商标被驳回

由于供港产品与内地产品在价格、标准、监管等方面有所不同,普遍被视为具有“更高品质”,因此消费者往往把“供港”二字与品质挂钩,一些产品供应香港市场的企业也会着重宣传这一点。

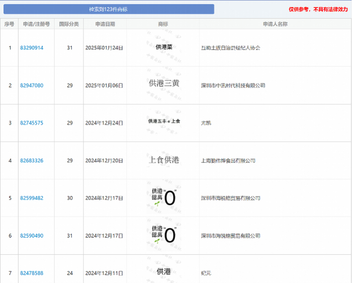
但实际上,很多企业为了蹭上“供港”热度,会在商标上做文章。记者在国家知识产权局商标局中国商标网上搜索“供港”商标,共检索到123件商标,包括“供港菜”“供港生鲜”“供港鲜活”“供港猪场”等,但其中多数商标申请均被驳回。

值得关注的是,温氏食品也曾尝试注册供港相关商标,包括“温氏供港”“供港品质 点滴安心”等,但均没有申请成功。

近期以来,从“千禾0”到“壹号土”,再到“汇源100%”,越来越多“擦边”商标被识破,被公众质疑存在误导。法律界人士指出,“擦边”商标频现,折射出的不仅是企业与行业的乱象,也反映出商标监管的难度与改进空间。

(南方都市报)

加载中...