新浪财经

三年亏183亿,哪吒汽车遭申请破产审查!员工裁一半、账户没钱、App瘫痪……

互联网的一些事

关注

采编:互联网的一些事(imyixieshi)

曾被誉为“国产新能源黑马”的哪吒汽车,如今却走到了破产边缘!

1

被广告公司申请破产

5月13日,全国企业破产重整案件信息网披露,哪吒汽车母公司合众新能源汽车股份有限公司被一家名不见经传的广告公司申请破产审查,案件由浙江省嘉兴市中级人民法院受理。

虽然哪吒方面迅速回应称“并非主动申请破产”,试图澄清舆论,但这已经无法掩盖其摇摇欲坠的现实。

值得关注的是,申请破产的上海禹形广告公司注册资本仅100万元,员工不过5人。一个如此小体量的企业,竟敢向一家数百亿估值的车企发难,背后透露出的信号非常清晰——哪吒汽车的资金链可能已然断裂,连广告费都无法结清。

这不是偶然,而是多重问题积压后的必然爆发。

2

销量断崖式下跌:从15万辆到110辆,三年亏183亿元

2022年,哪吒汽车一度以15.21万辆的年销量,登顶“造车新势力”交付榜首,风头一时无两。然而进入2024年,这一切戛然而止——全年销量暴跌至6.45万辆,同比腰斩。

更为凄惨的是进入2025年后的数据:1月国内零售量仅110辆,同比暴跌97.76%。几乎可视为“全军覆没”。

哪吒汽车的财务状况可以用“触目惊心”来形容。

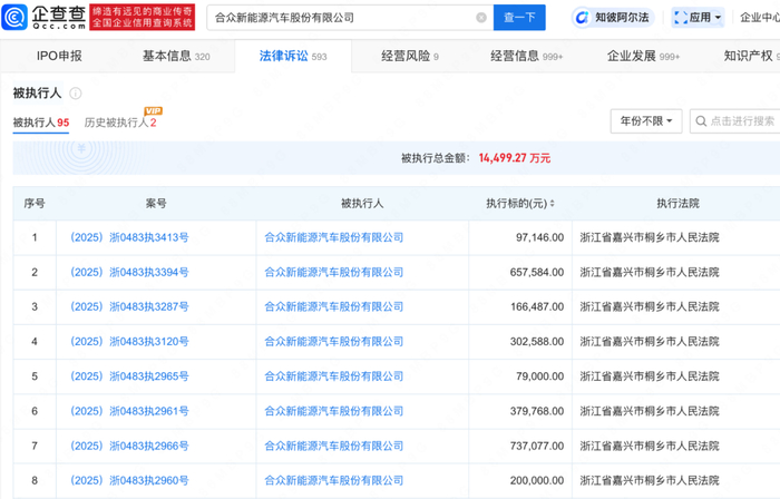
根据公开信息,哪吒汽车三年累计亏损高达183亿元,拖欠供应商货款超过60亿元。与此同时,公司被列为被执行人95次,执行总金额高达1.45亿元。

更令人震惊的是,有被裁员工申请法院执行,冻结后发现哪吒账户仅有722元余额。

一个曾估值数百亿的企业,银行账户里连一部iPhone的钱都不够,这种场景只能用“资金黑洞”来形容。

这也正是为什么,一家小广告公司申请破产审查,竟能把哪吒推上热搜——因为任何一点外部压力都可能成为压垮骆驼的“最后一根稻草”。

3

内部震荡不断:裁员、降薪、高管出走、App瘫痪

2024年下半年开始,哪吒内部就已风雨飘摇。

近3000名员工被裁,占据总人数的一半。与此同时,全员降薪的消息也被披露:年薪百万以上员工降30%,即便是年薪30万元以下的基层员工,也要降薪5%。

天眼查显示,截至5月13日,合众新能源名下涉及司法案件信息400多条,被列为被执行人达95次,被执行金额达到约1.45亿元。

4月,哪吒汽车App大规模断网事件成了压倒用户耐心的最后一根稻草。蓝牙钥匙失效、远程控制瘫痪、导航定位丢失……哪吒的智能车仿佛一夜变成“傻子车”。

更糟糕的是,裁员补偿至今仍未完全落实,部分员工维权无果。高管也频繁出走,前CEO张勇被传出国,虽然他在朋友圈辟谣,但“顾问”身份本身已说明问题——核心团队正在“跳船”。

合众新能源董事长方运舟在2024年末发布全员信,自我反思战略失误,并宣布“二次创业”。但现实是,哪吒早已错过了自救的最佳时机。

4

新势力集体沉沦?哪吒并非孤例

其实,哪吒汽车的困局并非个案。据不完全统计,过去4年间已有25家新势力车企退场,包括曾经风头正劲的威马、高合、拜腾等。

这些企业有一个共同点:初期依靠资本堆砌,快速上马、追求规模,却忽视了产品打磨与服务体系建设。一旦资本退潮、技术难以突破,便迅速陷入困境。

哪吒的失败,再次印证了“造车不是PPT项目”的真理。

5

泡沫破裂后,是重生还是归零?

如今的哪吒汽车,已经不是那个风光无限的“新势力代表”。它成了一个警示,提醒后来者:造车,远不止是“快”和“烧钱”。

真正能活下来的,是那些在技术、服务、品牌、商业模式上都经得起长期考验的企业。

而作为消费者,我们也该警惕那些把“智能”、“新能源”挂在嘴边,却缺乏真正工匠精神的品牌。毕竟,汽车不是手机,不是出问题就重启那么简单。

这场由资本催熟的狂奔,最终以技术失灵、信任崩塌、资金枯竭告终。我们不禁要问:下一个“哪吒”,会是谁?

也许是时候重新审视“造车新势力”这四个字的真正含义了。

你怎么看哪吒汽车的败局?你是否还信任国产新势力品牌?欢迎在评论区聊聊你的看法。

加载中...