新浪财经

监管亮剑!光大证券老牌网点涉及绕标违规

市场资讯 2025.04.30 22:00

监管亮剑!光大证券老牌网点涉及绕标违规

《你算老几?光大证券》一文回应灵魂拷问的行家,收到了不少光大证券旧部的“热情”举报。诸如质疑总经理学历,抱怨IPO业务停摆;更有一份“大字报”,点名道姓爆出“1V3”的风月八卦。

当然,行家对未经证实的消息,一向采取小心求证的态度。这一查,行家发现近期一则监管处罚中,又出现了光大证券的名号。

新增警示

话说,来自广西证监局的最新罚单,剑指光大证券股份有限公司南宁金浦路证券营业部(简称:金浦路营业部)。

打开这份编号为〔2025〕006号的监管函,其中载明:金浦路营业部存在向客户介绍人支付报酬,在开展融资融券业务过程中为客户“绕标套现”提供便利,客户回访不规范、不到位等违规行为。

行家对照了照相关法律法规。

《证券期货经营机构及其工作人员廉洁从业规定》(证监会令第145号)第九条规定:证券期货经营机构及其工作人员在开展证券期货业务及相关活动中,不得以提供礼金、礼品、房产、汽车、有价证券、股权、佣金返还等财物,或者为上述行为提供代持等便利的方式,向公职人员、客户、正在洽谈的潜在客户或者其他利益关系人输送不正当利益。

证券公司融资融券业务管理办法》(证监会令第117号)第四条规定:证券公司经营融资融券业务不得为客户进行内幕交易、操纵市场、规避信息披露义务及其他不正当交易活动提供便利。

《关于加强证券经纪业务管理的规定》(证监会公告〔2010〕11号)第三条规定:证券公司应当建立健全证券经纪业务客户管理与客户服务制度,加强投资者教育,保护客户合法权益。具体要求建立健全客户回访制度,及时发现并纠正不规范行为。证券公司应当统一组织回访客户,对新开户客户应当在1个月内完成回访,对原有客户的回访比例应当不低于上年末客户总数(不含休眠账户及中止交易账户客户)的10%,回访内容应当包括但不限于客户身份核实、客户账户变动确认、证券营业部及证券从业人员是否违规代客户操作账户、是否向客户充分揭示风险、是否存在全权委托行为等情况。客户回访应当留痕,相关资料应当保存不少于3年。

为此,广西证监局对金浦路营业部采取出具警示函的监管措施,并记入证券期货市场诚信档案。监管要求其高度重视上述问题,引以为戒,切实整改,强化人员管理,开展违规问责,完善内部合规管理,切实提升规范运作水平,杜绝此类问题再次发生,并在收到本决定书之日起30日内提交书面报告。

老牌网点

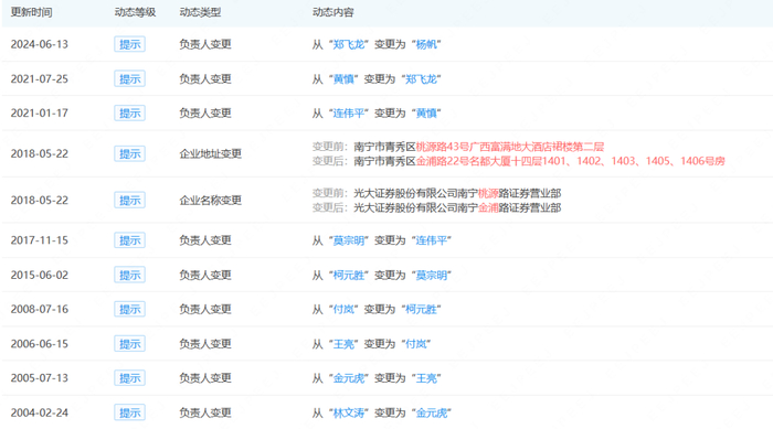
公开信息显示,金浦路营业部网点成立于2001年,至今已有24年之久。成立以来,累计九次变更营业部负责人,目前的参保人员仅有17名。

考虑到现行法规的实施日期,行家查看了2022年以来的营业部负责人。

现任负责人杨帆女士,2009年3月加入光大证券,2012年2月登记执业于金浦路营业部。2015年10月至2021年1月期间执业岗位为投资顾问。2024年6月担任金浦路营业部负责人。

而她的前任郑飞龙,此前曾任职于招商证券南宁金湖路营业部,后担任银河证券柳州友谊路营业部负责人。2021年6月,他加入光大证券,2021年7月接替黄慎女士任金浦路营业部总经理。目前,他已经离职注销。

那么,这家分支机构的违规事项,现任和前任,谁应该负责?

往日纠纷

长期以来,两融绕标是行业顽疾。

在利益驱动之下,券商对客户的违规行为“睁一只眼闭一只眼”。“卖券买券”“担保品划转”等行为的界定模糊,导致“擦边球”现象频发。

加大的杠杆,高企的风险,在股市震荡中原形毕现,最终引来客诉纠纷。

裁判文书网显示,光大证券作为为案件当事人,并且涉及融资融券业务的文书已近百份。其中一起客户叶某某与光大证券的纠纷案,针对“绕标”的争辩,成为案件的焦点。

要知道,融资融券业务只能在标的证券范围内进行操作。然而,该客户通过“卖券买券”的方式,将融来的款项套现变为“自有资金”,之后再购买了非标的证券“尤夫股份”。而这只全仓持有的股票,在2018年2月8日被风险警示,2018年3月23日至2018年5月7日期间连续跌停,委托挂单无法卖出。最终,客户亏光了初始资金,还倒欠光大证券617万余元。

法院认为,“绕标”操作买入非标的证券后产生亏损,应由个人承担相应的交易风险。最终判决叶某某支付融资本息。

2024年,中证协发布了《证券业务示范实践第5号-融资融券客户交易行为管理》,明确要求券商防范客户“绕标套现”交易管理措施。

这一文件的出台,标志着监管层从过往“事后处罚”向“事前预防+事中管控”的动态监管模式升级,填补了长期以来绕标交易监管细则的空白。而本次的监管处罚,能否倒逼光大证券合规展业呢?

曾经头部

回想2015年的高光时刻,光大证券曾经以76.47亿元的归母净利润位列行业十强。而在2024年,光大证券的名次为行业第15名,净利润仅相当于2015年的四成。

当然,受益于“924”行情,光大证券2024年度经纪业务、信用业务出现回暖。分业务来看,包括零售、两融、股质和期货业务在内的财富管理条线,因创收下降的同时营业成本大幅削减,创利27.37亿元,同比增长26%。

随着资本市场合规要求趋严,光大证券需在业务创新与风险控制间筑牢“防火墙”,避免因短期利益忽视合规底线,进而损害公司声誉与客户权益。

(转自:伟海精英)

加载中...