新浪财经

极越汽车更名

市场资讯 2025.04.24 20:08

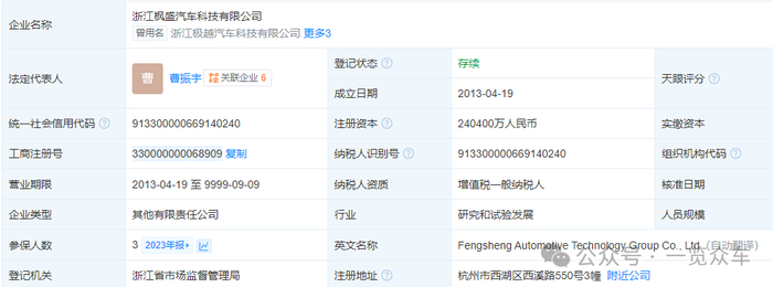
天眼查App显示,浙江极越汽车科技有限公司近日发生工商变更。企业名称变更为浙江枫盛汽车科技有限公司,同时新增台州吉利汽车工业有限公司为股东。

值得注意的是,去年10月,该公司企业名称曾由枫盛汽车科技集团有限公司变更为浙江极越汽车科技有限公司。

浙江枫盛汽车科技有限公司(浙江极越汽车科技有限公司)成立于2013年4月,法定代表人为曹振宇,注册资本为24.04亿人民币,经营范围包括汽车零配件零售、汽车零配件批发、新能源汽车整车销售等。

目前,公司由浙江吉利启征汽车科技有限公司及新增的台州吉利汽车工业有限公司共同持股。

据此前的报道来看,极越汽车关联公司上海集度汽车有限公司近日新增一条被执行人信息,执行标的约2.69亿元。

电话:18676695257

邮件:service@yilanzhong.com

一览众电动零部件报告(2025)

2024-2030年电动汽车高压连接器市场及企业调研报告》

2024-2030年电动汽车高压继电器市场及企业调研报告》

2024-2030年电动汽车高压熔断器市场及企业调研报告》

2024-2030年电动汽车高压线束市场及企业调研报告》

2024-2030年电动汽车电驱动市场及企业调研报告》

2024-2030年电动汽车电机市场及企业调研报告》

2024-2030年电动汽车减速器市场及企业调研报告》

2024-2030动力电池结构件市场及企业调研报告》

2024-2030动力电池箱体市场及企业调研报告》

2024-2030动力电池胶粘剂市场及企业调研报告》

2024-2030年电动汽车汇流排市场及企业调研报告》

2024-2030年电动汽车驱动电机绝缘材料市场及企业调研报告》

2024-2030年电动汽车薄膜电容器市场及企业调研报告》

2024-2030年电动汽车高压配电盒(PDU)市场及企业调研报告》

2024-2030年电动汽车车载充电机(OBC)市场及企业调研报告》 

2024-2030年电动汽车整车控制器(VCU)市场及企业调研报告》

2024-2030年电动汽车DC-DC转换器市场及企业调研报告》 

2024-2030年电动汽车车载电源市场及企业调研报告》 

2024-2030年电动汽车小三电市场及企业调研报告》 

2024-2030年电动汽车热管理市场及企业调研报告》

2024-2030年电动汽车电子水泵市场及企业调研报告》

2024-2030年电动汽车电子水阀市场及企业调研报告》

2024-2030年电动汽车电子油泵市场及企业调研报告》

2024-2030年电动汽车电子膨胀阀市场及企业调研报告》

2024-2030年电动汽车动力电池液冷板市场及企业调研报告》

2024-2030年电动汽车热管理管路市场及企业调研报告》

2024-2030年电动汽车电动空调市场及企业调研报告》

2024-2030年电动汽车电动压缩机市场及企业调研报告》

2024-2030年汽车空调冷凝器及蒸发器市场调研报告》

2024-2030年电动汽车PTC加热器市场及企业调研报告》

2024-2030年电动汽车热泵空调市场及企业调研报告》

2024-2030年电动汽车IGBT市场及产业链企业调研报告》

2024-2030年电动汽车IGBT模块散热基板市场及企业调研报告》

2024-2030年中国储能温控市场调研及投资分析报告》

2024-2030年电动汽车陶瓷基板市场及企业调研报告》

2024-2030年电动汽车功率半导体市场及企业调研报告》

2024-2030年汽车涂料市场及企业调研报告》

2024-2030年汽车启停电池市场及企业调研报告》

2024-2030年汽车低压锂电池市场及企业调研报告》

2024-2030年汽车48V系统市场及企业调研报告》

(转自:一览众车)

加载中...