人人乐进入至暗时刻!年报披露延期、退市风险加剧
新刊财经
在零售变革与平台经济狂潮之下,传统连锁商超被推上时代的审判台。永辉和步步高先发制人高举调改大旗,物美集团也有样学样谋求转型,而人人乐却依赖资产出售饮鸩止渴,最终走到了退市边缘。未来是摘星摘帽暂得保全,还是黯然退市,就看这次财报的最终结果,一周后即将揭晓。
4月21日晚间,人人乐连锁商业集团股份有限公司(以下简称“人人乐”)发布公告。由于公司与审计机构就一些重要事项存在分歧,是否会导致会计师发表非标准审计意见存在不确定性。
数据来源:公司公告
由于审计机构尚未完成全部审计工作,人人乐申请将年报披露日期从4月26日推迟至29日。短短三天的延期,或许是公司在财务争议上的最后一搏。然而,距离上市公司财报最终披露期限仅剩一周,留给人人乐的腾挪空间已所剩无几。
同时,人人乐还发布了股票可能被终止上市的第六次风险提示公告。截至目前,人人乐可能触及两个财务类终止上市情形:一是连续两个年度经审计的期末净资产为负值,二是年报可能被出具非标审计意见。根据《深圳证券交易所股票上市规则》第9.3.12条规定,如果以上情形之一成立,深交所将终止其股票上市交易。
市场对此反应剧烈。4月22日早盘,*ST人乐开盘即跌停封板,成交不足100万股。截至收盘,公司股价报4.76元,较2024年创下的年内高点已累计下挫33.4%。与此形成鲜明反差的是,就在消息公布前的两个交易日,市值仅20亿元的*ST人乐连续收获了两个涨停板,单日成交量分别达到368万股和288万股。
数据来源:wind
因持续经营恶化,人人乐在2024年就被深交所实施了退市风险警示。截至2023年末,公司净资产为-3.87亿元,触及财务类退市风险警示。2021-2023年连续三年扣非净利润为负,且年审机构对其持续经营能力存疑,触及其他风险警示情形。
对此,人人乐进行战略收缩以争取撤销退市风险警示。2024年人人乐对长期亏损且扭亏无望的门店实施关停处理,加快优势区域门店的转型升级。2024年上半年,人人乐关闭9家门店,其中3家被迫转手他人,6家则因长期经营不善或跟不上转型步伐而永久闭店。
然而,关店回笼的资金对于缓解公司的流动性危机只是杯水车薪。人人乐陷入“资金链断裂-拖欠供应商货款-账户冻结”的恶性循环,诉讼纠纷呈爆发式增长。天眼查数据显示,公司涉及的买卖合同纠纷案件已累计达105起,原告名单几乎涵盖整个供应链:从日化巨头拉芳家化、国际品牌雀巢,到纺织、食品、电子等多个领域。
数据来源:天眼查
当前,人人乐正深陷供应商诉讼的连锁危机。据公司公告,因多家供应商申请财产保全,公司及子公司主要银行账号已被冻结,致使资金周转陷入瘫痪。天眼查数据还显示,人人乐目前涉及95起被执行人案件,累计执行标的额高达7038.11万元。
在此危机之下,人人乐通过重大资产处置加速回血。根据业绩预告数据,2024年公司通过打包出售西安配销等3家全资子公司,录得3.5亿元投资收益。年末通过清仓13家亏损子(孙)公司,获6.4亿元投资收益。另外还有1.2亿元关联债务由接盘方承接,本应于2024年底支付的50%款项延期至2025 年2月底。根据合同,余款需在年内支付完毕,但是否会再度延期也未可知。
2024年度业绩预告显示,人人乐的扣非归母净利润预计亏损4.75-5.25亿元,主营业务持续承压。不过,通过出售资产获得的非经常性收益预计将归母净利润拉回到4.1至4.6亿元,勉强实现账面盈利,并推动净资产回正至2308-7308万元区间。但是由于公司与审计机构在资产处置会计处理及营收可持续性等问题上或存在重大分歧,此次业绩预告的可靠性面临严峻挑战。
此外,人人乐高层再添变数也为公司发展抹上一层阴影。2025年3月,上任仅一年半的董事长侯延奎突然以健康为由请辞,卸去包括董事、董事长及法定代表人在内的所有职务。值得关注的是,这位具有实控人“曲江系”背景的高管,在辞职后却仍需继续履职直至继任者到位,这种"离职不离岗"的特殊安排,不免引发外界对其真实离职动机的猜测,是否意在规避潜在的法律责任也未可知。
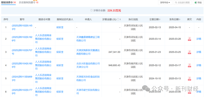
作为人人乐的法人和董事长,侯延奎与公司一同陷入了严重的信用危机。随着公司被列为失信被执行人,侯延奎本人也遭到连带追责,被法院密集下发限制消费令。天眼查数据显示,2024年起侯延奎收到38份限消令,据不完全统计涉案金额达229万元。
数据来源:天眼查
目前公司董事长仍虚位以待,根据股东在深交所互动易的最新提问,新董事长任命时间还未可知。这让治理不确定性加剧。
数据来源:东方财富网
资金链断裂、核心资产被迫变卖、董事长职位空悬。这家曾经的零售巨头如今已走到生死边缘,退市的达摩克利斯之剑悬于头顶,随时可能落下致命一击。
人人乐何以至此?
深圳的老市民或许对人人乐比较熟悉。1996年,它还只是一家面积仅2600平方米的中型超市。千禧年后,人人乐在全国六大区域开疆拓土。到2009年,其门店数量已快速扩张至82家,完成了从地方性超市到全国性连锁零售企业的蜕变,并于2010年成功挂牌上市。
然而上市成为人人乐由盛转衰的分水岭。激进的扩张计划与滞后的运营能力形成巨大落差:招股书规划的2-3年新增68家门店目标,但部分门店因物业交付延迟、合约解约等问题搁浅;在外部竞争压力下新店培育期延长,新店一年亏损数亿元;同时老店也面临销售下滑与人力租金成本攀升的双重冲击,最终导致整体业绩崩盘。
2010年,公司净利润达到巅峰后便急转直下,此后亏损如滚雪球般扩大。2012至2024年间,公司扣非归母净利润累计亏损达48.85亿元(2024年为业绩预告数据),早已吞噬前期的所有收益。公司营收自2012年登顶后也是一路滑坡,2024年营收规模已萎缩至巅峰时期的11%。
数据来源:wind
在经历了十五年浮沉后,人人乐的门店数量仍停留在83家,与2009年的规模基本持平。这个轮回般的数字,残酷地折射出企业这些年在扩张与收缩之间的艰难挣扎,未来迫于债务压力或将进一步收缩。
人人乐败局的根源,或在于其罔顾管理能力和经营困境的盲目扩张。在深陷亏损泥潭的情形下,2016-2020年间公司仍净增了54家门店。这种"带病扩张"的策略导致公司陷入坪效走低与门店数量增长的畸形发展,最终将企业推向了无可挽回的深渊。2023年公司坪效(零售额/门店面积)仅剩2643.6元,为2017年的47%。对比永辉超市同期坪效近万元,胖东来在2024坪效更是高达6万元。
数据来源:wind
数字经济重构零售业态的当下,人人乐仍固守传统卖场模式,线上化转型严重滞后。2024年上半年经营数据显示,其线上营收仅录得4847.35万元,占总营收比重为5%,显著低于永辉超市同期的20.8%。
自有品牌发展乏力也导致商超缺乏内在竞争力,在零售厮杀红海中逐渐被淘汰。2024年上半年人人乐自有品牌零售额1020.57万元,销售占比仅1.2%,远低于胖东来的30%。连曾经被ST的步步高近年也在打造自有品牌BL,2025年自有品牌占有率或可达15%。
人人乐核心品类的经营能力同样堪忧,生鲜类毛利率长期困在个位数,2024年上半年因部分经营不善的门店做了闭店处理,生鲜毛利率增长至9.4%,但仍明显低于同期永辉的12.45%。
数据来源:公司公告
这一系列数据印证了人人乐在多维度的竞争劣势:既未能把握线上渠道红利,又缺失自有品牌战略布局,更在核心品类运营效率上持续落后,最终导致运营管理效率低下。其传统经营模式已难适应当代零售市场的竞争要求。
在零售业深度变革的浪潮中,传统商超的生存之战已进入白热化阶段。据壹览商业不完全统计,2024年国内至少有超过1.2万家实体零售门店宣布关闭。关闭的门店中,商超有782家。然而,仍有不少品牌在改革中实现重塑。但人人乐或许已在这场竞赛中提前出局。
作为具有国资背景的企业,人人乐在这场转型竞赛中明显掉队。其改革步伐长期迟缓犹豫,在侯延奎上任后即便推动变革也是为时已晚,最终只能通过变卖资产这类权宜之计来勉强维持。这种治标不治本的做法,与业内成功转型的案例形成鲜明对比。
名创优品收购永辉后,将名创"极致性价比"的零售基因与胖东来模式的服务精髓相融合,高举调改大旗。截至今年6月底,永辉超市全国自主调改门店数量或将达124家,以点带面实现焕然新生。
同在ST困境中的步步高果断求变,率先引入胖东来模式完成16家门店改造,还通过债务重组等资本运作,2025年第一季度实现归母净利润、扣非归母净利润分别为1.19亿元、0.42亿元,在4月21日成功摘帽。今年三季度之前,步步高或将完成剩余10家门店的调改,逐步恢复元气。
曾经比人人乐遭遇更惨的物美更是上演"地狱级反转"。曾经,由于创始人张文中入狱,物美的门店数量从近600家锐减到168家。张文中狱中回归后,先是在2019年大手笔收购麦德龙中国,又在今年3月开出首家胖东来调改店,展现复苏苗头。同样是“三十而立”,物美和人人乐走出了两条不同路径。
在零售变革与平台经济狂潮之下,传统连锁商超被推上时代的审判台。永辉和步步高先发制人高举调改大旗,物美集团也有样学样谋求转型,而人人乐却依赖资产出售饮鸩止渴,最终走到了退市边缘。未来是摘星摘帽暂得保全,还是黯然退市,就看这次财报的最终结果,一周后即将揭晓。
作者 | 毛墨竹
编辑 | 吴雪