新浪财经

低空经济领军人物田刚印入主吉峰科技,罕见业绩承诺条款引关注

企查查

关注

低空经济领军人物田刚印将以14亿元入主吉峰科技(300022),给市场以低空经济结合农业新质生产力的愿景。

但罕见的业绩承诺条款、交易透明度疑点及联合飞机的隐忧,让这场资本运作备受关注。

控制权易主:田刚印的农业野心

4月17日晚,吉峰科技公告,控股股东四川五月花拓展服务有限公司(下称“拓展公司”)、四川特驱教育管理有限公司(下称“特驱教育”)及原实控人汪辉武,与安徽澜石企业管理咨询有限公司(下称“安徽澜石”)达成协议,公司控制权将易主。

拓展公司以每股8.06元将7235.68万股(占总股本14.64%)转让给安徽澜石,总价5.83亿元;另将2476.14万股(占总股本5.01%)以2亿元转让给安徽澜石一致行动人湖北尚旌管理的“盈沣一期”基金。盈沣一期将其股份表决权不可撤销地委托给安徽澜石,使安徽澜石控制9711.82万股(占总股本19.65%)的表决权,成为控股股东。深圳联合飞机科技有限公司(下称“联合飞机”)联合飞机集团创始人、董事长兼总裁田刚印顺势成为新实控人。

为锁定控制权,吉峰科技将向安徽澜石定向增发1.08亿股,发行价5.66元/股,募集6.12亿元用于补充流动资金。定增后,安徽澜石持股比例将达29.96%。

吉峰科技称,交易不影响正常经营,不损害中小股东利益。

田刚印的入主瞄准农业无人机市场,计划将旗下联合飞机的技术优势与吉峰科技的渠道网络结合。

吉峰科技在全国拥有广泛的农机销售网点,2023年和2024年农业无人机销量分别为1077台和1481台,增长显著。联合飞机的无人机产品覆盖巡田、植保等场景,双方合作契合2025年中央一号文件提出的“农业新质生产力”战略,瞄准作业面积超4亿亩的市场机遇。

田刚印与联合飞机的光环与财务迷雾

田刚印被誉为无人机领域先锋。2007年,他用4万元创业资金研发飞行控制器,获中科院认可,奠定联合飞机基础。据联合飞机官网,截至2025年4月,公司拥有超500项专利,其电控共轴技术打破西方封锁,获工信部“专精特新小巨人”认定。

2023年一季度,联合飞机宣布完成20亿元D轮融资后,随后在6月又完成了12亿元的D+轮融资,估值超100亿元。尽管被质疑估值虚高,但显示出在短时间内成功吸引大量资本的能力。此外,联合飞机还计划在哈尔滨落地大型无人直升机产业化项目,进一步拓展其业务版图。这些举措表明田刚印在资本运作方面具有较强的战略眼光和执行力。

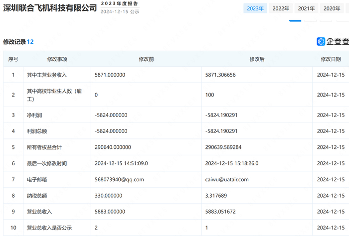
联合飞机的财务数据颇为“低调”。企查查显示,2023年联合飞机营业收入5883万元,净亏损5824万元,净资产29亿元,纳税总额3.32万元,税负占比约0.056%。但作为估值百亿的企业,5883万元营收偏低,真实规模或被低估。

联合飞机未公开负债数据,财务健康状况不明。2023年两次融资为扩张提供资金,但高研发投入和市场竞争可能带来资金压力,运营稳定性待考。

吉峰科技交易中,安徽澜石作为注册资本9亿元的新设公司,承担近12亿元的股份转让与定增资金,资金来源未披露,可能依赖联合飞机或外部融资,交易透明度存疑。

农业无人机热潮:联合飞机的机遇与围堵

农业无人机市场正值爆发期。据农机通发布的数据,2023年中国植保无人机市场规模已达100亿元,显示出市场的快速增长。据2024年中国农业机械工业协会估算,我国农业无人机保有量约21万至23万架,作业面积约4.2亿至4.5亿亩。2025年中央一号文件强调智慧农业技术应用,首次将无人机等低空技术纳入乡村振兴战略的核心工具。

联合飞机在2024年5月的世界无人机大会上发布了低空经济发展战略,提出“造飞机”“搞基建”“抓应用”的三步战略,展示了公司在技术创新和市场拓展方面的积极布局。公司还推出了多款新型无人机产品,如Q100农业无人机,最大喷洒载荷50公斤,流量达到每分钟20升,一小时可覆盖400亩地;最大播撒载荷60公斤,旨在满足多样化的市场需求。

《财中社》发现,联合飞机的竞争对手不容小觑。大疆农业无人机的全球保有量已超过20万台,全球累计的作业面积突破70亿亩次,显示出其在市场上的主导地位。极飞科技在2024年推出了多款智能化农业无人机产品,如P150 Pro,具备喷洒、播撒、运输、航测四大功能,最大载重可达80公斤,进一步提升了作业效率和智能化水平。

联合飞机的产品在载重和续航上具优势,但价格较高。吉峰科技的渠道网络覆盖全国3000余家网点,可为联合飞机提供推广助力,但与大疆的庞大生态相比,协同效应仍需验证。

交易疑云:罕见业绩补偿的博弈

吉峰科技控制权转让中,拓展公司及其实控人汪辉武承诺2025-2027年现有业务三年累计归母净利润为正,否则以现金补足差额;每年经营性现金流需为正,否则以借款补足。

然而,股权转让后,拓展公司及特驱教育仅持4.95%股份,且还可能减持,仍需为现有业务的业绩负责。一家公司的控制权转移后,风险通常随控制权归于新股东,这种安排在A股市场极为罕见。

吉峰科技2024年归母净利润亏损3081万元,同比下降283.36%,高端农机业务疲软。汪辉武承诺业绩,或为稳定市场信心,或为换取更高转让价格。但若业绩持续低迷,其履约能力令人担忧。

此外,业绩承诺又附带更不寻常的先决条件:现有业务管理团队由汪辉武全权组建,不受安徽澜石干预;安徽澜石需确保银行授信额度达历史最高水平。若条件未满足,汪辉武可免除责任。此类条款在A股几乎无先例,成熟市场亦罕见。

可能的动机包括:汪辉武为确保业务稳定,保留人事权;将授信责任交由新股东,规避资金压力;田刚印可能有意将无人机业务与现有业务分开管理,短期专注无人机销售,推迟整合;汪辉武可能通过条款锁定影响力,防范新股东快速整合导致其利益受损。

不论动机为何,这一博弈安排引发了尖锐问题:田刚印为何愿意让渡管理权?公告未明确无人机业务与现有业务的整合计划。若两者长期分隔,协同效应可能受限。要求新股东保障授信,是否暗示汪辉武对现有业务盈利能力的顾虑?

前景与陷阱:吉峰科技无人机突围战

吉峰科技的控制权变更恰逢农业无人机市场热潮,田刚印的技术优势与吉峰科技的渠道网络形成互补。联合飞机的无人机产品与吉峰科技的3000余家网点结合,有望提升市场渗透率。然而,如果未来无人机业务与现有业务实行分隔战略,则如何实现渠道整合和协同效应?

交易需深交所与证监会审核,若尽职调查发现重大问题,安徽澜石可终止协议。吉峰科技2024年业绩大幅下滑,扭亏压力巨大。联合飞机面临大疆、极飞的竞争,其交付能力和盈利稳定性待考。

市场对交易“似乎”反应积极,4月18日复牌后以9.4元涨16.6%开盘,此后逐渐回落,一度翻绿,当日收于8.31元,涨3.1%;4月21日早盘一度走低近4%,截至发稿报8.19元/股,下跌1.44%,与转让价8.06元/股已经相差不大。

但罕见条款和透明度疑点可能引发中小股东质疑,监管机构或将审视条款公平性及安徽澜石的资金来源。吉峰科技能否借低空经济东风,重塑竞争力,取决于田刚印的战略执行力。若无人机业务与现有业务实现协同,公司或将迎来新机;若整合受阻,或因业绩争议陷入纠纷,这场资本博弈的结局仍不明朗。

(文章来源:财中社)

加载中...