新浪财经

索菱股份又成被执行人!未弥补亏损额逾26亿元 深陷证券虚假陈述纠纷

读创客户端

关注

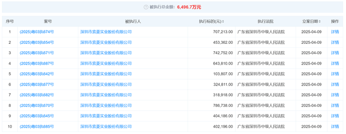
据天眼查网站,4月9日,索菱股份新增多则被执行人信息,执行标的为10万元至162万元不等,执行法院为广东省深圳市中级人民法院。

目前,索菱股份累计被执行总金额为6496.7万元。

资料显示,深圳市索菱实业股份有限公司创建于1997年,专业从事CID系统的研发、生产、销售。公司2015年6月登陆A股,拥有“索莱特”“DHD”“索菱SOLING”“妙士酷”四大自主研发品牌。

业绩方面,索菱股份2024年实现营收13.98亿元,同比增长10.95%;归母净利润6006.76万元,同比增长84.26%。

不过,数据显示,索菱股份上市以来亏损额远超盈利额。其中,2018年、2020年、2021年,该公司分别净亏损10.29亿元、13.05亿元、6.7亿元。

近日,索菱股份公告称,截至2024年12月31日,公司未弥补亏损金额为-26.7亿元。

索菱股份称,导致公司亏损的主要原因包括:

1、2020年度,公司对收购上海三旗通信科技有限公司、武汉英卡科技有限公司、上海航盛实业有限公司形成的商誉进行了减值测试,计提大额商誉减值,未弥补亏损进一步扩大。

2、2021年,受原材市场动荡影响,核心原材芯片、屏、板等价格上涨较大,公司通过采购现货等方式满足部分项目出货需要,导致成本上升,毛利率下滑严重;同时受国内外市场需求影响,公司收入较2020年下降,进而导致公司经营结果不容乐观;同时公司因对应收款项、固定资产计提减值准备、终止确认递延所得税资产、商誉减值、对预计投资者诉讼赔偿、重整相关费用计提等事项计提预计负债、费用等事项大幅减少2021年净利润,未弥补亏损进一步扩大。

3、2022年至2024年,索菱股份迅速由规范治理转为健康经营,通过组织优化调整、项目收益提升、库存优化制造整合等关键举措保障公司平稳健康经营。净利润逐年增加,但仍不足以弥补以前年度累积的亏损。

另需注意的是,索菱股份诉讼缠身。3月19日,索菱股份公告称,公司面临大量中小投资者提起的证券虚假陈述索赔,目前存在1167起中小投资者关于证券虚假陈述纠纷案件,涉及金额合计约1.22亿元。

二级市场上,截至11日收盘,索菱股份涨2.58%,报5.17元/股,总市值44.55亿元。

来源:读创财经

加载中...