新浪财经

【全网最全】2025年中国水泥行业上市公司全方位对比(附业务布局汇总、业绩对比、业务规划等)

前瞻产业研究院

关注

行业主要上市公司:海螺水泥(600585.SH);华新水泥;金隅集团(601992.SH);冀东水泥(000401.SZ);塔牌集团(002233.SZ)等

本文核心数据:水泥行业上市公司汇总;海外布局;业绩比较;发展规划等

1、水泥行业上市公司汇

根据申万宏源水泥行业二级分类板块上市公司,水泥制造上市公司14家,从产品结构来看,龙头企业如海螺水泥、天山股份等覆盖了从基础通用水泥到特种水泥的全品类,例如核电专用水泥、油井水泥、抗硫酸盐水泥等高端产品,同时延伸至商品混凝土、骨料、环保业务等产业链上下游领域。以海螺水泥为例,其产品线涵盖32.5级至52.5级水泥、熟料、商品混凝土及节能环保业务,展现了“一基多业”的布局特点。

根据申万宏源水泥行业二级分类板块上市公司,水泥制造上市公司7家,从水泥制品上市公司经营业务上看,混凝土、商品砼、预应力钢筒混凝土管是主要经营的水泥产品。

从水泥行业上市企业区域分布来看,截至2025年3月,通过查询申万二级水泥行业(包括水泥制造和水泥制品两个三级行业),我国上市的水泥企业主要分布在新疆、北京和广东地区,上市企业数量分别有4家、2家和2家;而东北和西南等部分省份尚无水泥上市企业。

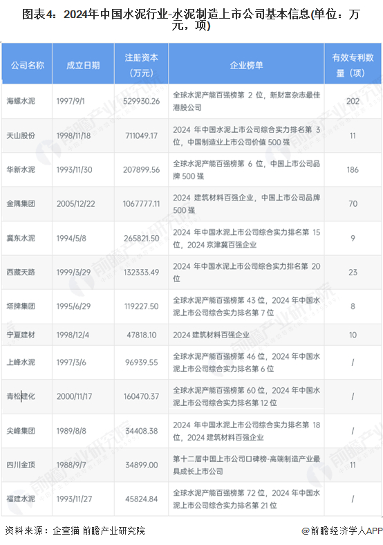
2、中国水泥行业上市公司基本信息对比

在中国水泥行业的上市公司中,水泥制造上市公司成立时间多在2000年之前,水泥制品上市公司成立时间大多在2000-2005年间,这些企业规模普遍较大,注册资本几乎都为数十亿元,金隅集团注册资金甚至超过百亿元,凸显行业重资产属性;从企业有效专利数量上看,企业差别较大,截至2025年3月15日,海螺水泥有效专利202项、华新水泥186项,这些龙头企业凭借持续的技术投入领跑行业,而部分上市企业专利数量不足10项,研发能力亟待提升。行业地位方面,海螺水泥、华新水泥连续多年入选“全球水泥产能百强榜”,天山股份、塔牌集团则在区域市场占据主导地位,反映出“强者恒强”的竞争格局。。

3、中国水泥行业上市公司业务布局对比

水泥行业具有较强的地域性特征,由于原材料、运输成本以及市场需求的影响,各家企业在国内市场的布局多以区域为核心,逐步扩展覆盖范围。而在全球化布局方面,部分龙头企业积极寻求海外市场的突破。

根据上市公司2024年上半年财务数据,华新水泥在海外市场的营收占比最高,达到了22.77%,其次是金隅集团,海外营收占比为12.28%。海螺水泥作为行业龙头,其海外营收虽然达到23亿元,但占总营收比例仅为5.05%,表明其主战场仍然集中在国内市场。而天山股份、西部建设、龙泉股份等公司在海外市场的布局相对较小,占比均在2%以下。

整体来看,中国水泥企业的海外业务主要依托“一带一路”倡议,在东南亚、非洲等地区投资建厂。例如,海螺水泥近年来在印尼、缅甸、柬埔寨等地陆续建成水泥生产线,积极推进国际化战略。华新水泥也在非洲市场扩张,拓展生产能力并整合供应链。而其他水泥企业在海外市场的布局相对保守,更多集中在国内市场优化生产结构。未来,受全球需求增长与国内市场竞争加剧的影响,水泥企业的海外布局或将进一步深化。

注:没有在财报中披露海外业务的上市企业此处未列示。

4、中国水泥行业上市公司水泥业务业绩对比

从营收规模上看,2024年前三季度,金隅集团、海螺水泥、天山股份占据行业前三名,营收均超过600亿元,其中金隅集团达到770.37亿元,为A股上市水泥企业最高。

不过,在净利润方面,行业整体盈利能力受到挑战。海螺水泥仍保持较高盈利水平,2024年前三季度净利润达51.98亿元,远超同行。相较之下,天山股份和金隅集团的业绩压力较大,净利润分别为-37.48亿元和-4.37亿元,处于亏损状态。此外,冀东水泥、西藏天路、福建水泥等企业同样出现亏损,表明行业普遍面临盈利能力下滑的困境。

从具体的水泥业务经营表现上看,2024年前三季度,中国水泥行业整体承受较大压力,市场需求疲软,价格波动较大,导致大部分企业的水泥业务营收出现下滑;金隅集团、海螺水泥、天山股份依然占据行业前三名,水泥业务营收规模超百亿元。

部分企业在水泥业务的盈利能力方面展现出一定的优势。例如,青松建化的水泥业务毛利率达到34.00%,在同行业中排名最高,而上峰水泥、塔牌集团的水泥业务毛利率也超过20%,反映出部分企业通过成本控制和市场定位的优化,提高了盈利能力。总体来看,未来水泥行业企业需要在成本控制、产品升级及市场拓展等方面发力,以应对行业波动和市场竞争。。

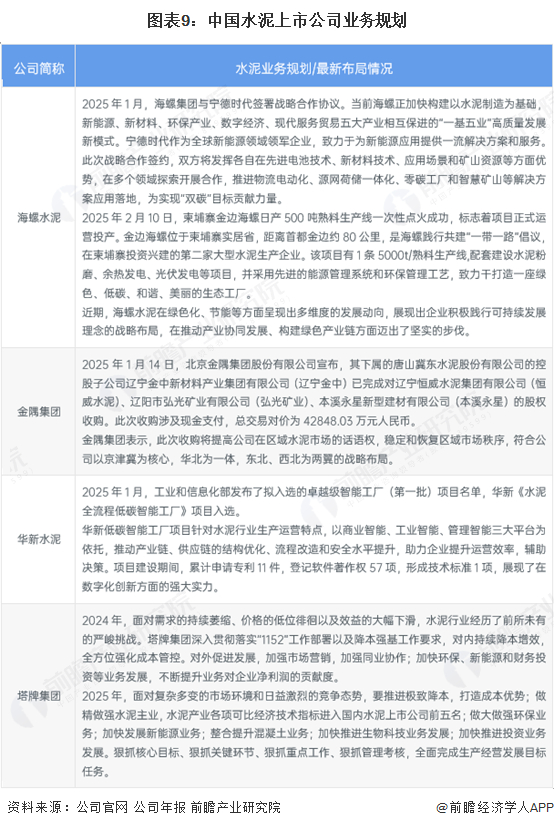
5、中国水泥行业上市公司业务规划对比

面对市场环境的变化,各大水泥企业均在积极调整战略,以适应行业的新趋势。海螺水泥提出“一基五业”战略,推进水泥制造与新能源、新材料、环保产业等协同发展。同时,公司在柬埔寨等地扩展生产线,继续深化海外市场布局。

金隅集团则通过并购方式扩大市场份额,其2025年初完成对辽宁金中旗下三家公司的收购,增强了其在东北地区的市场控制力。这一举措不仅提高了企业的市场占有率,也有助于优化区域供需平衡,稳定水泥价格。

华新水泥在数字化方面布局领先,其“水泥全流程低碳智能工厂”入选工业和信息化部卓越级智能工厂名单,表明公司在智能制造和低碳发展方面具备领先优势。智能化升级将有助于提升生产效率、降低成本,并增强企业竞争力。

塔牌集团在2025年战略目标中明确提出“极致降本”策略,强化成本管理,并推动新能源、环保和投资业务的发展。这种多元化的发展方向,既能减少单一业务周期波动带来的风险,也有助于提升企业的综合竞争力。

整体而言,面对市场挑战,中国水泥企业正在从多方面调整发展策略,包括全球布局、智能制造、绿色发展及多元化业务拓展。这些策略的实施将对行业未来的发展方向产生深远影响。

加载中...