新浪财经

电鳗财经|福建德尔IPO:练健投资背景存疑 康巨建设疑似壳公司

电鳗快报

关注

        《电鳗财经》文/唐书文

        近期,福建德尔科技股份有限公司(简称“福建德尔”)终于回复了上交所的IPO审核问询函。该公司于2023年6月30日获得上交所主板受理,并于当年7月27日被问询。2025年3月31日,福建德尔因发行上市申请文件中记载的财务资料已过有效期,需要补充提交,公司IPO进程中止。

        回顾福建德尔申报材料,《电鳗财经》经研究发现,福建德尔有公司治理有缺陷、业务招待费居高不下、练健投资及部分退出背景存疑、福建康巨建设工程有限公司疑似壳公司等问题。

        一、一致行动人协议补丁打不停,未分配利润转增实收资本乌龙不断

        福建德尔未有单一股东通过实际支配公司股份表决权能够决定公司董事会半数以上成员选任,未有单一股东依其可实际支配的股份享有的表决权足以对股东大会的决议产生重大影响,公司无控股股东。赖宗明直接持有福建德尔15.60%的股权,华祥斌直接持有福建德尔14.88%的股权,通过龙岩翊科间接持有福建德尔0.20%的股权,黄天梁直接持有福建德尔4.58%的股权,三人合计可支配公司35.06%的股份表决权。

        赖宗明、华祥斌、黄天梁于2019年1月1日签署《一致行动人协议》,约定各方拟在股东大会中采取一致行动,以共同控制公司。2019年3月1日,赖宗明、华祥斌、黄天梁签署《一致行动人协议之补充协议》,约定:“若各方在公司应采取原协议下约定的一致行动事项及其他需要采取一致行动事项上无法达成一致时,应当按照各方各自持有的公司股份数额进行表决,以达到各方直接持有股份数二分之一以上的表决意见为准,形成各方共同一致对外意见,做出是否行使召集权决定,以及在公司董事会、股东(大)会上行使相应的提案权、表决权,各方应当严格按照该决定执行,以共同控制公司。”

        然而,经历了2021年8月A轮融资和2022年8月B轮融资后,直至2023年福建德尔才意识到一致行动人协议的漏洞。为避免可能因共同实际控制人意见不一致而导致僵局的出现,有效解决分歧或纠纷,2023年8月1日,赖宗明、华祥斌、黄天梁进一步签署《一致行动人协议之补充协议(二)》,“为避免僵局的出现,存在分歧表决情形时,各方均不得投弃权票。”“各方将严格遵照执行一致行动人协议及其补充协议的约定,妥善解决纠纷与分歧,始终保证发行人控制权的稳定。”一致行动人协议历经3年终于完善。

        此外,福建德尔科技有限公司(福建德尔前身,简称“德尔有限”)分别于2020年8月、12月召开股东会审议通过,同意以截至2020年11月30日的未分配利润对赖宗明、华祥斌、黄天梁、李纪明、黄斌斌、张奎转增实收资本,转增金额为6,345.00万元。但,直至申报会计师审阅后才发现,德尔有限截至2020年11月30日的未分配利润并不足以完成上述未分配利润转增实收资本。

        2022年4月19日,德尔有限全体股东签署《发起人协议》,并召开创立大会,同意将公司整体变更为股份有限公司。2022年12月25日福建德尔召开2022年第三次临时股东大会,审议同意由华祥斌、赖宗明、黄天梁、张奎、李纪明、黄斌斌以现金补足因账务调整导致的未分配利润不足以转增实收资本的2,800万元。

        2023年4月,福建德尔召开2023年第一次临时股东大会,会议决议同意调整为以2019年12月31日公司未分配利润中的1,345.00万元为基础进行未分配利润转增,即华祥斌、赖宗明、黄天梁、张奎、李纪明、黄斌斌合计6,345.00万元的实缴出资中,未分配利润转增金额为1,345.00万元,现金出资5,000.00万元。截至2023年1月29日,华祥斌、赖宗明、黄天梁、张奎、李纪明、黄斌斌已补缴完毕上述现金出资。

        福建德尔股权结构分散。除共同实际控制人外的100名股东中,16名为自然人股东。其他84名非自然人股东中,持股比例最高的为上杭联芯,持股比例仅为4.57%,仅有国投创业基金委派1名董事并根据协议约定行使董事权力,其他股东均为财务投资人,未委派董事参与公司经营管理。一致行动人协议不停打补丁,未分配利润转增实收资本乌龙不断只是股权高度分散,公司治理机制不足的体现之一。

        二、管理费用中业务招待费居高不下

        福建德尔作为一家国家级高新技术企业、国家级专精特新“小巨人”、工信部工业强基工程“一条龙”应用计划示范企业及国家集成电路材料产业技术创新战略联盟理事单位,公司的管理费用中有大量的业务招待费。

        报告期内,公司销售费用中的业务招待费如下表所示:

        报告期内,管理费用中的业务招待费如下表所示:

        管理费用中的业务招待费大幅超过销售费用中的业务招待费,2021年度销售费用中的业务招待费比例为6.23%,达200.39万元,但管理费用中的业务招待费比例为8.98%,达686.37万元;2022年度销售费用中的业务招待费比例为4.08%,达162.23万元,但管理费用中的业务招待费比例为8.42%,达1,273.74万元;2023年度销售费用中的业务招待费比例为3.39%,达155.65万元,但管理费用中的业务招待费比例为5.05%,达895.70万元;2024年1-6月度销售费用中的业务招待费比例为1.81%,达39.91万元,但管理费用中的业务招待费比例为1.89%,达146.37万元。管理费用中的业务招待费无论是绝对数还是在费用类别中的占比均远高于销售费用中的业务招待费,这究竟是为什么?

        三、练健投资背景存疑,练健顺利套现值得关注

        2020年12月,德尔有限注册资本由51,000.00万元变更为71,500.00万元,本次增加注册资本20,500.00万元,练健认购600.00万元注册资本。招股书显示,基于对公司的长期看好,赖宗明拟继续增持德尔有限股权;因本轮增资主要面向外部财务投资人,赖宗明便委托练健代为持有公司250.00万元注册资本,代持价格为2.00元/注册资本。然而,此次增资价格并不高,为何主要面向“外部投资人”?以致于赖宗明需要练健代持以掩人耳目,最终都是哪些外部人参与?招股书并没有详细说明。

        2021年7月15日,德尔有限召开股东会并作出决议,同意公司注册资本71,500.00万元变更为90,500.00万元。本次新增注册资本19,000.00万元,由国投创业基金、红杉安辰、达晨创鸿、兴杭华峰、龙岩投资集团等39名股东以债权及货币资金认购,增资价格为4.90元/认缴出资额。此次增资中练健新增认缴出资额62.72万元注册资本。

        2022年福建德尔设立时,练健已持股662.71万股。2023年5月11日,福建德尔召开2022年年度股东大会,审议通过《关于股份转让的议案》,同意部分股东进行股份转让,具体如下:

        2年半的时间,练健这个“外部人”把2元/注册资本的投资以17.09元/注册资本的价格转让了122.71万股,顺利套现。

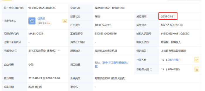
        四、福建康巨建设工程有限公司疑似壳公司

        2018年9月8日,上杭县人民政府与福建天甫签订《项目投资合同书》,就年产36万吨半导体级电子材料项目的建设达成协议。协议主要内容包括:

        (1)项目概况:拟新建投资36万吨电子级化学品项目,占地面积约592亩,建筑面积35,000平方米,分三期建设,建设年限为2018年10月-2023年9月,分三期投资,第一期用地250亩,第二期用地200亩,第三期用地150亩。

        (2)供地方式及配套设施建设:上杭县人民政府以“毛地”报批后交付福

        建天甫进行土地平整,福建天甫自主负责用地范围土石方平整、道路、挡墙及边坡治理工程,所需资金由福建天甫自行负责;在项目用地平整具备主厂房建

        设条件时由国土部门实施土地出让招拍挂手续。

        (3)扶持奖励条款:奖励金额5,500.00万元,分三期奖励。一期奖励3,500.00万元,二期奖励1,000.00万元,三期奖励1,000.00万元;福建天甫每完成一期土地平整、挡墙砌筑并达到规划建设条件时支付该期80%奖励款,完成本期主体厂房建设和设备安装达到试投产要求,支付本期20%奖励款。

        2018年10月28日,福建天甫与福建康巨建设工程有限公司签订《建设工程施工合同》,将年产36万吨半导体级电子材料项目场地平基工程发包给福建康巨建设工程有限公司,场地平基工程具体包含土石方挖填平整、边坡治理、附坡挡墙、水沟、道路、沿途道路边坡绿化等工程,合同金额为固定价格5,500.00万元。

        查询启信宝可知,福建康巨建设工程有限公司成立于2018年3月21日,该公司2022年之前社保人数均未超过10人。该公司成立仅7个月却后成功取得福建天甫5,500万元订单。

        五、亢丽敏去哪了

        2014年6月13日,德尔有限取得福建省上杭县行政管理局核发的《营业执照》,这时德尔有限的股权结构如下:

        亢丽敏以货币认缴500.00万元,出资比例位列第4。但亢丽敏再也没有出现在股东名单中,对于福建德尔创立初期一个比较重要的股东去向,招股说明书并没有做出解释。

        2023年福建德尔的申报材料披露了募资30亿元的计划后,对于交易所对市场拓展与产能消化等问题的问询,福建德尔以募集资金减少近10亿元做出了回应。此外,当前福建德尔的先进制程业务收入占比仍较低,氟化工行业(包括氟化工基础材料和新能源电池材料)也面临着产能扩张的态势,福建德尔将面临更加激烈的行业竞争。目前,国内IPO审核趋严,福建德尔的上市之路充满了挑战,《电鳗财经》将对后续进展保持关注。

《电鳗快报》

加载中...