凯利泰董事内斗未了局,“涌金系”质疑前董事长“利益输送”?
界面新闻
文 | 野马财经 赵普
编辑丨高岩
位于上海浦东新区张江高科东区的凯利泰(300326.SZ)曾被誉为中国骨科医疗器械领域的“隐形冠军”。但这家曾以技术创新和资本并购而成为“骨科细分市场的领头羊”,如今却正与来自“涌金系”的大股东缠斗不休。
3月19日,凯利泰完成董事会成员选举,前任董事长袁征仅获得约3%选票,毫无悬念的落选。但最终7名董事会成员中,有4名董事由袁征实控的上海欣诚意提名,另外3名董事则来自第一大股东涌金控股和第三大股东凯诚君泰提名,袁征虽然不在董事会,但在新选举的董事会阵营中仍略占优势。
此前的3月14日,袁征实控的上海欣诚意起诉了凯利泰,董事长起诉自家上市公司又是为何?
原因是袁征与部分董事关于“回购上海利格泰生物科技股份有限公司股权”(简称“利格泰股权回购议案”)的事项存在分歧,部分董事在审议“利格泰股权回购议案”时阻挠袁征对所涉事项进行说明及参与讨论。
利格泰是凯利泰对外投资的一家关联企业,实控人和董事长为袁征。也正是因为这一层关联关系,双方在利格泰股权回购的事项才成为双方矛盾公开化的焦点。
“即使利格泰再怎么好,它背后也跟凯利泰存在关联交易、利益输送等嫌疑”。“财联社”在报道中引用了涌金控股提名的董事王冲的意见,这也是广大投资人最关注的问题。
王冲甚至通过“财联社”直言,“凯利泰的董事会能够出现一些新变化,能够发出涌金系的声音......能够增强对公司管理层的制约。”
提名王冲的涌金控股,实控人为陈金霞,王冲提到的“涌金系”则是陈金霞前夫魏东一手打造的“金融帝国”,其通过资本运作成为一系列上市公司实际控制人,早年时期主要以“医药+金融”的模式为特色。
2008年魏东离世后,陈金霞继承了魏东的全部遗产,开启了“陈氏涌金”的时代。但魏东之后的“涌金系”逐渐出现人员流失、IPO失利等事件,昔日的“涌金系”在投资的上市公司中的话语权也有所下降。
而凯利泰则是袁征参与创立的医疗器械集团。自2005年成立以来,凭借椎体成形微创手术系统的国产化突破,迅速占据国内市场半壁江山。
2012年凯利泰登陆深交所创业板后,将外延式并购作为长期发展战略举措,2020年曾达到历史最高股价31.17元/股,但目前最新股价仅为6.94元/股,总市值约49.76亿元。
从这次董事会选举情况来看,凯利泰大股东和袁征之间在“利格泰股权回购”以及其他利益相关的矛盾还将继续下去,谁能达到最终目标还很难说,凯利泰在股东内斗的纠纷中,能否稳健发展,也颇为引人关注。
利格泰“攻防战”
目前凯利泰的董事会成员中,蔡仲曦、金诗强、张斌、狄朝平均为上海欣诚意提名,可以划分为袁征一方的人员;而王冲、朱丁敏为涌金控股提名,惠一微由凯诚君泰推荐。
据“财联社”、《时代周报》等媒体报道,由第一大股东涌金控股提名的董事王冲,对袁征、总经理王正民为代表的管理层是否“合法合规”表示怀疑,其中焦点问题就是:利格泰是否跟凯利泰存在关联交易、利益输送情况,从而损害凯利泰公司利益。
而袁征则是医学领域的资深人士,从业30余年,名下有多家关联公司。天眼查显示,利格泰成立于2014年,是一家以从事专用设备制造业为主的企业。利格泰的法人、董事长、总经理均为袁征,持股比例约30.75%,而凯利泰目前在利格泰持股比例约7.01%。
利格泰主要业务在运动医学领域,拥有半月板缝合系统、肩关节镜等骨科医疗器械产品。在利格泰B轮和C轮融资中,凯利泰都扮演了重要的投资人角色,在2020年、2021年合计向利格泰投资约7945万元。此外,利格泰还在2023年完成了D轮融资,交易金额达到数亿元。
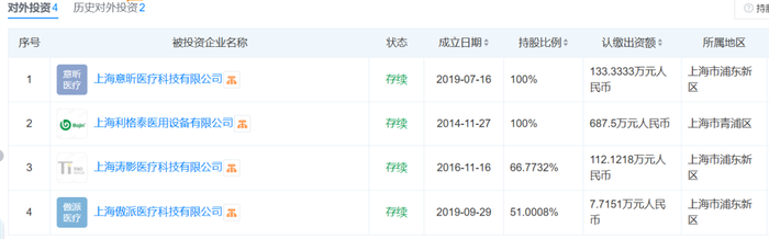
此外,利格泰还投资了上海利格泰医用设备有限公司、上海意昕医疗科技有限公司、上海涛影医疗科技有限公司及上海傲派医疗科技有限公司4家公司,且法人均为袁征。
来源:天眼查
但袁征是否利用这些公司与凯利泰进行关联交易、甚至损害公司利益等问题目前并没有定论,“财联社”引用王冲的回复称,“正在做这方面的梳理,但是信息比较多,有一些也不一定能够从年报获悉。
但目前确定的是,凯利泰第一大股东涌金控股要“斩断”凯利泰和利格泰的股权关系。
2024年,利格泰的人工韧带及附件产品成功入围集采,袁征认为这将帮助利格泰2025年业绩实现爆发式增长。
然而就在这个关键时期,凯利泰提出回购其持有的利格泰股权,这必然导致凯利泰无法分享利格泰未来的业绩红利,而袁征的利益也自然会受到影响,袁征当然不同意此时退出。
同样持反对意见的还有凯利泰总经理王正民,他也认为此时退出可能影响公司未来的投资收益。
目前,虽然凯利泰的董事会成员完成了新的选举,但袁征起诉凯利泰撤销“回购利格泰股权决议”的诉讼还在等待开庭,未来凯利泰是否会切断和利格泰的股权关系,还有待观察。
业绩先扬后抑,凯利泰“袁征时代”结束了?
值得关注的一个细节是,在凯利泰选举董事会成员时,中小投资者表决结果显示,袁征获得的中小投资者选举票数约为926.61万票,约占出席会议的中小投资者有效表决权股份总数的4.51%。
很明显,中小投资者对袁征的支持率并不高,这可能与袁征在任期间,凯利泰业绩和股价表现有关。
据公开资料,凯利泰是由秦杰、袁征和李广新三人在2005年创立,2005年3月至2022年6月,袁征一直在凯利泰任董事、总经理等职务。2018年12月以来,袁征又担任凯利泰董事长,至今已是第7个年头。
自2012年登陆创业板后,凯利泰通过资本扩张收购了多家骨科公司,比如2013年收购北京易生(心血管介入器械)、江苏爱迪尔(骨科创伤产品);2018年以约1.2亿美元收购美国骨科设备公司Elliquence,LLC,拓展脊柱微创设备业务;2020年还控股了国药洁诺医疗服务,布局医疗器械消毒服务领域。
通过上述并购,凯利泰产品线从单一脊柱微创扩展至骨科全领域(脊柱、关节、创伤、运动医学)及心血管介入、医疗服务,形成“平台型集团”架构。截至2024年,凯利泰的产品覆盖全国1000余家二级以上医院,并出口欧美、东南亚等地区。
在持续收购的同时,凯利泰营收也从5.51亿元增至峰值12.69亿元(2021年),但近年来的业绩有所下滑。
凯利泰2022年至2024年第三季度的营收分别是11.56亿元、9.56亿元和7.5亿元,同比增速分别为-8.08%、-17.99%和1.86%。
此外,自2018年以来,凯利泰归母净利润起伏也较大。2018年是凯利泰净利润历史最高值,达到4.63亿元,但2019年就下滑至3.02亿元,并且从2019年至2023年,其净利润陷入“盈利—亏损”的循环中。
来源:东方财富
此外,凯利泰的毛利率也从2016年峰值75.52%降至2024年三季度的49.05%,主要是其并购标的(如爱迪尔、Elliquence)的产品毛利率低于传统脊柱业务,同时近年来的医疗耗材集采政策导致部分产品降价。
而凯利泰的净利率波动更为剧烈,2018年高达49.45%(受益于Elliquence并表投资收益),2022年骤降至-2.05%,2023年回升至13.24%,但2024年第三季度又下降至9.45%。
2024年上半年,凯利泰经营活动现金流净额仅0.32亿元,同比减少81.4%。而截至2024年第三季度末,凯利泰货币资金约2.25亿元,短期借款约1.85亿元。
在凯利泰业绩波动的同时,袁征、王正民的薪酬也受到关注,财报显示,袁征、王正民2023年的税前薪酬总额分别为100万元和230万元;而在2020年~2022年,袁征的薪酬分别为255.32万元、258万元和258万元,王正民的薪酬则保持在180.04万元。
袁征在2023年大幅降低薪酬的背景,是公司营收大幅下降近18%。同时,总经理王正民薪酬大幅上涨至230万元,这或许与当年凯利泰净利润上涨有关。
“上市公司出现董事会内斗,究其根本还是双方利益冲突所致。”知名经济学家宋清辉分析认为,董事会或股东内斗往往给公司的日常经营和未来发展带来不确定性,也可能会损害中小股东利益,董事会的决策应该兼顾大股东和中小股东的利益。
近一年来,凯利泰股价呈现波动上涨趋势,期间最高股价出现在2024年12月12日,当日最高股价达到8.22元/股。但自今年3月13日以来,凯利泰股价下跌明显,截至3月20日,凯利泰股价为6.94元/股,较之前最高股价跌幅已超15%。
凯利泰证券事务代表孙梦辰在回答投资人咨询时表示,公司自上市以来,始终为无控股股东、无实际控制人的股权结构。目前公司拥有较为完善的公司治理结构,并致力于运营能力的提升和业绩修复。
随着袁征退出董事会,凯利泰是否会进入完全由职业经理人运营的新时代,目前还未可知。
你了解过骨科医疗器械吗?留言聊聊吧!