新浪财经

涉及锂离子电池,国家市场监管局征求26项拟立项强制性国标意见

市场资讯 2025.03.20 21:01

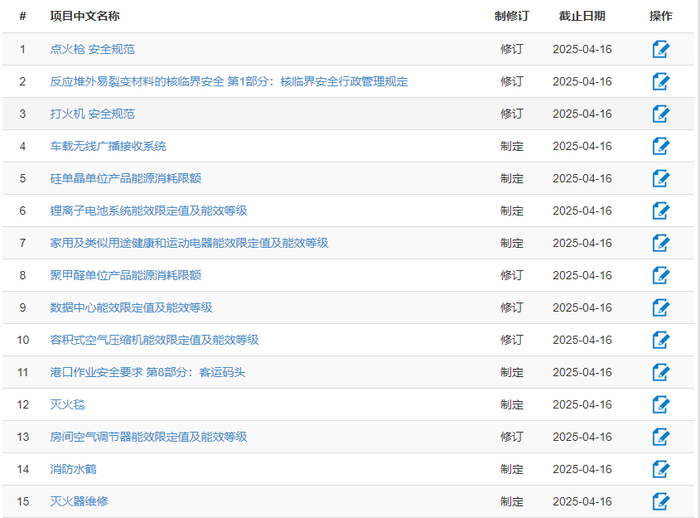
储能与电力市场获悉,3月17日,国家市场监管总局发布关于征求《点火枪 安全规范》等26项拟立项强制性国家标准项目意见的通知。其中包含《锂离子电池系统能效限定值及能效等级》标准计划。

《锂离子电池系统能效限定值及能效等级》标准主要起草单位为:中国标准化研究院 、宁德时代新能源科技股份有限公司 、华为数字能源技术有限公司 、深圳弗迪电池有限公司等 。

该标准规定了锂离子电池系统的能效限定值、能效等级及试验方法和技术要求。适用于电动汽车用电量不低于10kWh的锂离子电池系统和电力储能用锂离子电池系统。主要技术内容包括:范围、规范性引用文件、术语和定义、缩略语和符号、综合能效分级方法、通用试验条件、试验方法、能效计算方法8个方面。

标准基础信息如下:

项目周期:22个月

申报日期:2025年2月27日

公示开始日期:2025年3月17日

公示截止日期:2025年4月16日

由于我国尚未建立锂离子电池在电动汽车及储能领域的能效国家标准。该项标准制定填补了我国在电动汽车用锂离子电池系统和电力储能用锂离子电池系统能效限定值和能效分级方面的空白。拟制定标准的术语定义等相关内容与已发布的国家标准、行业标准保持一致。

标准制定还将充分考虑我国实际情况,并结合参考相关国内外标准内容,努力扩大相关标准的影响力,积极参与国际标准的交流工作,促进国际间合作和互认。

看个广告休息一下

原文如下:

(转自:储能与电力市场)

加载中...