新浪财经

315曝光“电子签”高利贷,借贷宝有来头,开发企业曾上榜四川“专精特新”名单

市场资讯 2025.03.16 08:46

来源:时代周报-时代在线

2016年曾因裸条事件被央视曝光的借贷宝,在今年的315晚会上再度被点名。在央视记者的采访视频中,该公司相关工作人员称,“我们现在已经做得比较大了。”

此次被点名因借贷宝平台采用一种新型的“电子签”实现陌生人借贷,该平台上声称可开具法院认可的借条及欠条。使用同样模式的平台还有人人信,该平台产品经理表示,“我们相对更隐蔽”。按相关借款人提供的借款金额及利息粗略计算,该平台年化借款利率竟然高达5959.81%。

至于如何规避高利贷业务的监管,上述产品经理甚至指出,通常通过做假账号来规避风险,人脸识别甚至不需要人活着,以此暗示去世人的信息也可以用来做假账号。

这些借贷平台为何如此猖獗?背后又是哪些公司及资本在运作?

借贷宝开发企业上榜四川“专精特新”名单

找陌生人借钱竟然真能借到,到底是谁在操纵这些放款平台?

今年315晚会中曝光了这些借贷平台的资金套路。一名借款人洪先生在借贷宝平台按照放款人要求,分别签署了具有法律效力的欠条和借条。洪先生称,自己向放款人借款5000元,但实际只收到3500元转账,平台欠条上的借款金额已登记为5000元,更要命的是,平台要求洪先生在7天时间内额外还1500元利息,借款人这才意识到自己惹上了高利贷。

为何能向陌生人借到钱?平台采用了线上签订正规电子签协议,实际交易则并非在该平台,而是在微信、支付宝等平台实现交易。维权的难度在于,平台通过隐瞒真实放款人身份导致借款人无法识别真实身份信息,遭遇了暴力催收也无法通过法律渠道起诉。

人人信平台产品经理还表示,为规避借款人追息,平台会通过开立假账号,并将账号所有人设置为老人、残疾人等人群,从而躲避相关法律的监管。

这些借贷平台背后的金主到底是谁?

时代财经下载了“借贷宝”APP,该平台的主体显示为成都借宝科技有限公司(以下简称“借宝科技”),天眼查信息显示,该公司成立于2018年,位于四川省成都市,是一家以从事软件和信息技术服务业为主的企业,企业注册资本1000万元,而实缴资本仅20万元,法人是王璐。

通过天眼查穿透,借宝科技的实控人是吴刚,总持股比例为30.58%,而吴刚也是同创九鼎投资控股有限公司(以下简称“九鼎投资”)的实控人。

借贷宝作为一款互联网金融产品,由人人行科技股份有限公司(以下简称“人人行科技”)于2014年发起,早期由九鼎投资等出资设立,吴刚担任董事长。目前,人人行科技的两大股东为成都借宝信息服务有限公司(以下简称“成都借宝信息”)和思运科(北京)科技有限公司,分别持股99.9%和0.1%,成都借宝信息的实控人指向借贷宝(香港)有限公司。

时代财经在借贷宝官网查询到,借贷宝于2015年8月实现A轮融资20亿元,2016年1月实现B轮融资25亿元,2017年12月实现C轮融资20亿元.其官网还显示,2023年8月,借宝科技还上榜了四川省“专精特新”中小企业名单。

人人信多位股东去年退出

在315晚会中同样因“电子签”被曝光的借贷平台还有人人信,其背后企业主体是人人信(天津)科技有限公司(以下简称“人人信”)。

人人信被曝光的案例则涉及借款人王女士,由于急需资金周转,王女士在人人信平台用电子签借了30000元,到账14000元,被扣除16000元,平台回应称是利息,王女士发觉陷入高利贷,但与借贷宝一样,由于放款主体身份不明,仍然无法通过法律程序解决。

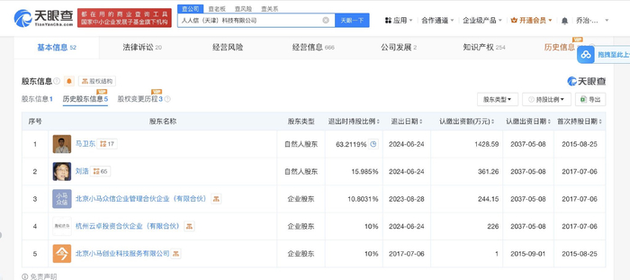
时代财经在天眼查平台查询到,人人信天津曾用名是北京人人信科技有限公司,成立于2015年,位于天津市,是一家以从事科技推广和应用服务业为主的企业。企业注册资本2260万元,实缴资本2160万元,并且,该公司于2017年完成天使轮融资。

人人信天津的历史股东马卫东、刘浩、杭州云卓投资合伙企业(有限合伙)集中在2024年6月24日退出股东行列,退出时,马卫东持股63.21%,刘浩持股15.99%,杭州云卓投资合伙企业持股10%。

据天眼查信息显示,马卫东是今借到创始人兼CEO、A+课堂派联合创始人,曾创立360状元网、小二生活服务平台。

与借贷宝一样,今借到也曾卷入裸贷事件,2016年女性“裸条借贷”事件被曝光后,有借过相关贷款的女大学生曾向媒体表示,自从借贷宝“管得严”之后,很多借贷关系转移到了今借到这个平台上。

2017年,出现相关事件后,今借到平台法人代表马卫东曾对澎湃新闻表示,“我们不是放贷平台,也不管催债,只是做电子借条的。”

事实上,上述平台此前也被曝出不好消息。2023年2月,四川内江市公安局披露,有组织自2017年12月至2020年6月期间,分别利用“借贷宝”等平台和“恒丰e贷”等APP,虚增与“砍头息”金额一致的“保证金”,累计向全国31省市大量受害人实施“套路贷”诈骗,非法获利上亿元。

加载中...