借壳还是炒股? 作者 | 赵普 编辑丨高岩 来源
搜狐财经
借壳还是炒股?
作者 | 赵普
编辑丨高岩
来源 | 野马财经
3800万元就能拿到价值20亿元的股份,这个生意你会做吗?
2月25日,利源股份(002501.SZ)再次涨停,这已经是该公司自2月21日公告“股权转让”以来,连续收获的第三个涨停板。这次交易背后的买家,是段永平“门生”张源实控的江苏步步高置业有限公司(简称“江苏步步高”),曾在A股市场有着“显赫战绩”的张源,这次又踩对点了?
公告显示,江苏步步高将以3800万元的“低价”,收购倍有智能科技(深圳)有限公司(简称“倍有智能”)100%股权,而倍有智能持有利源股份8亿股股份,占利源股份总股本的22.54%,是利源股份的控股股东。待上述股权完成收购后,利源股份的实控人将变为张源。
截至2月25日收盘,利源股份总市值约89.11亿元,以此估算,上述8亿股股份的市值已达到约20亿元。
作为一家小型房地产企业,江苏步步高为何要跨界铝型材制造行业,步步高实控人张源是为了借壳上市,还是又一次股市投资呢?
张源一出手,利源股份的股价就神奇的反转了。
历史股价图显示,利源股份的股价2024年曾两次跌破1元,直面一元退市风险。但2月21日,江苏步步高收购倍有智能全部股权、张源将成为利源股份实控人的消息一公布,利源股份就直接涨停了。
截至2月25日收盘,利源股份股价为2.51元/股,相比2月20日收盘价,已经大涨33.51%。
来源:东方财富网
无独有偶,2024年11月,张源旗下另一家公司将拿下大千生态(603955.SH)控股权的消息公布后,大千生态股价更是连续13个涨停板,公司股价从9.63元/股,一路飙升到36.58元/股,总体涨幅接近380%。但随后开始回落,截至2月25日,大千生态股价为19.23元/股,总市值26.1亿元。
截至2月25日,大千生态和利源股份的合计市值已经超过115亿元,而张源旗下两家公司合计需要支付的股权收购款仅约为4.06亿元。
用4亿元实控两家上市公司、合计市值超百亿,而且股价都能应声大涨,这笔生意看上去很不错吧。张源何许人也,竟对上市公司有如此魔力?
来源:罐头图库
《新快报》等媒体曾以“段永平门生”的身份介绍张源。很多80后、90后应该对“步步高”“小霸王”不陌生,段永平就是小霸王、步步高品牌的开创者,广东步步高电子工业有限公司创始人、步步高集团董事长。
段永平出生于1961年,而张源比他小7岁,在段永平创立“步步高”“小霸王”时,张源曾出任广东步步高电子工业有限公司的董事,也算是步步高的“元老级“人物。2002年前后,段永平移居美国,但他与张源的商业纽带则通过另一层关系延续。
1996年12月,张源创立了江苏百胜电子有限公司并担任执行董事至今;2013年,江苏步步高置业成立,张源是实控人;2016年11月,张源创立苏州步步高投资发展有限公司(简称“苏州步步高”);2020年5月至今,张源还兼任极兔速递环球有限公司非执行董事。
其中,段永平的哥哥段力平是江苏步步高的第三大股东,持股比例4.88%;张源对苏州步步高直接持股约65.93%,而另一大股东王晓梅持有苏州步步高4.73%股份,资料显示,段力平妻子王晓梅与之重名。
来源:罐头图库
如今已经65岁的段永平有过多次重大投资被人记忆深刻,比如他曾以“1美元”吃进网易股后1年溢价50倍、47美元进场APPLE、180元投资茅台股……现在这些公司股价比段永平进场时已经涨了几十倍乃至上百倍。
与段永平有过多年合作的张源,近几年也在资本市场上频频出手。
2023年6月末,曾经在深交所上市的“光一科技”进入退市整理期间,张源对其大手笔增持,从原本持2037万股增持至3715万股,仅仅8天时间,光一科技股价便暴涨106.82%,张源还提名了多位公司董事候选人。
张源的这一行为,引发深交所关注函与监管函,要求其列示张源自持有公司股份以来的详细交易情况、张源增持公司股份的原因及合理性等。
股吧里,有投资者发帖质疑张源收购利源股份的目的,还罗列了张源买卖多只A股股票的“战绩”,并猜测张源是否真要做实业、搞好利源股份?
来源:股吧
其实,这位投资者发出的质疑不无道理。
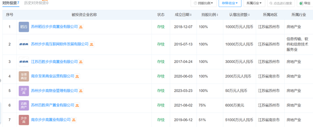
天眼查显示,这次收购利源股份控股股东的江苏步步高,其主业是房地产开发、销售,旗下共有7家全资或控股子公司,其中6家公司是和房地产行业高度相关的公司,比如物业公司、商业运营公司或其他以房地产业务为主的置业公司。
来源:天眼查
而利源股份主业为研发生产和销售铝型材、铝合金深加工产品、汽车轻量化产品、新能源产品及轨道交通装备部件等。从利源股份对投资者的介绍来看,其汽车轻量化零部件的年产能力达到50万套,先后为奔驰、大众、宝马、中国一汽、沃尔沃、北汽福田等车企生产配套产品。
显然,江苏步步高入场利源股份,是典型的“跨界收购”,其实房企跨界、转型汽车相关领域,也是目前行业趋势之一,但令人费解的是,为何张源偏偏看上了连年亏损的利源股份?
财报显示,2018年至2024年第三季度,利源股份在扣非净利润上已经连亏7年多,其中2019年巨亏113.7亿元,2024年预计仍是亏损。
利源股份解释公司亏损时表示,受行业竞争加剧的影响,产品价格持续下降,公司产能开工率不足,公司经营性亏损。而且因为产能利用率较低,公司的固定资产存在减值迹象。
来源:东方财富网
利源股份表示,公司所处行业属于技术与资金密集型行业,急需产业背景强大、资金实力雄厚,能为利源股份拓展新的盈利增长点的投资方加入。
但利源股份目前的控股股东倍有智能却不太给力。截至2024年12月31日,倍有智能的总资产约6.69亿元,总负债8.59亿元,净资产为-1.9亿元。
此外,因金融借款合同纠纷,倍有智能持有的利源股份的股权全部被法院司法冻结及轮候冻结。
倍有智能曾对三家吉林公司在吉林九台农村商业银行股份有限公司长春分行(简称“九商行”)的借款提供连带责任保证担保,目前借款本金余额约8.95亿元。判决书显示,倍有智能需对上述3家公司向九商行借款的本金、利息、罚息等给付义务承担连带清偿责任。
而江苏步步高收购倍有智能后,将为上述贷款向九商行提供足额抵押增信措施,待抵押完成后,九商行将申请解除所有对倍有智能持有的8亿股利源股份股票的司法冻结及轮候冻结。
完成收购后的股权关系 来源:企业公告
北京市盈科(广州)律师事务所宋竟一律师分析称,被冻结的股权转让是受限制的,需要法院或申请执行人同意。倍有智能持有的利源股份被冻结,会导致直接转让困难。因此,一些企业会出售母公司股权,规避直接转让被冻结股份的法律障碍。
除了上述债务,利源股份还存在回款风险。
在东方财富网等财经证券网上,利源股份和通威股份、雅博股份等被归类为“光伏概念股”。但野马财经注意到,利源股份对光伏业务的介绍并不多。此外利源股份在介绍公司可能面临的风险中,单独指出“部分光伏产品客户账期长且存在逾期回款情况”,存在“应收账款风险”。
目前,利源股份表示,已经采取措施积极回款。
从电子产品到从事房地产,再从房地产到汽车零部件,张源的投资策略似乎总能踩中时代热门行业,利源股份能在张源手中扭亏、翻盘吗?
你还记得当年的步步高吗?