新浪财经

千亿国企融资性贸易被查,多人被问责!

市场资讯 2025.02.25 15:12

我们注意到,在内蒙古国资委的一则通报中:

内蒙古交通集团融资性贸易问题被查处,多名负责人被问责!

注意到,2023年6月,原内蒙古高速公路集团有限责任公司和内蒙古公路交通投资发展有限公司经专业化整合充重组为现在的内蒙古交通集团。内蒙古交通集团注册资本1000亿元,是内蒙古自治区资产规模最大的国有企业

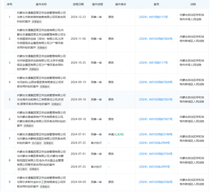
小供进一步查询内蒙古交通集团旗下供应链公司,发现以交通集团为字号的供应链公司仅有一家,即:内蒙古交通集团厚正供应链管理有限公司。该公司年初发生多名高管变更,或为涉事企业之一。

目前,该公司作为原告和被告涉及多起贸易纠纷。

今年4月,内蒙古治区国资委组织召开自治区国资国企系统诚信建设工程工作推进视频会议,会议强调:要开展虚假贸易专项整治,认真组织开展全面自查,坚决清理退出融资性贸易和“空转”“走单”等虚假贸易。

我们注意到,早在2022年9月,内蒙古国资委即印发了《内蒙古自治区国资委出资监管企业重大经营风险管控办法(试行)》(内国资财管字〔2022〕111号)》,该办法要求内蒙古省级国企聚焦主营业务,严管严控高风险业务,逐步退出高风险、低毛利的贸易业务,严禁开展融资性贸易和“空转”“走单”贸易。

包括国务院国资委在内的各级国资监管机构持续强化对国企融资性贸易的监管。

但目前,融资性贸易在国资监管中的描述为禁止开展“名为贸易实为借贷”的融资性贸易,没有查询到详细的界定标准。在各级地方国资监管部门和国有企业执行时,标准不一,争议不断。贸易大多有回款账期存在资金实质性占用,如何与正常的贸易流通或供应链业务区分?

国务院国资委在交流互动中明确回复:

《关于进一步排查中央企业融资性贸易业务风险的通知》(国资财管〔2017〕652号)规定,融资性贸易业务是以贸易业务为名,实为出借资金、无商业实质的违规业务。其表现形式多样,具有一定的隐蔽性,主要特征有:一是虚构贸易背景,或人为增加交易环节;二是上游供应商和下游客户均为同一实际控制人控制,或上下游之间存在特定利益关系;三是贸易标的由对方实质控制;四是直接提供资金或通过结算票据、办理保理、增信支持等方式变相提供资金。

融资性贸易造成巨大损失的案例并不鲜见,如果在涉及“内外勾结”,国有资产将面临不可估量的损失。以安徽一省级国企,其开展贸易业务损失超50亿元!

2008年到 2014 年期间,广州益海作为中转仓储方,与和云南惠嘉进出口有限公司(简称“云南惠嘉”)签订《中转协议书》,负责储存安徽华文代理云南惠嘉进口的棕榈油

云南惠嘉负责人张利华通过向时任安徽华文董事长王民、时任安徽华文副总经理兼财务总监王小虎行贿,促使二人同意将约定的“先款后货”交易模式变更为“先货后款”此后。张利华违背与王民的约定,严重超出额度获取货权,同时使用伪造的《对账函》等多种手段掩盖储存在广州益海等仓储单位的棕榈油已被销售的事实。

2012年3月到 2014年12月底,云南惠嘉负责人张利华再次向时任安徽华文棕榈油业务员韩琦行贿,由韩琦配合云南惠嘉员工使用伪造的货权转让通知书取得货权,同时由云南惠嘉员工将盖有私刻广州益海等仓储单位印章的《对账函》提供给韩琦,由韩琦提供给安徽华文财务部门,使安徽华文账面上棕榈油数量与《对账函》上仓储数量一致

最终,云南惠嘉先行提走货物后,未足额向安徽华文支付款项,造成安徽华文直接经济损失 32.3 亿元,间接损失 20.15 亿元,其中因广州益海、柳德刚配合实施犯罪造成安徽华文直接经济损失18.81亿元,间接损失11.67亿元。

广州益海否认了起诉书对其单位犯罪的指控,其直指安徽华文与云南惠嘉之间的交易实质是融资性的贸易行为,同时广州益海认为安徽华文对交易模式“款货先后”模式的变更事先早已明知并与云南惠嘉达成了合意。与此同时,广州益海认为:其始终严格按照合同约定实施中转货物出库或货权转让;广州益海与云南惠嘉之间的棕榈油买卖价格均是正常的市场价格;广州益海对于云南惠嘉与安徽华文之间的交易结算情况并不知情。

广州益海同时也不认同《起诉书》所述损失与广州益海的行为具有因果关系。

注意到,安徽华文股权结构多元,但主要股东及实际控制人为安徽省国企-安徽出版集团。而给安徽华文造成重大损失的云南惠嘉,成立于2000年4月,目前由云南惠嘉集团和自然人张利华、吴淑珍持有全部股份,进一步穿透来看,云南惠嘉集团亦由张利华、吴淑珍持股。

云南惠嘉集团一度曾是国内较大的棕榈油供应链服务商,2014年云南惠嘉集团进口棕榈油约100万吨,占当时国内进口量的20%左右,2014年,云南惠嘉营业收入总额也曾高达166.78亿元,至2015年,云南嘉惠还位列中国民营外贸企业500强榜单第54名。

据悉因彼时棕榈油国内外价格长期倒挂等原因造成了其资金链的紧张。根据中国执行信息公开网披露的信息,2016至2020年,涉及云南惠嘉的执行案号多达57个,累计执行标的金额超30亿元,申请执行人包括中国农业发展银行安宁市支行、中国农业银行股份有限公司昆明官渡区支行等大型银行当地支行。

我们注意到,目前还有部分国企在不具备专业能力的前提下,盲目拓展品类,开展大宗贸易业务,甚至以贸易为名将商事行为异化为金融行为的同时,忽略对操作风险、道德风险、交易对手风险的排查,为该类业务埋下了较大隐患。在此,小供也建议,所有供应链国企,好好研读“74号文”,对照十不准,启动合规和风控运营体系建设。

其他说明

• 本微信文章中的信息仅供一般参考之用,不可视为详尽说明,亦不构成盈科保理与供应链金融律师团队的法律或其他专业建议或服务。盈科保理与供应链金融律师团队不对任何主体因使用本文内容而导致的任何损失承担责任。

• 本账号原创文章转载请联系“盈科保理酱”

• 本文仅作保理与供应链金融相关交流探讨,版权归作者所有,不代表本平台立场,如涉及版权问题,请联系“保理法律研究”,账号将第一时间处理。

滑动查看“保理与供应链金融研究”原创文章 

加载中...