新浪财经

龙虎榜 | 华数传媒今日涨1.18%,知名游资赵老哥买入2849.08万元

界面新闻

关注

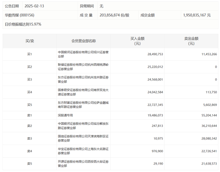
华数传媒今日涨1.18%,龙虎榜数据显示,上榜营业部席位全天成交3.27亿元,占当日总成交金额比例为16.75%。其中,买入金额为1.46亿元,卖出金额为1.81亿元,合计净卖出3523.05万元。

具体来看,知名游资现身龙虎榜,赵老哥(中国银河证券绍兴证券营业部)、联储证券杭州西湖桃源岭证券营业部分别买入2849.08万元、2522.00万元;深股通专用、中国银河证券临汾解放东路证券营业部分别卖出5520.41万元、3621.06万元。

加载中...