新浪财经

新增融资超50亿元,无锡这家超级独角兽凭什么

腾讯美股

关注

近日,盛合晶微半导体(江阴)有限公司(下称“盛合晶微”) 宣布,面向耐心资本的7亿美元(约51.3亿元)定向融资已交割。从披露的信息来看,无锡和上海两地国资的引入成为本次融资的一大亮点。

盛合晶微出身不凡,由中芯国际长电科技两大巨头联合孵化于无锡江阴,是中国大陆第一家致力于12英寸中段凸块和硅片级先进封装的企业,也是目前大陆唯一规模量产硅基2.5D芯粒加工的企业。成立至今,盛合晶微已完成至少13.4亿美元的融资,估值130亿元。

值得一提的是,2023年6月,盛合晶微在江苏证监局进行辅导备案登记,计划首次公开发行股票并在科创板上市。

超50亿元投向先进封装

据悉,本次盛合晶微一举融资超50亿元,将助力公司正在推进的超高密度三维多芯片互联集成加工项目建设。据盛合晶微此前报道,该项目已于2024年5月在无锡市江阴高新区正式开工。

盛合晶微董事长兼首席执行官崔东表示,本次增资是在公司推进上市过程中快速完成的,有针对性地引入坚定看好和愿意长期支持公司发展的耐心资本和产业资本,藉以改善和优化公司股权治理结构。

从盛合晶微披露的信息来看,新增投资人包括无锡产发科创基金、江阴滨江澄源投资集团、上海国投孚腾资本、上海国际集团、上海临港新片区管委会新芯基金及临港集团数科基金,以及社保基金中关村自主创新基金、国寿股权投资、Golden Link等。

不难发现,本次投资方主要为无锡和上海两地国资。其中,无锡产发科创基金,由江阴新国联创业投资有限公司、无锡产业发展集团有限公司共同出资;江阴滨江澄源投资集团,穿透下来背后则是江阴市国资委。

实际上,盛合晶微也与无锡、上海两地关系密切。官网显示,公司总部位于无锡市江阴高新技术产业开发区,同时在上海和美国硅谷也设有分支机构。

谈到这次融资,崔东表示,“引入无锡市和上海市两地国资投资,为公司长期发展注入新动能,也有利于公司与产业链生态的紧密协作。”

含着“金汤匙”出生

盛合晶微原名中芯长电半导体有限公司,于2014年由中芯国际和长电科技联合创立,落户江阴高新技术产业开发区。

中芯国际是国内领先的集成电路晶圆代工企业,2020年7月一经登陆科创板,就创下了当时科创板最大IPO记录;长电科技则是国内著名的三极管制造商、江苏集成电路封装测试龙头企业,目前是世界第三、中国大陆第一的封测厂商。值得一提的是,长电科技前身为江阴晶体管厂,正是成长于江阴的代表性企业。

强强联手下,中芯长电发展势头强劲。2016年初就实现了28纳米硅片凸块加工的量产,且具备能力为美国高通公司提供14纳米硅片凸块量产加工,成为了中国大陆第一家进入14纳米先进工艺技术节点产业链并实现量产的半导体公司。

2021年4月,中芯国际受“实体名单”影响,以3.97亿美元总交易对价主动剥离中芯长电业务,中芯长电正式更名为盛合晶微。

官网显示,盛合晶微目前已推出3倍光罩尺寸TSV硅通孔载板技术,标志着其芯片互联先进封装技术迈入亚微米时代。随着新一轮50亿融资交割,盛合晶微正成为无锡乃至中国半导体行业的一张名片。

据全球知名调查机构CIC灼识咨询数据显示,盛合晶微的12英寸中段凸块Bumping加工产能第一,12英寸WLCSP市场占有率第一,独立CP晶圆测试收入规模第一。盛合晶微也是国内目前唯一一家实现了大规模量产硅基2.5D芯粒的企业。

对于选择江阴的原因,彼时任中芯国际首席执行官兼执行董事邱慈云表示,江阴地处苏锡常“金三角”的几何中心, 距离上海中芯国际只有180公里,交通便利。同时,战略合作伙伴长电科技立足江阴,合资公司可以依托长电已有的制造基地和健全的配套设施,使中段和后段实现紧邻建设,从而占据地缘优势、缩短物流时间,为客户提供一站式服务。

融资总额超10亿美元

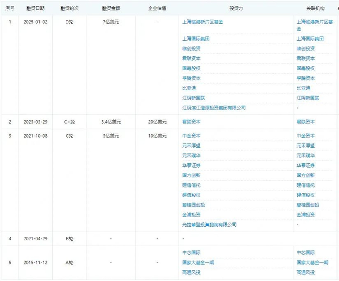
资料显示,盛合晶微成立10年以来获得了5轮融资。

公司分别于2015年11月和2021年4月拿到了A轮和B轮融资,这两轮融资均未透露具体的融资金额,中芯国际也参与其中。

2021年10月,公司拿到了3亿美元的C轮融资,中金资本、华泰证券、碧桂园创投等10家机构联合投资。彼时,盛合晶微投后估值超10亿美元,一家独角兽企业也由此诞生。

2022年3月,盛合晶微宣布C轮3亿美元融资已全部顺利交割完成。

时隔一年,盛合晶微再次拿到C+轮融资,融资金额为3.4亿美元,投后估值高达20亿美元,一年半的时间估值完成翻倍。2024年4月9日,盛合晶微以130亿人民币的企业估值入选“胡润全球独角兽榜”。

今年1月2日,公司又拿到了7亿美元的D轮融资,公司此次未透露公司的投后估值。

值得一提的是,早在2023年6月,证监会披露了中金公司关于盛合晶微首次公开发行股票并上市辅导备案报告。根据报告信息,盛合晶微拟在科创板上市。

目前,盛合晶微的法定代表人、董事长兼总经理都是崔东。2011年9月,崔东加入中芯国际任副总经理,2012年6月升任资深副总裁,并于2013年3月起,负责投资及战略业务发展。

太湖之滨 “芯”潮澎湃

在中国集成电路产业的发展历程中,无锡是座绕不过去的城市。1986年,中国第一块6英寸集成电路就诞生于无锡华晶集团(原742厂)。产业发展早期,几乎全国的微电子集成电路人才都源自无锡,无锡也因此被誉为中国集成电路产业人才的“黄埔军校”。

数据显示,2023年,无锡集成电路规上产业产值达到2400亿,稳居江苏第一、全国第二;设计、制造、封测“核心三业”规模约占全省1/2、全国1/8,分居全国城市第五位、第三位、第一位,成为全国发展的“重要一极”。

无锡还是全国唯一拥有集成电路全产业链的地级市,从原材料到设计、制造、封测环环相扣,集聚企业近千家。

设计环节,无锡坐拥卓胜微、中科芯、汤谷智能等一大批掌握核心技术的头部公司;制造环节,全省10大晶圆制造企业有7家都在无锡,包括SK海力士、华润微电子、华虹半导体、海辰半导体、江阴新顺、中微晶圆和东晨电子;封测环节,全省10大企业有4家在无锡,包括长电科技、全讯射频、海太半导体和盛合晶微,其中长电科技高居内地第一、全球第三。

如今,无锡正推动集成电路产业向人工智能、汽车芯片等具有更高价值的产业方向倾斜,重点布局“两圈两链”。

越来越多企业的聚集,使得无锡成为众多投资人的打卡地。据《无锡日报》,2021年至2024年11月,无锡新增在中基协备案的股权投资基金已超3500亿元;全市私募基金管理人140家,注册基金总规模约6000亿元。不仅有锡创投等本土创投机构,还有红杉中国、高瓴、毅达资本、中车基金、前海基金、一村资本、彬复资本等知名VC/PE被吸引而来。

去年6月,总规模500亿元的江苏省战略性新兴产业母基金启动运行。其中,江苏省集成电路(无锡)产业专项母基金、江苏省生物医药(无锡)产业专项母基金以及无锡未来产业天使基金三只基金落地无锡。前不久,锡创投公布集成电路战新产业母基金将出资首批子基金。

据悉,该产业专项母基金存续期15年,以耐心资本支持江苏省“1650”产业体系、“51010”战略性新兴产业集群及《打造具有全球影响力的产业科技创新中心行动方案》明确的13个新兴产业领域中的集成电路产业,坚持“投早、投小、投科技”,推动产业链强链补链延链。

加载中...