新浪财经

新网银行:股东股权频遭冻结与拍卖

市场资讯 2025.01.09 16:34

  来源:证券之星

作为中国互联网金融行业的创新者之一,新网银行自成立以来便凭借其背后的强大股东资源和创新型金融产品获得市场关注。然而,近年来,该行却陷入了业绩下滑、股权遭拍卖等一系列问题的漩涡。

证券之星注意到,尽管新网银行资产总额早已突破千亿大关,但近些年盈利能力下滑,不良贷款率持续波动,资本充足率也有所下降。与此同时,部分股东的股权遭到冻结与拍卖,使得新网银行的资本结构稳定性面临严峻挑战。

01. 业绩下滑、不良贷款率上升

公开资料显示,自2016年成立以来,新网银行便与新希望集团、小米红旗连锁等知名企业建立了合作关系,并凭借这些优势迅速扩张。然而,近年来其业绩表现却出现明显的下滑趋势。

证券之星注意到,由于红旗连锁参股新网银行,因此在2024年半年报披露期间,后者的业绩情况也随之被披露。

数据显示,2024上半年,新网银行实现营业收入29.88亿元,同比增长27.15%,但实现净利润3.99亿元,同比下降6.56%。截至2024年6月底,新网银行的总资产为1049.19亿元,同比增速为4.18%,较2023年度的21.36%下降明显。

在资产质量方面,新网银行不良贷款率逐年攀升。从2017年的0.11%到2022年的1.73%,特别是在2022年的不良贷款率更是达到1.73%,创下了该行成立以来的最高水平。虽然在在2023年回落至1.71%‌,但依然处于相对较高位置。

新网银行的不良贷款率上升,不仅体现了其在风险控制方面的不足,也反映出其主要面向的低风险群体——小微企业主与个体工商户所承受的经营压力。在过去几年中,随着宏观经济的波动,这部分群体的违约风险加大,致使新网银行在贷款回收方面面临越来越大的挑战。

与此同时,资本充足率的下滑更为新网银行的财务健康状况蒙上了阴影。根据其年报显示,核心一级资本充足率与资本充足率在2022年分别下降至11.17%和12.28%,连续两年出现下滑。这一数字不仅低于监管要求的最低标准,也暴露出新网银行在资本补充和风险控制方面的短板。

02. 股东股权冻结下的资本困境

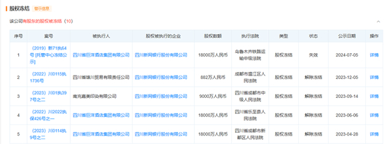
民营银行背后的股权关系历来受到市场高度关注,新网银行的股东结构近年来也屡现动荡,几笔股权冻结和拍卖的事件引发了外界对其资本稳定性的疑虑。

证券之星注意到,早在2023年,嘉美印染公司所持新网银行9000万元股权被法院冻结,并最终以1.93亿元的价格被拍卖。与此同时,新网银行的其他股东股权也面临类似问题。巨洋集团所持1.8亿元股权自2021年起被冻结,且该股权曾两度在司法拍卖平台上流拍。另有股东四川雄川贸易的3%股权也于2023年被拍卖,并被成都建国汽车贸易有限公司收购。

天眼查显示,该公司子2021年起陆续发生过10次股权冻结,最近的一次公示日期是2024年7月5日,四川省巨洋酒店集团有限公司旗下持有的新网银行1.8亿元股权数额被冻结。

股权被冻结与拍卖的事件,暴露出新网银行股东结构的脆弱性,也显示出部分股东在资本流动和资产处置方面的困难。这一局面使得新网银行的股权稳定性和未来资本补充面临巨大压力。

值得注意的是,股东股权的频繁变动可能会导致管理层对银行战略的调整不够稳定,从而影响银行的运营效率与风险控制。

此外,新网银行的资本充足率逐年下降,且不良贷款率不断上升,进一步加剧了外界对其资金链断裂的担忧。在资本市场不确定性加剧的背景下,新网银行若未能有效解决股东结构不稳定、资本不足等问题,其发展前景或将面临更大的压力。

加载中...