PE/VC周报 | 2025开年披露97亿元战略融资
财汇数据
2025年1月第1周国内共有16个知名资本品牌投资国内27个项目,其中有已披露投资金额的项目最高逾7亿美元。本期高瓴资本、小米科技、君联资本等均有参投项目。
融资大事件
1
IPO
本期国内有4家企业IPO待上市,总融资额50.77亿人民币。数量环比上期增加,总融资额也大幅增加。本期上市板块分别为:沪市主板、深市主板、北交所、创业板各1家。
图源 | 企业预警通(https://www.qyyjt.cn)
2
创投融资
本期PE/VC市场共计151个项目完成新一轮募资,环比增加7%;目前已披露募资金额项目75个,共涉及总金额超394亿人民币,环比增加;单笔投资金额最高达97亿元人民币。
本期融资项目TOP3
1.金川镍钴完成97亿元战略融资
2025年1月1日消息,金川镍钴(金川集团镍钴股份有限公司)完成97亿元战略融资,投资方为紫金矿业、中国华融、中国五矿。金川镍钴是镍钴金属生产商。
2.皖芯集成完成95.5亿元新一轮融资
2025年1月1日消息,皖芯集成(合肥皖芯集成电路有限公司)完成95.5亿元新一轮融资,本轮融资由晶合集成领投,农银投资、工融金投等外部投资者共同投资,企业估值为96亿元。皖芯集成是一家以从事计算机、通信和其他电子设备制造业为主的企业。
3.盛合晶微获得7亿美元D轮融资
2025年1月2日消息,盛合晶微(盛合晶微半导体(江阴)有限公司)获得7亿美元D轮融资,投资方为上海临港新片区基金、上海国际集团、临创投资、君联资本、国寿股权、孚腾资本、比亚迪、江阴新国联、江阴滨江澄源投资。盛合晶微是一家集成电路前段芯片制造制造商。
本期市场披露融资的项目主要集中在A轮,还包括A轮、A+轮、A++轮、Pre-A轮、Pre-A+轮项目占比39%。本期项目融资轮次分布如下:
本期已披露融资金额的项目中,主赛道制造业和医疗健康的融资企业最多,分别有20个和18个项目,另外硬件赛道的企业累计融资金额最高,披露超162亿。其他赛道企业披露融资额分布如下:
私募基金管理人
1
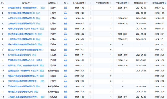
私募基金管理人
截至目前私募基金管理人20409家,本期在协会注销24家,大部分为主动注销。另外新增18家最新提交登记办理私募基金管理人。
图源 | 企业预警通(https://www.qyyjt.cn)
2
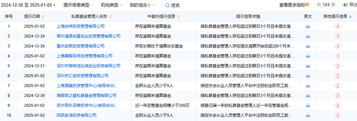
中基协提示信息
据中国证券投资基金业协会披露统计,本期新增104条私募基金管理人提示信息,环比上期数量减少17%。其中单家提示信息超过2条的私募基金管理人有10家,列表一览:
图源 | 企业预警通(https://www.qyyjt.cn)
3
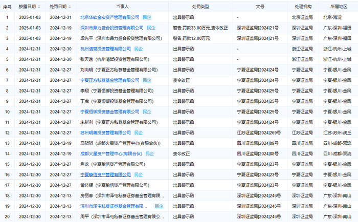
监管处罚
据监管发布的处罚信息统计,本期新增32条私募基金管理人监管处罚,其中各地证监局开出处罚有20条,其他主要由协会做出处罚,详情如下:
完整数据查询 :企业预警通(https://www.qyyjt.cn)