新浪财经

2024年度ABS机构排名发布

财汇数据

关注

2024年发行逐月来看,ABS发行规模逐渐增加,从年初1000亿以下,增至12月的发行超2400亿。

数据持续更新,具体以企业预警通实时数据为准 

二、ABS存量规模统计

选最新   

截至12月31日,2024年度ABS存量规模约3.3万亿元,同比去年减少约2.3%,存量持续下降,且较去年降幅扩大

从存量统计数据来看,存量最多的应收账款余额在6000亿以下,较去年有所减少2024年占比仍接近20%;另外租赁租金ABS数量有473只占比达12.35%,维持去年较大占比(以下显示余额千亿以上的基础资产情况,完整数据可在企业预警通网页版或APP【ABS专题】查看)

三、信贷ABS统计

2024年信贷ABS共计发行192只产品,同比去年减少4%,维持近几年较高水平。

从基础资产类型来看,汽车贷款类发行总额仍最高,累计总额1296.68亿元,同比减少;其次是企业贷款类,项目发行总额达655.21亿元;个人住房抵押贷款类发行264.06亿元,以上3类发行规模依次列前三,而消费性贷款类发行减少至260.76亿元,另外还发行信用卡贷款类、个人经营不良贷款类、不良小微企业贷款类。

信贷ABS发起人TOP榜

信贷ABS发行人TOP榜

四、企业ABS统计

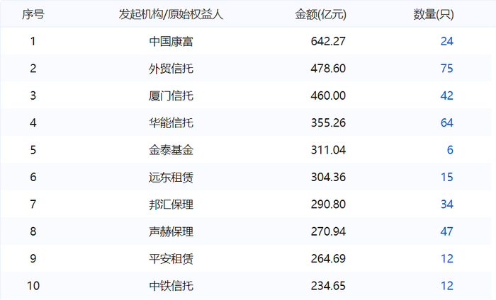
2024年共有31类企业ABS发行,较上年度类型增加,总发行规模超万亿元。类型分别为应收账款、租赁租金、信托贷款债权,发行总额依次为2225.74亿元、2145.10亿元、1321.47亿元,前三与上年一样。综合来看,前四类资产总规模均超1000亿元。

企业ABS原始权益人TOP榜

企业ABS计划管理人TOP榜

五、ABN统计

2024年主要有15类ABN发行,排名前三的基础资产较上年度略有变化,分别是应收账款、小额贷款、消费性贷款,发行总额依次为1640.90亿元、819.5亿元、818亿元。

ABN发起人TOP榜

ABN发行人TOP榜

六、主承销商统计

企业预警通根据2024年全市场ABS总承销金额获得的主承销商前20排名。如下详情:

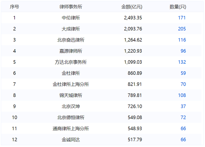
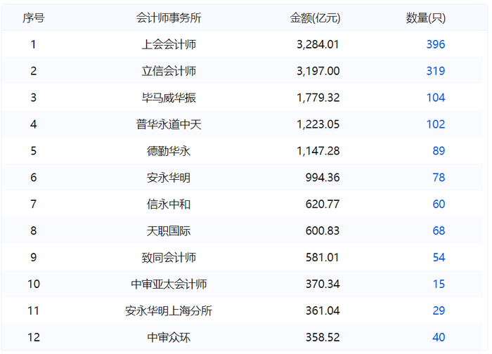
七、中介机构统计

从中介机构来看,2024年ABS市场主要集中在10大评级机构,另外还有律师事务所,会计事务所最新数据,以下为具体情况:

评级机构TOP榜

律师事务所TOP榜

会计事务所TOP榜

如何查询ABS专题数据?

数据说明:以上数据由企业预警整理所得,由于部分ABS项目数据未完全公开,统计金额可能会小于实际发生金额。本次统计数据截至2024年12月31日,仅供参考。最新数据以市场公开披露为准,如有数据疑问可在公众号后台或企业预警通后台反馈。

加载中...