赵薇突然发声:已离婚
转自:上观新闻
28日13时56分,知名演员赵薇在微博发文:
“我多年前已正式与黄先生离婚,我们的婚姻关系在法律上早已解除。”
赵薇表示,任何关于黄先生的事件、言论或新闻报道都与自己无关。恳请各方承认这些事实,避免将其卷入虚假的关联或无根据的报道。
据悉,赵薇和黄有龙于2008年结婚。而近日有媒体报道称,黄有龙再次被卷入追债风波。
赵薇和黄有龙让A股股民所熟知的,是其在万家文化(现“祥源文旅”)上的操作。彼时,赵薇、黄有龙等欲超50倍的杠杆收购万家文化,引发市场关注,后被证监会处以罚款和市场禁入措施。详见上证报2018年稿件《赵薇夫妇等影响“市场三公” 证监会驳回申辩顶格处罚》。
回溯案情可知,2016年12月27日,万家文化公告控股权转让事项,赵薇夫妇控制的龙薇传媒拟斥资30.6亿元,收购万家文化29.135%股权,成为上市公司控股股东。
然而,这一吸睛方案却未能实施完成。龙薇传媒先是披露大部分收购资金将依靠借款(向银必信借款15亿元,向金融机构质押融资剩余的14.999亿元);后又降低股权收购比例至5.0396%,不触及控制权变更;再后来,双方协商终止了该交易。
证监会披露的资料显示,赵薇夫妇控制的龙薇传媒其实一开始就没有准备好资金,期间的信息披露更是弄虚作假,拒不说明实情。
例如,该收购共需30.6亿元,可龙薇传媒自有资金仅6000万元,剩余资金均为借入,杠杆比例达50倍以上。同时,龙薇传媒2016年11月2日才成立,仅是个无实际运营的空壳公司。在自身实力不足的情况下,贸然公布收购信息,叠加名人效应,致使万家文化股价大幅波动,严重扰乱了正常的市场秩序。
拟向银必信借款15亿元的表述同样不实。据查,龙薇传媒与中信银行杭州分行约定的上报审批最高额度为30亿元,且后续款项能否发放取决于万家文化的股价表现。而黄有龙一开始就打算,如果该笔款项获批,将置换银必信的15亿元借款,即约30亿元资金实际全部来自银行。
对于向金融机构的融资情况,龙薇传媒也始终藏着掖着。2017年1月12日,其称,金融机构将于月底前完成审批流程。可到了月底,却并没有披露“未与任何金融机构达成融资合作”的消息。另外,2017年2月16日,龙薇传媒称,无法按期完成融资计划是由于“金融机构融资审批失败”,而事实上,银必信也没有准备好足够资金,无法按时借钱给龙薇传媒。
另外,在明确表示“将积极与万家集团进行沟通以使本次交易顺利完成,同时继续寻求其他金融机构股票质押融资”后,龙薇传媒并没有积极与万家集团沟通,也未再联系过其他金融机构。
2018年4月16日晚间,证监会公布了对万家文化(现名祥源文化)等的行政处罚决定书和相关人员市场禁入决定书,驳回了赵薇夫妇、龙薇传媒、万家文化及相关当事人的申辩,最终决定:对黄有龙、赵薇、孔德永分别予以5年证券市场禁入;对万家文化、龙薇传媒责令改正,给予警告,并分别处以60万元罚款;对孔德永、黄有龙、赵薇、赵政给予警告,并分别处以30万元罚款。至此,“赵薇夫妇拟入主万家文化案”尘埃落定。
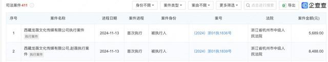
企查查显示,近日,赵薇持股95%的西藏龙薇文化传媒有限公司新增两则被执行人信息,执行标的分别为5689元和8488元,时间为2024年11月13日,执行法院为浙江省杭州市中级人民法院。
而赵薇目前担任法定代表人的三家公司中,目前仅一家处于存续状态,其余两家已吊销或注销。