巨量股权拍卖!中原银行盈利下滑、内控不足、董秘无资本市场背景
市场投研资讯
(来源:机构之家)
阿里拍卖平台显示,超十位股东,正大量拍卖中原银行股权,或创有史以来最大规模。
图:阿里拍卖平台上数位股东正拍卖中原银行股权
具体来看,开封市兰尉高速公路发展公司等10家公司持有的中原银行11.06亿股股权将于2025年1月22日在该平台公开拍卖,合计起拍价超过7.4亿元。以该行总股本计算,股权合计占比超过3%。这部分股权均由前述公司原持有的平顶山银行和洛阳银行股权折股而来。2022年,中原银行吸收合并三家城商行,中原银行以284.7亿元价格收购其股东持有的所有股份,以发行股份的方式进行支付。此外,拍卖网站还显示,一家河南公司共计6741.36万股股权计划于明年1月5日拍卖,起始价格为5445.36万元。
机构之家注意到,今年以来,中原银行已有20多笔大额股权登上阿里拍卖平台,但成功者寥寥。拍卖的原因多样,包括金融借款合同纠纷案、股东债务问题等等。例如,去年11月,近2.77亿股股份登上了阿里司法拍卖平台,这些股份的拍卖涉及到了多起案件和被执行人,包括河南兴达投资公司持有的股份、郑州康桥房地产开发公司持有的股份等。起拍价约3.49亿元,最终因无人出价而流拍。今年11月,中原银行2607万股股份在北京产权交易所挂牌转让,占该行总股本的0.082%,转让底价为1.13亿元。持有人为三门峡润业电力服务公司。但截至目前,尚未有明确的意向受让方出现,股权转让的前景依然不明朗。
股权分散,过往多风险股东出现
中原银行成立于2014年12月,总部位于河南省郑州市。2022年5月,中原银行历经重大合并重组,其获得银保监会批准吸收合并洛阳银行、平顶山银行及焦作中旅银行。这次合并使中原银行的资产规模从7682亿就快速扩张到12673亿,几乎翻倍,成为河南首家突破万亿资产规模的省级城商行。
图:截止2024年上半年末中原银行股东情况
中原银行股权结构比较分散。截止今年上半年末,该行的主要股东包括河南投资集团公司(持股比例6.69%)、洛阳市财政局(持股比例3.73%)、中国旅游集团公司(持股比例2.90%)、Piramid Park Co., Ltd(持股比例2.74%),中原信托公司(持股比例2.16%)等。其余股东持股比例均不超过2%。
在如此分散的股权结构中,风险股东常出现在中原银行股权变动史中。例如,2023年中原银行非境外上市内资股前十大股东中,第六大和第七大股东郑州康桥房地产、河南光彩集团均已被法院列为被执行人,光彩集团还曾经在2022年和2023年申请破产重整。上述两家股东均已减持了大量股份。曾经大股东河南盛润集团,债务危机之下其所持有的中原银行股份已经被申请强制执行。
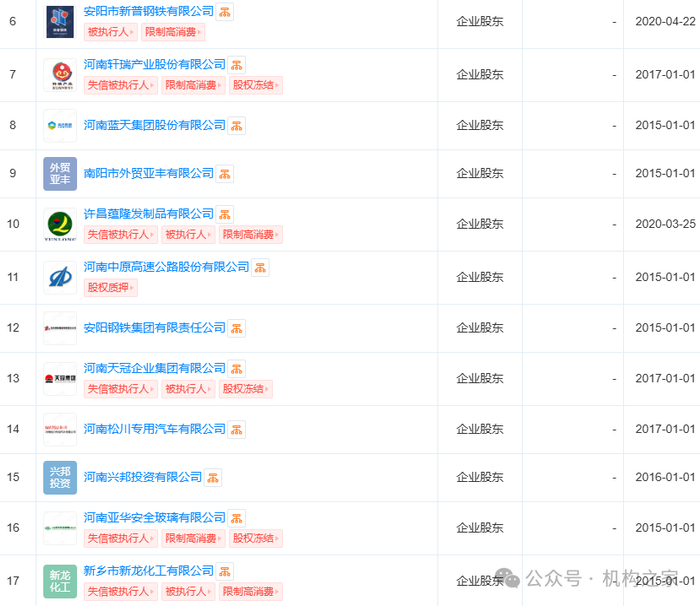
图:天眼查显示历史股东情况
根据天眼查网站显示中原银行历史股东信息里,也能看到各类风险股东,且多为河南当地公司,基本被标注为“失信被执行人”、“被执行人”、“限制高消费”、“股权冻结”。
盈利能力持续下降
除了股权分散、风险股东常现之外,该行的盈利能力也是不断下降。
图:中原银行主要经营数据情况
资料来源:wind
考虑到该行历经合并原因,前后业绩不具体完全可比性。故优先用每股收益指标来衡量。数据显示,2022年,该行每股收益EPS为0.10元/股,同比下降33.3%;到了2023年,EPS水平进一步下降30%至0.07元/股。
从拨备前利润表现来看,2021年和2023年分别为下降0.5%和上升0.1%至122.4亿、155.2亿。直到今年上半年,同比增4.8%至96.7亿。净利润方面,2023年,该行净利润同比下降11.8%至32.2亿,部分原因可能是因合并之后还有部分坏账需要核销以及补提拨备等。今年上半年有所恢复,同比增2.4%至20.5亿。收入方面,中原银行合并前后缓慢增长。其中2021年该行营业收入193.6亿,同比下降0.1%;2023年同比增1.9%至263亿。今年上半年来看该收入同比增3.3%至139.9亿。
资产质量在近几年呈现一定的波动。中原银行2023年不良率环比提升11BP至2.04%,今年上半年末进一步上升至2.08%。关注率和逾期率不仅处于高位,且上升更快。截止今年上半年末,关注率为3.08%,已较2022年提升48BP,同期逾期率则提升至24BP至3.83%。同时,中原银行在坏账风险抬升的背景下不断增提拨备水平,其中贷款拨备率从2022年的3.03%,提升至3.15%,并进一步提升至今年上半年末的3.23%。终于在今年开始扭转了下滑的拨备覆盖率水平:今年上半年末该行拨备覆盖率为160%,已经较年初回升6个百分点。
管理层上任但内控问题频频暴露
中原银行在管理层稳定性方面确有不足。例如,据统计,2023年中原银行管理层人员变动数量高达19人,其中董事会成员变动8人,监事会成员变动9人,高管成员变动2人。而在更早之前,不少高管纷纷落马。例如2023年2月,中原银行原副监事长贾继红涉嫌严重违纪违法,被纪律审查和监察调查。2022年4月,原副行长赵卫华因涉嫌严重违纪违法,被监察调查和纪律审查;2022年6月,该行原董事长窦荣兴因违法发放贷款罪、受贿罪被“双开”;同月,该行副董事长魏杰涉嫌严重违纪违法,被河南省纪委监委纪律审查和监察调查。
2023年6月,郭浩接任中原银行董事长,刘凯升任行长。郭浩具有金融从业经历与政府监管经验,出生于1974年6月,经济学博士,历任第十三届、十四届全国人大代表。行长刘凯曾在央行河南省分行及郑州中心支行工作,后加入中原银行,历任副行长等职务。
不过,新任管理层上台后,并未改善该行管理和内控问题。
2024年,中原银行内控管理方面的缺陷频频暴露,因信贷违规、内控管理不到位收到多罚单。据不完全统计,中原银行及分支机构共计收到超10张罚单,合计罚款金额超1000万元。其中百万罚单也是家常便饭。例如,2024年1月3日,中原银行新乡分行因项目贷款资本金审查不到位、未按工程进度发放固定资产贷款等多项事由被国家金融监督管理总局新乡监管分局罚款360万元。2024年1月4日,中原银行许昌分行因员工职务侵占该行信贷资金和骗取他人钱款、贷后管理流于形式以及员工异常交易监测排查处置不到位被国家金融监督管理总局许昌监管分局罚款150万元。
股价破发成仙股,两任董秘均无直接资本市场相关经验
中原银行自上市以来股价表现持续低迷,股价较发行价缩水超过85%,并多次创出历史新低
图:中原银行上市以来股价表现
具体来看,中原银行于2017年7月在港交所上市,发行价为2.45港元/股,上市首日收盘价为2.313港元/股,不过上市首日即遭遇破发。2019年6月份及9月份,中原银行先后经历了两次较为剧烈的下跌,股价从2港元/股以上彻底跌至1港元/股左右。2019年12月,中原银行股价报收0.99港元/股后,股价便一直在1港元/股徘徊缓慢下挫。2023年6月,股价再由0.6港元/股大幅下跌至0.365港元/股,当月跌幅就达到24%。此后股价仍难言企稳,仍在阴跌之中。截止12月20收盘,该行股价为0.295港元/股。
在股价持续下跌过程中,中原银行也迎来了董事会秘书的更替。在2023年10月,中原银行发布公告称,张克因工作调整辞任了董事会秘书、联席公司秘书及该行授权代表的职务。随后,潘文尧被聘任为新的董事会秘书,其任职资格在2023年12月获得了国家金融监督管理总局河南监管局的核准,任期自核准之日起至中原银行第三届董事会任期届满之日止。
机构之家梳理这两位董秘背景发现,两者缺乏直接资本市场相关经验,集中在银行业务营运及管理方面。事实上,董秘一职和股价表现息息相关,包括信息披露,和券商等中介机构交流,和投资者沟通,以及资本运作,引导市场预期等等。两者的履历能否完全匹配董秘的要求呢?
其中,前任董秘张克于2014年12月起加入中原银行,担任该行董事会秘书,时间长达9年。此前曾任任职于中国人民银行三门峡市中心支行会计财务科副主任科员、河南投资集团公司企业策划部业务经理、开封市商业银行会计财务部总经理、总会计师及董事,河南省部分城市商业银行改革重组工作领导小组办公室成员等职。
现任董秘潘文尧此前担任过珠海格力集团销售经理、中国银行郑州分行商城路支行分理处主任。并在中信银行工作历任多家分支行行业等职位。2017年6月至2023年1月,担任金融租赁工作组副组长,邦银金融租赁股份有限公司董事长。2023年1月至今,任中原银行党委办公室(董事会办公室)总经理。2023年12月,任中原银行董事会秘书。
图:中原银行研究报告展示
资料来源:wind
事实上,从公开渠道来看,中原银行更多交流体现为常规的业绩发布会,而平时的机构调研较少。截止目前,根据wind数据显示,中原银行也仅有两家券商在上市之初有研报覆盖。
考虑到中原银行港股股价暴跌且持续低迷,此次巨量规模的股权拍卖,或因价格原因最终仍然无人无津。从过往情况来看,该行频现风险股东,在分散的股权中更迭。此外,该行在合并事件之后,盈利能力仍在减弱。在历经高层变动之后,管理和内控问题频出。从该行的董秘来看,缺乏直接二级市场经验,同时该行股权长年未有研报覆盖缺乏机构投资者关注。