新浪财经

增资!华福证券抱上“大腿”了?

市场资讯 2024.12.20 21:43

47亿增资注入华福证券,17家股东“新变局”

为数不多的大型非上市券商中,base福州的华福证券以行业TOP20的人员规模引来关注。如今,这家老牌券商收获了包括4家原股东在内的17家股东合计47.57亿增资,将其注册资本由33亿元增至44.91亿元。

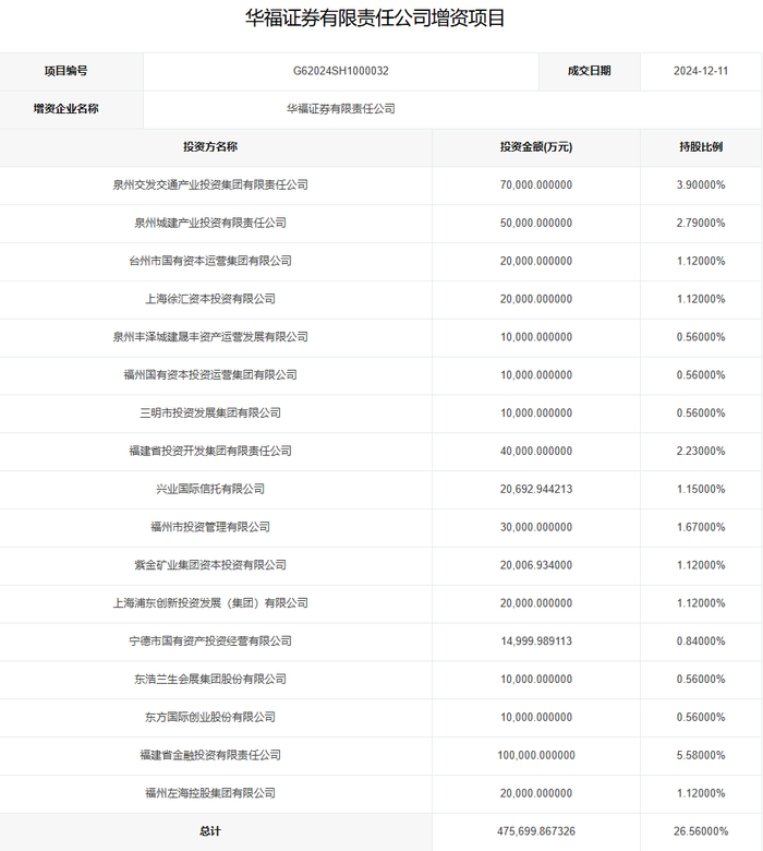
增资公告

正值双十二,上海联合产权交易所(简称:联交所)官网披露了一则增资成交公告,来自福州籍老牌券商华福证券有限责任公司(简称:华福证券)。

公告显示,华福证券增资项目于2024年12月11日成交,投资者共有17家。

四家原股东中,福建省金融投资有限责任公司(简称:福建金投)增资10亿元,福建省投资开发集团有限责任公司(简称:福建投资集团)增资4亿元,福州市投资管理有限公司(简称:福州投资)增资3亿元,兴业国际信托有限公司(简称:兴业信托)增资2.07亿元。

新增的13家股东中,泉州交发交通产业投资集团有限责任公司(简称:泉州交发)增资7亿元,泉州城建产业投资有限责任公司(已于2024年11月更名为泉州海丝产业投资集团有限公司,简称:泉州海丝产投)增资5亿元。紫金矿业集团资本投资有限公司(简称:紫金矿业资本)、台州市国有资本运营集团有限公司(简称:台州国资运营)、上海徐汇资本投资有限公司(简称:徐汇资本)、上海浦东创新投资发展(集团)有限公司(简称:浦东创新投资)和福州左海控股集团有限公司(简称:左海控股)增资2亿元。宁德市国有资产投资经营有限公司(简称:宁德国资投资)增资1.5亿元。泉州丰泽城建晟丰资产运营发展有限公司(简称:晟丰资产)、福州国有资本投资运营集团有限公司(简称:福州国资运营)、三明市投资发展集团有限公司(简称:三明投资发展)、东浩兰生会展集团股份有限公司(简称:兰生股份)和东方国际创业股份有限公司(简称:东方创业)各增资1亿元。

股权变动

作为发债机构,华福证券于12月12日发布《关于股权结构变化事项的公告》。

公告载明,本次增资前,公司注册资本为人民币33亿元,实缴出资33亿元。六家股东中,福建金投持股56%,福建投资集团持股33.71%,兴业信托持股4.35%,漳州片仔癀资产经营有限公司(简称:片仔癀资产)持股3.59%;福州投资持股1.35%,福建省华兴集团有限责任公司(简称:华兴集团)持股1%。

增资后,华福证券注册资本和实缴资本均增至人民币44.91亿元,即增加11.91亿元。由此可见,本次增资款项中的25.04%用于增加注册资本,其余资金记入资本公积。

行家注意到,华福证券官网发布于今年10月的股权结构图,以及今年10月的发债公告,披露的截至2024年上半年的股东信息显示,第四大股东漳州市国有资本运营集团有限公司(简称:漳州国资运营)持股3.59%。片仔癀资产何时成为华福证券股东,尚未见公开报道。

对照增资信息,福建财政厅全资控股的福建金投,持股比例下降至46.72%,仍为控股股东。福建国资委旗下的福建投资集团,持股比例下降至27.00%。兴业银行控股的兴业信托持股比例仍是4.35%。福建金投全资子公司福州投资持股比例增至2.66%。未参与增资的原股东片仔癀资产和华兴集团,持股比例分别稀释至2.64%和0.74%。

新晋股东中,泉州国资委旗下的泉州交发持股3.90%,泉州海丝产投持股2.79%,晟丰资产持股0.56%。台州国资委旗下的台州国资运营、徐汇国资委旗下的徐汇资本、浦东国资委旗下的浦东创新投资,福州国资委旗下的左海控股,以及上市公司紫金矿业旗下紫金矿业资本,持股比例均为1.12%。福州国资委旗下的福州国资运营,三明国资委旗下的三明投资发展,以及不久前官宣增资华福证券的两家上市公司——兰生股份(600826.SH)和东方国际(600278.SH),持股比例均为0.56%。

华福证券表示,本次增资将进一步充实公司资本、增强业务创新与抵御风险能力,公司将着力打造核心竞争力,持续提升金融服务实体质效。后续还需履行相关公司治理、变更登记及备案程序。

由于华福证券实控人为福建省人民政府,本次增资后福建省内国资的“话语权”将从90.71%降至74.46%;新增入股的泉州国资委,控制7.25%的股份,达成“举牌”成就。

业绩修复

多家国资股东的热捧,显示市场对华福证券的期许。后续或将启动传闻已久的IPO事项。

然而,从近年来的业绩来看,华福证券也出现了波折。

2021年,华福证券业绩达到历史高点:营业收入52.92亿元,同比增长34.64%;归母净利润19.18亿元,同比增长87.98%。据中证协统计,2021年华福证券营业收入和归母净利润分别排名行业第34、24位。

遗憾的是,2022年和2023年,营业收入和归母净利润的同比降幅均为两位数。2024年上半年,华福证券业绩出现起色:营业收入同比增长5.53%,为12.60亿元,相当于2023年全年的56.74%;归母净利润同比增长3.83%,为2.72亿元,相当于2023年全年的62.30%。主营业务来看,资管业务揽收4.00亿元,同比增幅达79.94%;自营业务、经纪业务和信用业务出现小幅下降;投行业务揽收0.48亿,同比下降62.75%。

重点业务

据此前的媒体报道,本次募集资金将主要用于增加资本金、补充营运资金,重点支持财富管理、投资银行、自营投资、资产管理、研究等重要业务突破发展。

在相应的人才储备方面,华福证券可以说是家底厚实。

目前,华福证券共有4,813名从业人员,其中一般证券业务3,181名,投资顾问1,055名,证券经纪人418名,证券分析师104名,保荐代表人37名。

行家翻查了中证协列示的147家券商,华福证券从业人员排名第20;巧合的是,分析师和投顾两大“专业岗位”,华福证券同样位于行业TOP20。

依托国资股东强势“补血”,同时发挥现有的人才优势,考验着华福证券的高管团队。

高管团队

自2023年初换帅以来,华福证券高管团队保持稳定:包括“一正三副”在内的主要高管,几乎都是原班人马。

因时任董事长黄金琳先生退休离任,2023年3月,苏军良先生正式出任掌门。

履历显示,苏军良生于1972年,拥有硕士学历、高级经济师资质。他自1992年起在兴业银行任职超过三十年,曾在福建泉州、山东潍坊、贵州贵阳、广西南宁等地的兴业银行分支机构工作,历任兴业银行南宁分行、福州分行、杭州分行党委书记、行长等职。

总裁黄德良,生于1973年,同样出身兴业银行,曾任重庆分行行长助理、重庆分行党委委员;在股东方兴业信托,曾任党委委员、副总裁。

为数不多的变动,行家也曾关注到:副总裁吴杰在2023年中悄然退出高管序列;2023年10月,由德邦证券跳槽而来的李宁,担任首席信息官;原CIO王俊兴转任总裁助理。

此外,原德邦证券研究所负责人任志强,在今年3月加盟华福证券,据称担任研究所所长。华福证券官网显示,目前他的头衔是“公司领导”。

(转自:伟海精英)

加载中...