新浪财经

震惊!一县农商行原董事长拥有4套帝都顶级豪宅,价值超2亿被拍卖

市场资讯 2024.12.10 18:03

河南伊川农村商业银行原董事长康凤利名下的7套房产和1辆奥迪车正在司法拍卖公示,将于2024年12月和2025年1月陆续开拍。

其中4套位于北京的顶级豪宅引发人们关注,伊川农商行一把手算是科级干部,在当地县城可以说呼风唤雨,在帝都这个级别真的毫不起眼。但是康凤利这4套豪宅,就是一般帝都的人,也是望尘莫及。

消息一公布,就像一颗重磅炸弹,让无数人惊掉了下巴。

第一套:万柳书院

第一套就是北京万柳书院的房子,面积达到464平方米,那评估价高达1.12亿元,起拍价都有7856.5万元。

万柳书院是2013年打造高端住宅产品,位于海淀区传统的高档社区腹地,地块周边知名高校学府云集,包括中关村三小、人大附中等稀缺教育资源。

能在万柳书院买得起房子的,非富即贵。

2023年,一个“万柳书院少爷”走红网络,起因是一位一米九的男高中生,在家里拍了一个胯下运球的简单视频,并且上传到了社交平台。虽然视频看似平平无奇,实则暗藏玄机,因为定位“万柳书院”注定了他身价不菲。

康凤利能拥有一套万柳书院的豪宅,估计靠工资是不够的了。

第二套:融创北京壹号院

北京壹号院号称“世界大宅的中国席位”,地处北京东三环CBD繁华区,紧邻农展馆53000㎡大湖,被燕莎、三里屯、国贸等商圈所环抱,拥有北京最为密集、高端的国际化配套设施。

园林的设计延续建筑与自然的美感,通过林荫大道、梦幻之园、艺术之园、幽谷之园、私家花园这五大主题分区实现了步移景异、动静相宜的居住体验。

康凤利的这套房子有350平方米,评估价4874.5万元,起拍价3412.1万元。这套房子在12月8日已经拍卖完毕,最终成交价4418.1万元。

第三套和第四套:泰禾北京院子

泰禾地产以开发豪宅而出名,北京院子是其代表作品之一。位于朝阳区孙河板块,属北京市第二道绿化隔离带和温榆河绿色生态走廊规划控制地区,环境优美,交通便利,自然生态环境得天独厚。

康凤利在北京院子的两套房子相邻,建筑面积都是327平方米,评估价均为3059.9万元,起拍价均为2141.9万元。

北京的这4套房子,评估价就超过2.2亿,说康凤利是北京“房爷”毫不为过。

除了北京的4套豪宅,康凤利还有三套房产位于洛阳市洛龙区,其中一套247平方米的四居室起拍价255.9万元;两套138平方米的三居室,起拍价均为93万元。位于洛阳的三套住宅均于2025年1月开拍。

伊川农商行为河南省开业的首家农商银行,康凤利是该行第一任董事长和法人代表,目前康凤利仍持有该行1.13%的股份。

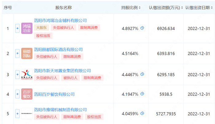
伊川农商行股权非常分散,最大的股东洛阳市鸿瑞冶金辅料有限公司也仅持股4.9%,而且前五大股东,已经有4个成了失信被执行人。

伊川农商行前五大股东

2019年10月底,康凤利在郑州市新郑机场被带走调查,此后,伊川农商行多名支行长被调查并判刑。

除了伊川农商行,康凤利还入股河南新蔡农商行、河南荥阳利丰村镇银行、新疆奇台利丰村镇银行、河北涞水利丰村镇银行等11家农商行或村镇银行。

康凤利持股的银行

康凤利此前除了担任伊川农商行董事长,还顶着一堆头衔,中原十大公益慈善人物、洛阳市博爱个人、中国金融领军人物、中国经济金融年度人物、中国经济十大新闻人物、中国百位最具社会责任银行家……

(转自:数局)

加载中...