新浪财经

浙江民泰商业银行1.2亿股权被拍卖 第六大股东破产成“老赖”

市场资讯 2024.11.21 11:45

来源:时代周报

浙江民泰商业银行股权近两年被频繁挂牌拍卖,背后涉及多起复杂法律诉讼。

时代周报记者发现,11月23日,浙江民泰商业银行12125.83万股股权及对应转增股将在阿里资产上被拍卖,此次股权拍卖的起拍价2.037亿元,保证金2000万元,拍品所有人为温岭市兴元房地产开发有限公司(以下简称“兴元房地产”)。

此次拍卖的股权为法人股,竞买人需要符合国家金融监督管理总局关于中资商业银行股权变更的相关要求,比如对于境内金融机构,要求最近3个会计年度连续盈利,最近2年无严重违法违规行为和因内部管理问题导致的重大案件,年终分配后、净资产达到全部资产的30%(合并会计报表口径),权益性投资余额原则上不超过净资产的50%(国务院规定的投资公司和控股公司除外)等等。

兴元房地产目前仍然是浙江民泰商业银行第六大股东,这已不是兴元房地产第一次拍卖浙江民泰商业银行股权。

兴元房地产共持有15125.83万股浙江民泰商业银行股权,持股比例为3.28%。在此次拍卖之前,兴元房地产也曾在阿里拍卖挂牌3000万股,评估价格为9000万元(即3元/股)。经历4次拍卖未果后,最终于2023年11月第五次拍卖成交了2,308.56万股,由浙江民泰商业银行第八大股东--温岭市居安建材贸易有限公司竞拍成功。成交价3878.38万元,相当于1.68元/股,在评估价格上打了5.6折。然而时代周报记者发现,据浙江民泰商业银行2023年报以及国家企业信用信息公示系统,该笔竞拍尚未进行股权变动登记。

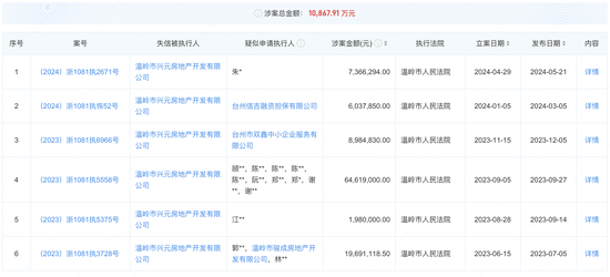
目前,兴元房地产及其法定代表人元秋桂、母公司兴元控股集团有限公司均显示为失信被执行人,未履行涉案总金额达10867.91万元。据时代周报记者获得的债权申报文书,兴元房地产已于今年1月26日起由浙江省温岭市人民法院裁定受理进入破产清算阶段。

在兴元房地产之前,温州市大金商贸发展有限公司也曾因破产清算将浙江民泰商业银行共计8186.59万股股权拍卖出售。除此之外,近年来浙江民泰商业银行股权多次被挂牌出售,单笔股权拍卖金额主要集中在数千万元,其中最高一笔拍卖金额达到3.206亿元,涉及浙江民泰商业银行10686.84万股股份,该笔股份持有人山东南丁格尔护理服务有限公司也是因为诉讼纠纷将浙江民泰商业银行股权冻结出售。

第六大股东成“老赖”,一波三折的拍卖

时代周报记者通过查询中国执行信息公开网发现,兴元房地产自2023年6月至2024年4月期间,因“有履行能力但拒不履行生效法律文书确定义务”曾多次被法院采取强制执行措施、并列为失信被执行人,目前显示仍未偿还的涉案总金额为10867.91万元。

这次并不是兴元房地产第一次拍卖浙江民泰商业银行股权。

据阿里拍卖,兴元房地产在2023年内曾5次拍卖浙江民泰商业银行股权。前三次拍卖的是3000万股股权,市价均为9000万元,第1次起拍价6300万元,相当于市价的7折,第2次起拍价降至5040万元,相当于打了5.6折,这两次拍卖均因无人出价显示流拍。第3次拍卖因案外人提出执行异议,经审查依法暂缓(中止)变卖程序。第4次以及第5次拍卖股权数量由3000万股降至2308.56万股股权,最终第5次拍卖被第八大股东:温岭市居安建材贸易以3878.39亿元的价格成交,成交日期为2023年11月20日。

然而,时代周报记者发现该笔竞拍尚未进行股权变动登记。浙江民泰商业银行2023年报显示,兴元房地产持股1.51亿股,持股比例3.2830%,位列第六大股东,而此次股权拍卖的买家温岭市居安建材贸易共持有浙江民泰商业银行1.39亿股,持股比例3.0069%,位列第八大股东;这两大股东持有的股数和持股比例与2022年报中显示并无区别,即2023年11月拍卖的2308.56万股股权并未显示在2023年度十大股东的股权变化中。与此同时,时代周报记者在国家企业信用信息公示系统中也并未查询到该笔股权变动登记。

多个股东因法律纠纷挂牌出售所持股份

另外,近年来与浙江民泰商业银行相关的股权拍卖数量和金额均居高不下。

2022年10月,山东南丁格尔护理服务有限公司(以下简称“山东南丁格尔”)曾挂牌出售浙江民泰商业银行10,686.84万股股份,起拍价3.206亿元并未折价,该笔拍卖共3063人围观,但最终因无人出价而流拍。

2023年10月,北京赛智科融投资管理有限公司在拍卖浙江民泰商业银行5754.20万股股权,最终成交价为6211万元,由上海毓晟实业有限公司拍得,按3元/股的市价计算,该笔成交价相当于直接打了3.6折。

据天眼查信息,这家山东南丁格尔在2015年至2018年期间曾成功完成从天使轮到B+轮的四轮融资,背后投资方包括绿科投资、赛泽资本、赛伯乐投资、杭州乐辰等。北京赛智科融投资管理有限公司是赛伯乐投资的全资子公司。

2019年之后,山东南丁格尔深陷多起法律纠纷,2022年7月,山东南丁格尔以及B轮投资人赛伯乐投资、及其子公司北京赛智科融投资管理有限公司被北京市第一中级人民法院共同列为被执行人,执行标的3.35亿元。山东南丁格尔和北京赛智科融投资管理有限公司都选择将持有的浙江民泰商业银行股份挂牌出售。

2024年内,温州市大金商贸发展有限公司因破产清算将浙江民泰商业银行共计8186.59万股股权分拆成四份拍卖,合计成交价约为1.375亿元,不过这四笔拍卖未显示竞拍人,按3元/股的市价计算,该笔成交价相当于打了5.6折。

对于浙江民泰商业银行股权被频繁挂牌出售背后的原因,博通咨询金融行业首席分析师王蓬博认为有三个方面导致,第一、部分股东可能因自身经营状况不佳、陷入破产清算等原因,不得不出售持有的银行股权以获取资金偿债;第二、民泰商业银行多数营收靠贷款利息差赚取费用,手续费及佣金收入、投资收益等占比小,这种业务模式在市场环境变化时可能面临较大挑战,使得投资者对其未来的盈利能力持谨慎态度;第三、民泰商业银行股权本身较为分散,小股东话语权较小也是主要原因之一。

王蓬博对时代周报记者表示:“股东的频繁变动可能会影响银行公司治理结构的稳定性。但考虑到占比较小,且民营银行股权分散,预计影响也不会很大。”

时代周报记者就股权拍卖相关问题多次致电浙江民泰商业银行,对方表示需通过内部审核流程后才可接受采访,截至发稿未得到进一步回复。

加载中...