新浪财经

“澳门COCO姐”月售250万元的虫草内裤,背后相关公司0人参保

市场资讯 2024.10.27 04:00

近日,自称“男装一姐”的“澳门COCO姐”火了。其直播间采用爱马仕配色的装潢、背景板站着的是外国男模般的助播人员,用礼盒包装卖出价格为个位数的低价商品。

也许是极大的反差感和极高的情绪价值推动,据公开数据,8.8元两条的虫草内裤、17块三条的人参内裤、9.9元的金色奥特曼手办等商品在“澳门COCO姐”直播间月销售额都超过了250万元。

飞瓜数据显示,10月16日19点到10月17日凌晨2点的一场直播,五分钟的讲解,8.8元两条的虫草内裤卖出了10-25万的销售额。

LOGO和品牌不统一

虫草成分“具有透气吸汗作用”

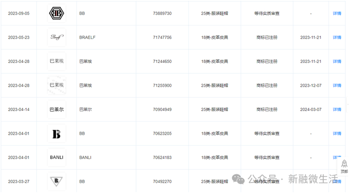
小编注意到,“澳门COCO姐”直播间的虫草内裤被称为“BB”品牌,内裤上有多个BB、BRAELF(巴莱尔)LOGO,与其售卖的男装属同一品牌。

10月24日,小编在视频平台搜索“虫草内裤”,看到店铺“COCO永利内裤3号店”(该店铺主理人为“澳门COCO姐”)在售卖与澳门COCO姐直播间几乎无差别的虫草内裤,该内裤在宣传页展示里也有很多BB、BRAELF(巴莱尔)的LOGO,但客服称其为“贵茨”品牌。小编咨询为何不是直播间所称的BB或BB BRAELF(巴莱尔)品牌,对方表示“没有”。

左图截自COCO永利内裤3号店的虫草内裤详情页,右图截自该商品的产品参数

评论区有不少消费者表示是从直播间来的。有消费者评价称“质量不用说真的没有路边摊的好,拆开后就是一股刺鼻的味道”,还有消费者评价称“这内裤没有一点棉,而且太薄!不要太相信直播间的夸大宣传”“虚假宣传100%棉”。

小编两次咨询该店客服是否为纯棉的,对方先是表示“纯棉”,后来又撤回了消息,表示是“纤维面料的”。据该内裤产品参数介绍,面料材质为95%的聚酯纤维和5%的氨纶。该商品在店铺中显示已售12.5万元,售价为99元两条。在“澳门COCO姐”直播间里该内裤售价为8.8元两条。

该内裤详情介绍页里表示是虫草内档,含虫草成分。据多家媒体视频报道,“澳门COCO姐”在介绍虫草内裤时表示“满满的虫草精华”。客服则称虫草成分“具有透气吸汗作用”。

客服提到的贵茨品牌,小编搜索发现,在电商平台上主要售卖磁石男士内裤,其产品涉及与包装风格与“澳门COCO姐”提到的BB品牌虫草内裤类似。

“澳门COCO姐”深度绑定的BB品牌

背后相关公司0人参保

小编注意到,在电商平台“香港贵茨服饰”店中,还售卖了带着“AEZA”LOGO的虫草内裤,而AEZA品牌与BB BRAELF品牌的官网为同一公司注册的网站,该公司名为广州一粒尘埃传媒有限公司。

天眼查数据显示,广州一粒尘埃传媒有限公司成立于2015年12月,注册地址在广州市白云区江高镇凤翔中路63号。该公司注册了包含BB、BRAELF、巴莱尔等一系列商标。2023年,该公司注册了26个商标,远超前几年商标注册数量,BB、BRAELF、巴莱尔等便是在2023年注册的。广州一粒尘埃传媒有限公司子公司广州纪元品牌设计有限公司则于2021年注册了“BB”服装鞋帽类商标。

值得注意的是,“澳门COCO姐”与BB品牌深度绑定。飞瓜数据显示,她的直播间BB品牌销售占比达67.85%,账号橱窗里也仅有BB品牌男装展示。

据天眼查,广州一粒尘埃传媒有限公司2023年年报显示,员工人数及参保人数均为0人,其子公司广州纪元文化投资有限公司还因定作合同纠纷成为了被执行人,执行金额为16.19万元。

最近的冷空气

大家都感受到了吗

出门不到一小时,体温急剧下降

没一会就手冷脚冷

夏天的冰丝衣物早早就收起来了

尤其是冰丝内裤,很多姐妹反应

现在穿简直就是“冻屁股”

后台留言,几乎都是在纯棉内裤

的确,纯棉内裤在颜值上

或许比不上性感勾人的蕾丝

但它足够【安全】~

就像大家默认婴儿衣物要纯棉

因为纯棉不掺杂其他多余的纤维

柔软舒适,亲肤不过敏

尤其是浅色的纯棉织物

更少的染色步骤,越自然越安全

更何况私处本身

微生物环境就比较复杂

每天12小时以上的贴身接触

内裤挑不好,不仅穿着不舒服

很容易引起细菌感染

为此,世界卫生组织还做了相关调查

调查研究表明:女性80%的妇科疾病

反复发作与内裤有关

因此,在内裤选择上尤为重要

我国很多妇科医生们也强烈推荐

大家选购:纯棉内裤

舒适、透气又有安全

我们也是经过各种比选

试穿、试验后,有进行好几轮的价格谈判

最终给大家选出了这条

 纯棉云朵内裤 

刚拿到手就很喜欢

这素雅的颜色,一看就是添加很少的染色剂

比起什么黑色、红色的内裤

更贴近原材料本身,更安全

而且妇科医生在推荐内裤的时候

也是让我们尽量选择浅色~

不仅好看安全,另一方面更容易发现问题

贴身穿着安全很重要

这款内裤通过荧光测试

 0荧光剂添加,对皮肤无刺激

天然安全,健康放心!

闻了一下

是纯棉的天然的味道

麻麻都说这个纯棉内裤不参假

让我帮她也买一下

其次是它的手感

是那种原始的棉布的手感

摸起来像没有经过多余柔顺剂处理

安全的手感,真的会爱~

大家担心的勒PP的问题

也测试过了,弹性很大

穿在身上不紧不勒不卡档

包裹性很好,体验感也很好

我们第一批粉丝测评

反馈都很好,所以赶紧给大家安利

“7条装刚刚好”“一星期搞定“

“纯棉的就是放心”

1.高品质新疆棉面料,柔软舒适,高弹不勒,吸湿透气,像“第二层肌肤”;一样好穿

2.100%全面裆部,更柔软更透气,3A级抗JUN保护,让私处远离异味、瘙痒;

3.颜值高品质好,款式大方,M-2XL,135斤以内都可穿。

很多内裤除了好看一无是处

尤其是化纤、聚酯纤维这种合成纤维

弹性小,又紧又勒还不透气

长时间穿着很容易引起

私处的细菌滋生、菌群紊乱

导致瘙痒难耐、异味不断

严重的还会引发一些妇科炎症

内裤还是纯棉的好

柔软舒适,亲肤不过敏

对私密部位很友好

穿过这条内裤的姐妹都说

这是近期穿过非常好穿的内裤

面料选择上

当然是首选咱中国最好的新疆棉花

棉多大而洁白,纤维长而柔软

制成的织物舒服柔韧,品质高级

32支超细精梳棉,无论软糯程度

还是亲肤透气性,都是内裤中比较优秀的

剪下一小块内裤面料进行燃烧测试:

棉燃烧后生成细末,安全无污染

吸湿性、透气性也是翻倍的好

(普通内裤)              (纯棉内裤)

自从穿了这条内裤

小PP舒服的就好像没穿一样

但凡试过它的姐妹

一定会爱上这种触感

太好穿了

内裤一穿24H

各种尿液、私处分泌物、汗臭等

混在一起发酵后携带霉菌、白色念珠菌等

有多脏就不用再赘述了

严重的还会引发一些妇科疾病

所以内裤的裆部非常重要

这款纯棉内裤100%纯棉裆部

材质本身又舒服又柔软

紧贴娇嫩肌肤,也毫无摩擦感

就像穿了一朵软乎乎的大白云

轻松舒适又飘飘然的好舒服

为什么那么多医生

都建议大家穿纯棉内裤?

因为和其他纺织品相比

棉的抑菌性是真的高出太多了

抑菌效果可是经实验检测证实的

抑菌效果不止是说说而已

它通过了国家AAA级认可

真正做到远离异味拒绝瘙痒

而且纯棉材质,不仅穿着非常舒适

吸湿性、透气性也非常好~

比起普通内裤裆部面料差

又硬又黄难清洗?

这款的抗污力要高出不少

血渍、尿液、分泌物等也能轻松洗去

轻松避免二次感染

纯棉云朵内裤

一条亲肤透气、安全0敏

让私处自由呼吸的内裤

贴心守护你的私处卫生

让你轻松远离瘙痒和异味~

比起那些材质乱选的内裤

这条纯棉云朵内裤可太好穿了

颜值高,款式大方,版型立体

穿上舒适包裹,体验感绝佳

全身都是简约条纹纹理

极简的好看,干净而纯粹

腰边、裤边都是双边锁边工艺

相比于普通的单边工艺

看起来更精美,也更不容易抽线

耐穿性大大增加,多次搓洗不松垮不变形

虽然是双边工艺

不管是裤腰、还是裤边,但弹性依旧很好

不勒肚子和大腿根,让你活动自如

内裤的整体走线相对平整均匀

里里外外的做工都很精致

没有多余的线头,“0”压感包围!

贴合人体曲线剪裁

立体包裹,上身不夹臀不卡裆

穿过的姐妹都夸好

“棉内裤确实更吸湿透气”

“看得出品质感,穿着特别舒服”

“不夹屁股,没有勒的感觉”

纯棉云朵裤

一条3A级抗JUN的安全内裤

尺码:M、L、XL,135斤以内都能穿

穿它就是在穿自然,穿健康

反正“超放心”就对了~

嫌弃冰丝冻PP的姐妹强烈建议入手

穿上它之后,真的太舒服了

就像把云朵裹在PP上,亲肤又安全

还有经典5色

韩粉、果绿、肤色、浅蓝、白色

每一条都超级超级好看

(转自:新融微生活)

加载中...