新浪财经

起底“山取”商业版图:颜料师关联十多家企业 已被限制高消费

市场资讯 2024.10.23 20:23

来源:上游新闻

l9月28日,颜料师“山取”发布哀牢山相关视频,受广大网友关注。

10月22日,博主@水果猎人杨晓洋 打假“山取”称对方不仅有团队并且属于摆拍,并要求对方公开道歉。

10月23日,颜料师“山取”发长文回应:没有摆拍,哀牢山所涉区域完全合法。

据悉,哀牢山走红后,也带火了颜料师“山取”账号。该账号多次上热搜,位居当周涨粉榜第一名,一个月涨粉超600万。

值得注意的是,“山取”认证详情为颜料师张俊杰,此人名下涉及多则司法案件信息,并已被限制高消费,而其持股51%的东莞市卡尼欧时装有限公司已被列为失信被执行人(老赖)。

非法进入哀牢山摆拍?

颜料师“山取”回应:都是谣言

近日,博主@水果猎人杨晓洋发视频称,颜料师“山取”团队一行六人不顾警示牌和哨卡,擅自闯入哀牢山马鞍山水库,被发现驱赶后不思悔改,依然剪辑视频发布,给众多网友带来错误的认知和引导,并质疑山取团队视频摆拍。

10月23日,“山取画材”首席颜料师张俊杰发文回应了“整个视频是否是一场摆拍”的质疑:“我最大的愿望就是有一天可以摆拍,我认为我去摆拍也会拍得很有趣,但很抱歉,这是不允许的。所有的一切对于观众来说是未知的,对于我们来说也是未知的,没有任何设计,过程完全真实随机。”

总结就是:网络上流传的所有谣言,都是假的,不是一个两个,是全部。

针对网络关于其“是否擅自进入哀牢山保护区”的争议,颜料师“山取”表示:“我去的地方在安全区和保护区的边缘。”

颜料师“山取”称,哀牢山这期内容,自己的任务是去马鞍山水库的尾部采集异极矿。

云南哀牢山国家级自然保护区新平管护局工作人员此前曾证实,颜料师“山取”划皮艇的具体位置确实是马鞍山水库。因为其活动区域都不在自然保护区范围内,管护局并不负责处理后续事宜。

值得一提的是,此前,普洱市镇沅县徒步者登山协会会长、民宿经营者,同时也是哀牢山本地人的石兆阳,曾质疑颜料师“山取”的视频是剧本摆拍,“因为哀牢山根本就没有他说的那些矿物。”

多次上热搜 

一个月涨粉超600万

9月28日,颜料师“山取”发布视频,称其为了找到能作为某种颜料的矿石独自前往哀牢山探险。此视频一出迅速走红,引来大批网友围观。

在颜料师“山取”两次进入哀牢山收集材料的视频中,其中一段在湖边的钓鱼、划皮艇的画面,因为被网友发现疑似有熊等生物而备受关注。

上游新闻搜索发现,这条长达21分钟的视频点赞已经超过745万、转发超过589万、评论超过46万。

哀牢山话题走红,直接将颜料师“山取”账号带火,甚至多次登上热搜榜。

据新榜数据显示,颜料师“山取”账号位居当周(9月30日-10月6日)涨粉榜第一名,一周涨粉超439万,自9月底以来涨粉超过600万。有意思的是,该账号也登上了当周小红书、B站等平台的涨粉榜,全网累计至少涨粉491万。

不过,爆火后的颜料师“山取”账号遭遇强制“降温”——限制搜索。虽然不能搜索,但如果此前已经关注,可以点击进入颜料师“山取”账号。

23日,上游新闻搜索该账号,还是可以顺利进入界面。颜料师“山取”账号界面显示的视频一共有9个,其抖音粉丝已超659万。

颜料师被限制高消费

此前被曝公司人去楼空

据平台实名认证信息显示,山取账号认证详情为颜料师张俊杰。

颜料师“山取”在23日的回应中表示,山取是一家颜料机构,目的是为了推广宣传岩彩行业,而不是探险博主,更不是网红,流量对于他们而言只是一份额外的欢乐,但对于自己本身的经营没有任何实际的帮助,他们在视频中大量的展现了“异极矿”,但却没卖过一块异极矿。

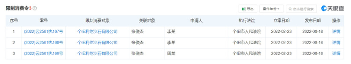
企查查显示,张俊杰当前关联有红河利他建设集团有限公司、云南观氏颜料有限公司等19家企业,其中15家企业已注销,4家为存续状态。值得一提的是,张俊杰名下涉及多则司法案件信息,并已被限制高消费,终本案件显示其未履行金额超89万元。而其持股51%的东莞市卡尼欧时装有限公司已被列为失信被执行人(老赖)。

据企查查披露,云南山取画材有限公司成立于2023年10月,公司法定代表人、大股东陆健,名下共计关联红河利他建设集团有限公司、个旧市观氏矿业有限责任公司(已注销)等7家企业。其中,与张俊杰共同持股的红河利他建设公司已连续3年因未按期限公示年度报告被列入经营异常名录。此外,在陆健已注销公司中,南京观氏创业投资有限公司、个旧市观氏建筑工程有限公司等4家公司同样由其二人共同出资。

早在10月9日,有记者曾到“山取画材”公司登记地址采访发现,该公司早已人去楼空。

记者来到登记地址时,发现这栋建筑已经是大门紧锁。记者连续2天到访,也没有看到人员活动的迹象。

经社区和园区管理方证实,云南山取画材有限公司现已搬离。一位工作人员称,对方是因为合同期满搬离的,不清楚搬到了哪里。

针对“山取画材公司人去楼空”“无人发声回应”等相关争议,颜料师“山取”也在23日发文中进行了回应。

颜料师“山取”表示:“这么大的热度,连续上热搜,我们一直没有发声。因为我们是山取,我们不关心,也不在乎,公司决定全员放假,十七八家千万粉丝的新闻媒体采访,一律推掉;几十个品牌邀约合作,一律拒绝。”

加载中...