新浪财经

微众银行,违规被罚款超千万!微粒贷,逾期会如何?逾期后果你知道吗? 原创 财事汇

理财周刊

关注

微众银行被罚款 微粒贷逾期影响大揭秘

中国人民银行深圳市分行于2024年9月30日对微众银行开出了一张金额高达1387万元的罚单,原因是该行存在五项违法行为,均属于反洗钱及客户身份识别领域的关键环节,包括违反账户管理规定、未按规定履行客户身份识别义务等。此外,微众银行多名高管因对上述违法行为负有责任而被处以罚款,总计24.75万元的罚款。

微众银行在内控方面不到位

值得注意的是,此次罚款金额是2024年民营银行中最大的一笔罚单。这也揭示了微众银行在合规管理上的漏洞。

微众银行虽然声称在2022年前就已经整改完毕,但是据梳理,2022年6月10日,微众银行就因为租金贷贷后管理不到位,被处以罚款40万元;2023年8月微众银行连续吃下三张国家金融监督管理总局深圳监管局罚单,涉及汽车贷款业务违法违规,被罚金额120万元

此外,监管趋严,银行业收到罚单的现象颇为常见,各家银行都在加强内控合规管理。

据相关媒体统计,今年前三季度,国家金融监督管理总局及各分支机构共向银行业开出1533张罚单,合计罚没金额约11.81亿元

过度依赖零售客户

微众银行自2014年成立起,便备受关注,微众银行由腾讯牵头设立,百业源、立业集团等知名企业发起是国内第一家互联网银行。

截至2024年10月,天眼查显示,微众银行股东结构显示,其中第一大股东为腾讯,持股比例30%;其次为百业源20%(实控人:朱保国)和立业集团20%(实控人:林立),淳永投资9.9%,深圳横岗5%,深圳光汇石油4%,深圳金立通3%,涌金投资3%,信太科技3%,中化美林2.1%。

背靠腾讯,微众银行借助微信、QQ 两大社交平台的流量支持,不断扩大零售客户群体。截至2023年末,微众银行个人客户数已经高达3.99亿户。随着两大社交平台存量客群逐渐挖掘,客户数量增长越来越困难。

比较明显的是,2023年,微众银行个人客户数仅比2022年增长不到0.4亿户,增速仅10%左右。

不过,微众银行过度依赖零售客户,负面效应亦慢慢显现。

2021年至2023年,微众银行营收增速分别为35.76%、31.03%、11.3%,2023年增速下降20个百分点;净利润增速分别为38.87%、29.83%、21.02%。

从负债端看,截至2023年末,微众银行负债总额4893.57亿元,同比增长11.87%,其中,吸收存款规模3755.28亿元,同比增长5.2%,同业负债规模为460.21亿元,同比增长34.56%。

在存款方面,个人存款高达3687.32亿元,占比超过98%,而公司存款仅47.68亿元,占比1%左右。个人存款当中,活期存款达到3079.13亿,占全部存款82%。

其中,微众银行的“拳头”产品微粒贷,已累计服务超6300万借款客户,年内日均发放贷款超95万笔,笔均贷款金额7400元。

2023年年报显示,微众银行发放的贷款总额4145亿元,较上年末增长23%,个人贷款2275亿元,占比54.88%,其中94%以上是消费类贷款。

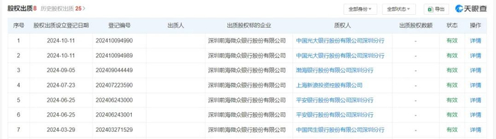
微众银行还存在股东出质风险

今年以来,微众银行已有7笔股权出质操作,出质人、出质数额均未披露,质权人包括渤海银行股份有限公司深圳分行、上海新浪投资控股有限公司等。

政策颁布后,初显示成效

微众银行绝大多数高管出自平安系,包括微众银行董事长顾敏、行长李南青分别于2014年、2015年加入微众银行,在任时间均超过9年。常务副行长黄黎明、副行长兼首席信息官马智涛、两人均2016年加入,在副行长职位上的任职时间均超过8年。

根据2019年12月发布的《关于银行保险机构员工履职回避工作的指导意见》中,对关键人员任职设置7年轮岗期限,并对存量任职回避问题的整改给予3年过渡期。

另一争议的点在于,出生于1956年的李南青,(执行董事、行长),今年满68岁,已经超过法定退休年龄。

微众银行不良贷款率为1.46%

微众银行的业务特点决定了它在对公业务方面相对较少。与之不同的是,零售存款的灵活性吸引了众多用户,很多人将其视为随取随用的便捷零钱包。然而,这种便捷性也带来了一定的风险,因为储备资金的不确定性较大。

另外,海量的零售客户,也给微众银行的资产质量带来挑战。2023年,微众银行不良贷款率为1.46%。

主要业务之一:微粒贷,是微众银行推出的首款互联网小额信贷产品。专门提供给微信用户和手机QQ用户信用消费贷款产品。

下沉客户群体虽然是充满潜力的市场,但是该类群体也因为抵抗风险能力弱,存在较大的违约风险。近年来,微众银行的相应的投诉量呈现逐年攀升的趋势。(黑猫投诉)

这不仅会导致微众银行的资产质量恶化,同时还会引发消费者和金融机构的冲突和摩擦。

据微众银行在黑猫平台的多个投诉案例表明,主要问题在于暴力催收,以及侵犯个人隐私。

有人担心微粒贷和微信账户的关系,担心如果逾期还款,会不会被冻结账户?相关律师表明:不会。微信账户的冻结通常是由系统监测到账户存在风险时才发生的,与微粒贷的逾期无关。

对于微粒贷逾期后果

收取高额罚息:微粒贷逾期后,会自逾期之日起每天对逾期本金额外收取约定利率50%的罚息,直至逾期还清。

上传征信系统:逾期记录会被如实上传到央行征信系统,影响个人征信报告,导致信用受损。

功能受限:逾期后,微粒贷会采取功能限制等措施,禁止借款人再次借款。

无法办理其他信贷业务:由于征信受到影响,其他信贷平台可能会因考虑到借款人的信用污点而拒绝贷款。

多方面催收或起诉:逾期后,会进行短信和电话等形式的催收。如果长期逾期且无还款意愿,微粒贷可能会采取法律手段追回欠款。

系统检测到账户存在风险:如账户被盗用、存在异常交易等。

违反微信规定:如发布违规内容、进行恶意营销等。

综上所述,微粒贷逾期无力偿还并不会导致微信账户被封!但是逾期之后,一定面临催收和起诉,之后会冻结名下微信和支付宝,这个会带来不便。

微众银行在快速发展的同时,需要更加重视消费者权益保护和合规经营,以提升其在市场中的信誉和消费者的信任度。

加载中...