新浪财经

龙虎榜 | 深圳华强今日涨停,作手新一净买入1.02亿元,宁波桑田路净买入6474.93万元

界面新闻

关注

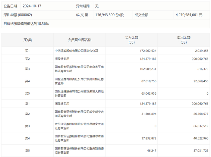
深圳华强今日涨停,龙虎榜数据显示,上榜营业部席位全天成交10.76亿元,占当日总成交金额比例为25.2%。其中,买入金额为6.2亿元,卖出金额为4.56亿元,合计净买入1.65亿元。

具体来看,知名游资现身龙虎榜,宁波桑田路(国盛证券有限责任公司宁波桑田路证券营业部)净买入6474.93万元、作手新一(国泰君安证券股份有限公司南京太平南路证券营业部)净买入1.02亿元。此外,中信证券深圳分公司、深股通专用分别买入1.73亿元、1.24亿元;深股通专用、国泰君安证券咸宁咸宁大道证券营业部分别卖出2.00亿元、8636.86万元。

加载中...