新浪财经

金融TI股爆发!国泰君安上海分公司抢筹东方财富超10亿 政策带来这些利好

东方财富官微

关注

9月27日,A股三大指数放量大涨,上证指数涨2.89%逼近3100点,金融TI板块掀涨停潮。截至收盘,华信永道30%涨停,银之杰东方财富同花顺等多股录得20%涨停。

盘后数据显示,国泰君安上海分公司席位净买入东方财富10.77亿元,六一中路席位净买入4.51亿元,深股通专用席位买入9.98亿元并卖出10.57亿元,二机构专用席位净卖出5.63亿元。

一机构席位买入同花顺2.3亿元深股通买入1.44亿元并卖出2.7亿元。

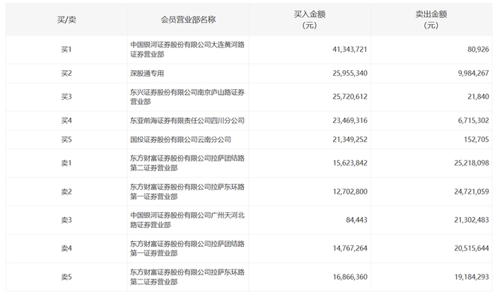
中国银河证券大连黄河路买入银之杰4134.37万元深股通买入2595.53万元,东兴证券南京庐山路买入2572.06万元;东方财富证券拉萨团结路第二卖出2521.81万元、东方财富证券拉萨东环路第一卖出2472.11万元、中国银河证券广州天河北路卖出2130.25万元。

盘面上,银之杰录得7天6板,期间累计涨219%。公司盘后发布股票交易异动公告,公司近期股价大幅上涨,股票换手率及成交量明显放大,存在股价大幅上涨后回落的风险。

晚间,深交所发布深市监管动态,对近期股价涨跌异常的“银之杰”进行重点监控。

机构:多项重磅政策推出,金融IT有望受益

消息上,中国人民银行决定,自2024年9月27日起,下调金融机构存款准备金率0.5个百分点(不含已执行5%存款准备金率的金融机构)。

此外,央行行长潘功胜9月24日在发布会上宣布,将创设证券、基金、保险公司互换便利,支持符合条件的证券、基金、保险公司通过资产质押,从中央银行获取流动性,将大幅提升资金获取能力和股票增持能力。创设专项再贷款,引导银行向上市公司和主要股东提供贷款,支持回购、增持股票。

浙商证券研报指出,政策有望提高证券市场流动性,从而带动证券、资管公司经营状况改善并提高其信息化投入能力。同时新增的互换便利业务有望带来新的IT建设需求,从而利好金融IT。

国信证券认为,政策发力、经济企稳及数字化转型将推动市场活跃度。长期来看,宏观环境改善和资本市场改革将提升证券科技及券商IT行业ROE,建议关注金融IT板块。

(文章来源:第一财经)

加载中...