新浪科技

《黑神话:悟空》上线首月爆卖68亿元!盗版周边也疯狂,游戏科学喊话“天命人”

每日经济新闻

关注

每经记者 李卓    每经实习记者 张梓桐    每经编辑 陈俊杰    

《黑神话:悟空》再度刷新国产游戏新纪录。9月20日,国外数据分析公司VG Insights的最新数据显示,《黑神话:悟空》在Steam平台上的销量已经达到了2000万份,同时该游戏的总收入超过9.61亿美元(约合人民币超67.9亿元)。这也适逢“悟空”上线满月。

不过,《每日经济新闻》记者注意到,随着游戏热度不断攀升,一系列围绕其展开的盗版、侵权问题也逐渐衍生,成为游戏制作方“游戏科学”及广大玩家不得不面对的挑战。

近日,记者在某电商平台上检索“黑神话 周边”后发现,平台呈现出多条与《黑神话:悟空》相关的商品,种类繁多,包含衣服、纸笔、手办、饰品等,但无一例外都没有在标题上注明“官方授权”。

记者点进一家售卖《黑神话:悟空》周边影神图鉴的商家,询问其是否获得了官方授权,对方秒回,“没有授权,官方不做这些”。

对此,上海申伦律师事务所律师夏海龙在接受《每日经济新闻》记者采访时表示,上述行为主要涉及侵害作品著作权的问题。包括游戏内的各种人物、角色形象、场景以及相应的图纸等元素,都受“著作权法”保护,擅自传播、销售等行为都是侵权行为。

面对盗版、侵权等乱象,《黑神话:悟空》的制作方“游戏科学”迅速作出反应。

9月20日,《黑神话:悟空》官方微博发表关于周边产品的声明称,近期,发现多个网络销售平台上出现了大量品质良莠不齐的周边产品,这些产品没有从“游戏科学”获得正式授权,无法保障品质和售后。为保障玩家权益,将不定期公示非官方授权的店铺名单。同时,公司表示未来将谨慎选择合作伙伴,力求为玩家提供价格合理、品质优良、售后有保障的正版游戏周边产品。同时呼吁天命人“理性消费”。

记者注意到,在诸多盗版产品中,正版产品的复刻版成为侵权的重灾区。《黑神话:悟空》的“实体收藏版”,凭借其包含的精致可动模型“天命人”、精美画卷及徽章等限量物品,在发售时便以1998元的定价吸引了大量玩家的关注,并成功限量发售1万件。

今年6月开启全款预售的《黑神话:悟空》实体版几乎被瞬间“秒杀”,成功订购的玩家近期已陆续收到实物。由于供应量有限,该实体版在二手平台上的价格一路飙升,部分现货的拍卖价格曾经突破6000元,更有卖家直接挂出1.2万元的“一口价”,显示出其极高的市场价值和收藏热度。

而正品周边的稀缺性也催生了一个非正品手办市场。在二手交易平台和社交媒体上,大量声称“1:1复刻”的“天命人”手办同款模型涌现。

记者调查发现,这些非正品手办的卖家往往使用正品模型的照片进行宣传,并承诺在收集到足够多的订单后才会开模制作,以降低成本风险。

从盗版形态来看,各个商家“侵权”的路径也是各不相同。

例如,一些商家在二手平台出售游戏角色的3D建模数据图,让买家自行寻找3D打印厂商制作手办等周边产品。更为严重的是,一些商家甚至利用AI生成的图片或游戏建模图纸进行销售。这些产品虽然外观上与正版产品相似,但实际上并未获得游戏制作者的授权。

一位卖家向记者透露,由于开模成本高昂,他们通常会先在网上寻找潜在买家,待订单数量达到一定规模后再与生产方合作进行生产。买家确定购买后,可通过交易平台付款,并加入由卖家、买家和生产方共同组成的微信群,以确保资金安全和生产进度。尽管这种模式存在一定的风险,但卖家表示会尽力保证产品质量和交货时间,若无法按时交付则承诺退款。

事实上,“游戏科学”在游戏发行前就已经对相关商标进行了注册。

记者查询公开资料发现,“游戏科学”已经注册了超过两百个与《黑神话:悟空》相关的商标,包括但不限于“黑神话悟空”“黑神话”“黑悟空”“黑神话·大荒”“黑神话·山海”“黑神话·小倩”等,覆盖了教育娱乐、服装鞋帽、健身器材、餐饮住宿等多个品类。

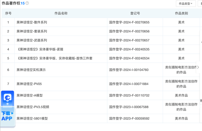
天眼查知识产权信息也显示,游戏出品方杭州游科互动科技有限公司已登记“黑神话悟空-散件系列”“黑神话悟空-套装系列”“黑神话悟空-武器系列”“《黑神话悟空》实体豪华版-紧箍”“《黑神话悟空》实体豪华版、实体收藏版-首饰三件套”等多个黑神话悟空相关作品著作权。

此外,“游戏科学”还申请了多件软件著作权,确保游戏代码的合法拥有权和使用权。

在《黑神话:悟空》取得巨大成功的同时,盗版游戏如同游戏中的“妖怪”一般,悄然滋生并迅速蔓延。

在某二手交易平台上,记者发现大量打着“《黑神话:悟空》破解版”“离线版”等旗号的商品,售价低至几元甚至免费赠送,宣称“下载即玩”。

然而,记者发现这些所谓的“破解版”要么是其他游戏的破解文件,要么是根本无法正常运行的虚假链接,更有甚者直接播放起了86版《西游记》电视剧,令人啼笑皆非。

这种盗版行为不仅严重损害了游戏制作者的合法权益,也侵犯了消费者的正当权益。根据“消费者权益保护法”的相关规定,经营者提供商品或者服务有欺诈行为的,应当按照消费者的要求增加赔偿其受到的损失。然而,在盗版游戏交易中,消费者往往难以获得有效的赔偿,甚至可能因下载不明链接而面临个人信息泄露、电脑中毒等风险。

除了直接的盗版游戏外,利用游戏平台漏洞进行账号共享的行为也屡见不鲜。在Steam、Epic等游戏平台上,《黑神话:悟空》的“离线版”和“家庭版”共享账号成为了一些商家的牟利工具。

这些商家通过出售商家的账号或利用家庭共享功能,让买家在支付一定费用后能够“免费”游玩游戏。

然而,这种行为实际上违反了游戏平台的用户协议。Steam平台的用户协议明确规定,账号是严格针对个人的,不得出售或转让。商家通过出售离线版账号或利用家庭共享功能牟利,不仅违反了平台规则,也损害了游戏制作者的利益。同时,对于购买这些账号的玩家来说,也存在被“踢出库”或无法享受正常游戏体验的风险。

在业内人看来,游戏IP保护并非一朝一夕之功。在全球化背景下,游戏IP保护面临着跨国法律差异、全球市场监管和文化差异等多重挑战。为了更好地保护游戏IP,游戏开发者需要加强与电商平台、社交平台等合作,共同打击侵权行为;同时,也需要积极寻求法律支持,通过诉讼等方式维护自身权益。

夏海龙对记者表示,当前游戏IP大都可以得到“著作权法”保护,游戏行业的知产保护意识也普遍很高,目前司法实践中对权利人的保护力度也很大,因此主要的保护手段就是IP权利人通过诉讼等渠道实现保护。

封面图片来源:官方微博

加载中...