新浪财经

海银财富,新情况!

上海证券报

关注

海银财富出现新动向。

企查查相关资料显示,近日海银财富被多家法院列为被执行人,执行标的合计近100万元。与此同时,三季度以来涉及海银财富的开庭公告密集更新。多位投资者向记者透露,海银财富通过在伪金交所备案等方式虚构了多个融资项目,募资金额上百亿元,去年12月海银财富宣布停止兑付后,诸多投资人已经向警方以及监管机构提交了举报材料。

值得注意的是,除了海银财富,近期“中植系”旗下多家公司也被列为被执行人,执行标的合计近20亿元。在业内人士看来,类似海银财富、“中植系”的风险化解周期相对较长,司法程序的启动往往是第一步,未来在政策引导下重点领域风险化解将有序推进。

海银财富被多家法院列为被执行人

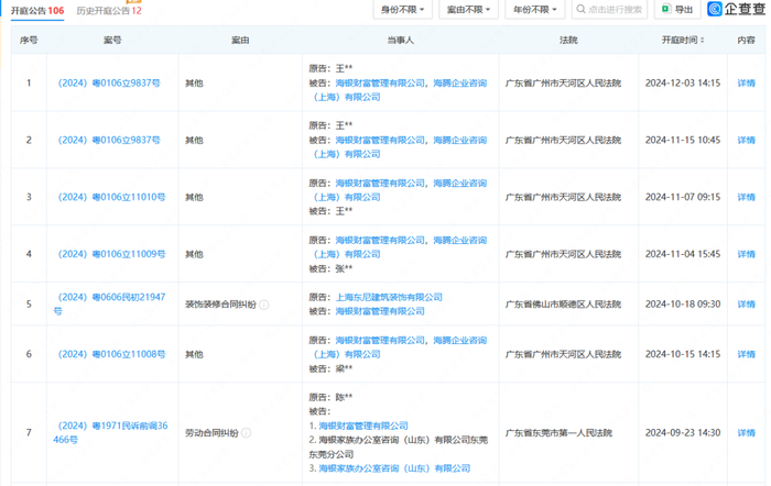
近日,企查查资料显示,海银财富被多家法院列为被执行人,执行标的合计近100万元。

与此同时,三季度以来涉及海银财富的开庭公告密集更新。而且根据企查查统计,海银财富33.1%的涉案案由为委托理财合同纠纷,80.8%的案件身份为被告,且在近5年中,2024年案件占比最大。

多位投资人已提交举报材料

去年12月,海银财富发布公告称,近期受经济下行的影响,项目出现迟延,海银财富已成立专项小组,积极协调项目相关方筹划处置方案。根据最新的监管政策和行业导向,海银财富主动退出,对存续业务进行梳理。

就此,海银财富全面爆发风险。

多位海银财富投资人向记者透露,海银财富所售的产品起投金额为30万元或100万元,年化收益率在7%—10%区间,产品资金用途大多用于给企业融资。过去几年,海银财富和五牛控股通过注册投资公司、伪金交所公司,编造虚假投资项目,设计包装了大量应收账款类、城投债类等投资理财项目,随后由海银财富在全国各地下设的170多家分公司进行销售,诱导了上万名投资人购买,合计募资金额上百亿元。

据悉,众多投资人已经向警方和监管部门提交了举报材料,等待进一步调查结果和反馈。

风险化解将有序推进

除了海银财富,“中植系”的风险化解近期也出现最新进展。

天眼查显示,中植国际投资控股集团有限公司、北京首拓融汇投资有限公司、樟树市创隆投资管理中心(有限合伙)、江苏盛信中达企业管理有限公司、青岛鑫汇合投资管理有限公司等公司,近日均被北京金融法院列为被执行人,合计执行标的约20亿元。

从股权结构来看,中植国际投资控股集团有限公司、青岛鑫汇合投资管理有限公司、中植汽车安徽有限公司等均为“中植系”旗下公司,受益所有人均为解直锟。

另外,京东资产交易平台披露的信息显示,中植融金持有的武汉天时保险经纪的股权及债权进行了首次拍卖。此次拍卖标的为中植融金持有的武汉天时保险经纪100%股权,以及中植融金对武汉天时保险经纪享有的688.04万元债权(整体拍卖)。

“司法诉讼往往是金融风险化解的第一步,尤其是海银财富、‘中植系’这类涉及到多种类型金融产品的风险问题,往往需要较长周期的调查、追缴和多轮诉讼方能彻底化解。”沪上一位信托业人士直言。

风险处置的同时,今年以来金融业的风险防范也在持续加强。

公开资料显示,今年以来全国已集中关停了以下四批地方金交所。

3月25日,湖南、辽宁、西安、重庆等地的金融监管部门发布公告,取消各自辖内金交所的业务资质,取消后,四地都将不再有金交所。

5月10日,山东、吉林、江西、青岛、深圳等地的金融监管部门集中发布公告,宣布取消辖内金交所的业务资质。

6月21日,包括广东、厦门、宁波、天津、山西、黑龙江、河南、海南等地的金融管理部门集中发布公告,宣布取消辖区内金交所业务资质。

8月16日,又有江苏、安徽、湖北、贵州、大连等五地公告,取消辖区内的金交所,分别为江苏金联金融资产交易中心、安徽省金融资产交易所、武汉金融资产交易所、贵州金融资产交易所、大连金融资产交易所。这是今年以来,第四批金交所集中关停。

多位业内人士认为,在政策推动下,金融领域的风险将平稳有序化解。在此过程中,风险化解的各方参与者需做好投资者沟通和信息同步,避免维权行为带来社会不稳定因素加剧。

责编:孟   妹校对:冯雯君图编:赵雁旎

加载中...