金城医药董事长被调查,股价暴跌近20%触及大股东质押股份预警线,有投资者启动索赔程序
华夏时报
本报(chinatimes.net.cn)记者张斯文 于娜 北京报道
近日,山东金城医药集团股份有限公司(下称“金城医药”,300233.SZ)实控人赵叶青因涉嫌操纵证券市场违法违规行为被证监会立案调查。此消息一出,市场迅速反应,金城医药股价在短短时间内暴跌近20%,市值大幅缩水。更为严峻的是,公司股价的暴跌已触及大股东质押股份预警线,进一步加剧了市场担忧。
《华夏时报》记者获得的最新消息是,面对突如其来的股价危机,部分受损投资者已通过法律途径寻求补偿,新浪股民维权平台已接到维权申请并展开相应法律服务。
投资者或可参与维权
8月16日晚,金城医药发布公告称,公司实控人赵叶青因涉嫌操纵证券市场违法违规行为,被证监会立案调查。公司回应,此次立案调查主要针对赵叶青的个人行为,与公司整体运营情况无关,金城医药将严格按照监管要求履行信息披露义务。
就在董事长赵叶青被中国证监会立案调查前一个月,其父亲,同时也是实际控制人之一的赵鸿富,进行了股份减持操作。
根据公告,赵鸿富因自身资金需求,计划在2024年7月12日起的3个月内减持不超过300万股股票。最终,他在不到一个月的时间内,即8月5日至8月12日,通过集中竞价的方式减持了299.95万股,减持均价为14.39元/股,累计套现约4316万元。
然而,二级市场的投资者就没那么幸运了。
8月19日开盘后,受消息影响,金城医药股价放量暴跌16.9%,以11.95元/股收盘。
此后公司股价持续下挫,与发出公告前相比11个交易日内下跌了18.57%,期间最低股价跌至10.8元/股。到8月30日盘后,公司股价报收11.62元/股,市值蒸发近11亿元。
(金城医药股价走势图,来源:WIND)
不过,投资者或许可以通过维权来补偿股价下跌所带来的损失。
目前,新浪股民维权平台提供了维权信息。其中索赔条件显示,在上市后到2024年8月16之间买入股票,且在8月17日收盘时卖出或仍持有的投资者均可参与此次维权。
(来源:新浪股民维权平台)
据《新浪证券-红岸工作室》8月27日消息,上述平台收到了夏姓股民针对金城医药的维权申请,目前该维权咨询已被章祥兵律师接受。新浪股民维权平台将关注该股民的索赔进程,相关维权持续征集中。
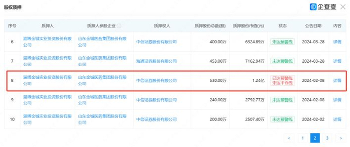
此外,股价急速下跌,已经触及了大股东质押股份预警线。
金城医药目前第一大股东为淄博金城实业投资股份有限公司(下称“金城实业”),由董事长赵叶青父亲赵鸿富持股66.22%,赵叶青持股4.89%。
企查查显示,金城实业一笔530万股、1.24亿元的股权质押处于“已达到预警线”的状态。这笔质押的预警线为11.22元/股。
(来源:企查查)
据公司公告,截至今年7月24日,金城实业已累计质押股份3907.42万股,占其持股总数的49.74%,占公司总股本的10.18%。资金大多用于“补充流动资金”“补充质押”。
对于公司如何应对可能出现的大股东质押爆仓风险,金城医药未予置评。
资本运作拖累业绩
一系列收购并购操作下,赵叶青已经给人留下“玩转”资本的印象。
创业板上市以来,金城医药相继收购三家制剂企业,完成了制药全产业链布局。
然而,中国企业资本联盟副理事长柏文喜认为,这些资本运作似乎并未有效转化为公司的长期利润,反而导致了公司研发投入的持续低迷,影响了公司在新药研发和技术创新上的表现。
从收购原朗依制药(现金城泰尔)这一“经典”案例来看,赵叶青的资本运作对公司业绩形成了负面影响。
2017年,金城医药购买了金城泰尔100%股权,交易价格为18.8亿元,溢价率达416%,形成了11.44亿元的商誉。
而随着金城泰尔的业绩大变脸,金城医药不得不计提了全部商誉损失。大费周章完成的收购,反而成为公司业绩的“拖油瓶”。近两个报告期,金城泰尔已经连续出现亏损。
据公司披露,2023年金城泰尔亏损4281.74万元,2024年上半年亏损2363.21万元。至于亏损原因以及何时扭亏,金城医药均未进行解答。
而这次收购对公司造成的负面影响不仅于此。
当时收购金城泰尔时,金城医药引入了北京锦圣、达孜创投两位股东,二者分别持有公司25.05%、6.26%,成为第二、第三大股东。然而,这两笔融资作为基金是有退出压力的。但买入容易脱手难,北京锦圣曾试图多次出手金城医药股权未果。
早2019年,北京锦圣在便与德展健康(000813.SZ)洽谈出让股权,但最后不了了之。随后2020年这家公司又计划在阿里拍卖平台以网络竞拍的方式进行协议转让,起价高达27.18亿元,但无人竞拍。拍卖未果的北京锦圣转而选择了通过二级市场减持。
据统计,2020年中期-2021年底,北京锦圣进行了多次减持,持股比例从23.06%减少至4.63%。而“巧合”的是,这段时间金城医药的股价刚刚经历一波上涨,处于当时的高位震荡区间。
对于金城医药是否有意配合北京锦圣的减持,以及赵叶青被调查是否与此番减持有关?《华夏时报》记者向金城医药相关负责人致采访函,但截至发稿并未收到答复。
毛利率下滑、业绩波动大
近年来金城医药在研发方面的投入正在缩水。
据Wind统计,2019年—2024年上半年,金城医药的研发费用占营业收入的比例分别为9.44%、6.48%、5.68%、4.88%、5.22%、4.64%。
以今年上半年数据来看,金城医药在Wind西药板块164家已披露中报的公司中,仅排名118位。
不仅如此,将研发费用资本化的资金考虑进去后,金城医药在研发依然处于下滑。2019年—2023年,公司的研发支出总额占营业收入比例分别为13.84%、8.92%、8.01%、7.19 %、7.87%。
(数据来源:Wind)
研发收入下滑的同时,金城医药的产品毛利率也出现下滑。
据中报披露,2024年上半年,金城医药的生物制药及特色原料药系列产品毛利率同比减少3.23个百分点;制剂产品同比减少13.17个百分点。
(数据来源:公司公告)
近年来,金城医药的业绩波动也备受关注。虽然今年上半年增收又增利,但公司业绩始终无法保持连续、稳定的增长。
Wind数据显示,2019年—2024年上半年,金城医药的营业总收入分别为27.95亿元、29.62亿元、31.38亿元、35.06亿元、35.38亿元、17.59亿元。分别同比变化-7.09%、5.98%、5.96%、11.70%、0.93%、3.12%。
而公司的净利润波动更为明显。同期分别为2.14亿元、-4.81亿元、1.23亿元、2.86亿元、1.93亿元、1.39亿元。分别同比变化-24.19%、-324.61%、125.61%、132.26%、-32.38%、25.45%。
柏文喜对《华夏时报》记者表示:金城医药在赵叶青的领导下,虽然在产业链上形成了医药中间体、原料药及药物制剂的完整布局,但公司的盈利能力面临挑战,业绩增长并不稳定。因此,可以认为赵叶青在推动公司发展的过程中,资本运作占据了一定比重,但这是否为公司带来了长期稳定的发展,还有待进一步观察和评估。
见习编辑:姜雨晴主编:陈岩鹏