中鼎股份:2024年上半年净利润7.16亿元 同比增长34.83%
中证网
中证智能财讯 中鼎股份(000887)8月31日披露2024年半年报。2024年上半年,公司实现营业总收入96.69亿元,同比增长18.08%;归母净利润7.16亿元,同比增长34.83%;扣非净利润6.42亿元,同比增长41.38%;经营活动产生的现金流量净额为7.14亿元,同比增长77.02%;报告期内,中鼎股份基本每股收益为0.54元,加权平均净资产收益率为5.80%。
以8月30日收盘价计算,中鼎股份目前市盈率(TTM)约为11.27倍,市净率(LF)约为1.19倍,市销率(TTM)约为0.79倍。
公司近年市盈率(TTM)、市净率(LF)、市销率(TTM)历史分位图如下所示:
根据半年报,公司第二季度实现营业总收入49.77亿元,同比增长14.96%,环比增长6.07%;归母净利润3.55亿元,同比增长32.17%,环比下降1.56%;扣非净利润3.4亿元,同比增长42.19%,环比增长12.61%。
2024年上半年,公司毛利率为22.23%,同比上升1.06个百分点;净利率为7.44%,较上年同期上升1.06个百分点。从单季度指标来看,2024年第二季度公司毛利率为22.05%,同比上升0.55个百分点,环比下降0.37个百分点;净利率为7.24%,较上年同期上升1.17个百分点,较上一季度下降0.41个百分点。
数据显示,2024年上半年公司加权平均净资产收益率为5.80%,较上年同期增长1.08个百分点;公司2024年上半年投入资本回报率为4.51%,较上年同期增长0.96个百分点。
2024年上半年,公司经营活动现金流净额为7.14亿元,同比增长77.02%;筹资活动现金流净额7417.46万元,同比增加1.41亿元;投资活动现金流净额-5.79亿元,上年同期为-6.89亿元。
进一步统计发现,2024年上半年公司自由现金流为3.12亿元,上年同期为-0.60亿元。
2024年上半年,公司营业收入现金比为90.80%,净现比为99.67%。
营运能力方面,2024年上半年,公司总资产周转率为0.42次,上年同期为0.38次(2023年上半年行业平均值为0.28次,公司位居同行业11/51);固定资产周转率为2.07次,上年同期为1.88次(2023年上半年行业平均值为1.39次,公司位居同行业15/51);公司应收账款周转率、存货周转率分别为2.30次、2.12次。
2024年上半年,公司期间费用为13.51亿元,较上年同期增加2.57亿元;期间费用率为13.98%,较上年同期上升0.61个百分点。其中,销售费用同比增长26.38%,管理费用同比增长11.92%,研发费用同比增长17.36%,财务费用同比增长193.73%。
资产重大变化方面,截至2024年上半年末,公司其他流动资产较上年末增加24.35%,占公司总资产比重上升1.14个百分点;其他非流动金融资产较上年末增加47.03%,占公司总资产比重上升0.51个百分点;商誉较上年末减少2.11%,占公司总资产比重下降0.45个百分点;固定资产较上年末增加0.18%,占公司总资产比重下降0.40个百分点。
负债重大变化方面,截至2024年上半年末,公司应付账款较上年末减少9.07%,占公司总资产比重下降1.59个百分点;短期借款较上年末增加7.87%,占公司总资产比重上升0.62个百分点;长期借款较上年末增加4.26%,占公司总资产比重上升0.23个百分点;一年内到期的非流动负债较上年末增加31.92%,占公司总资产比重上升0.34个百分点。
从存货变动来看,截至2024年上半年末,公司存货账面价值为35.85亿元,占净资产的28.77%,较上年末增加7604.71万元。其中,存货跌价准备为2.22亿元,计提比例为5.84%。
在偿债能力方面,公司2024年上半年末资产负债率为46.37%,相比上年末下降0.68个百分点;有息资产负债率为24.77%,相比上年末上升1.20个百分点。
2024年上半年,公司流动比率为1.81,速动比率为1.33。
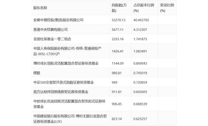
半年报显示,2024年上半年末公司十大流通股东中,新进股东为中国建设银行股份有限公司-博时主题行业混合型证券投资基金(LOF),取代了一季度末的赵熙逸。在具体持股比例上,香港中央结算有限公司、中国人寿保险股份有限公司-传统-普通保险产品-005L-CT001沪、中证500交易型开放式指数证券投资基金、中欧成长优选回报灵活配置混合型发起式证券投资基金持股有所上升,缪甦持股有所下降。
值得注意的是,根据半年报数据,中鼎股份10.82%股份处于质押状态。其中,第一大股东安徽中鼎控股(集团)股份有限公司质押1.43亿股公司股份,占其全部持股的26.75%。
筹码集中度方面,截至2024年上半年末,公司股东总户数为6.07万户,较一季度末下降了1.96万户,降幅24.39%;户均持股市值由一季度末的18.83万元上升至26.56万元,增幅为41.05%。
指标注解:
市盈率
=总市值/净利润。当公司亏损时市盈率为负,此时用市盈率估值没有实际意义,往往用市净率或市销率做参考。
市净率
=总市值/净资产。市净率估值法多用于盈利波动较大而净资产相对稳定的公司。
市销率
=总市值/营业收入。市销率估值法通常用于亏损或微利的成长型公司。
文中市盈率和市销率采用TTM方式,即以截至最近一期财报(含预报)12个月的数据计算。市净率采用LF方式,即以最近一期财报数据计算。
市盈率为负时,不显示当期分位数,会导致折线图中断。