新浪财经

锦江酒店:2024年上半年净利润同比增长59.15% 拟10派1.2元

中证网

关注

中证智能财讯 锦江酒店(600754)8月31日披露2024年半年报。2024年上半年,公司实现营业总收入68.92亿元,同比增长0.23%;归母净利润8.48亿元,同比增长59.15%;扣非净利润3.89亿元,同比增长4.02%;经营活动产生的现金流量净额为20.52亿元,同比下降23.09%;报告期内,锦江酒店基本每股收益为0.7921元,加权平均净资产收益率为4.96%。公司2024年半年度利润分配预案为:拟向全体股东每10股派1.2元(含税)。

报告期内,公司合计非经常性损益为4.59亿元,其中子公司处置损益为4.21亿元。

以8月30日收盘价计算,锦江酒店目前市盈率(TTM)约为19.61倍,市净率(LF)约为1.52倍,市销率(TTM)约为1.76倍。

公司近年市盈率(TTM)、市净率(LF)、市销率(TTM)历史分位图如下所示:

根据半年报,公司第二季度实现营业总收入36.86亿元,同比下降4.84%,环比增长14.96%;归母净利润6.58亿元,同比增长68.02%,环比增长246.36%;扣非净利润3.26亿元,同比增长15.29%,环比增长423.43%。

半年报显示,报告期内,公司所从事的主要业务为“全服务型酒店营运及管理业务”、“有限服务型酒店营运及管理业务”和“食品及餐饮业务”。

2024年上半年,公司毛利率为39.85%,同比下降2.01个百分点;净利率为14.38%,较上年同期上升4.51个百分点。从单季度指标来看,2024年第二季度公司毛利率为43.75%,同比下降2.18个百分点,环比上升8.37个百分点;净利率为19.98%,较上年同期上升7.71个百分点,较上一季度上升12.04个百分点。

数据显示,2024年上半年公司加权平均净资产收益率为4.96%,较上年同期增长1.90个百分点;公司2024年上半年投入资本回报率为2.87%,较上年同期增长1.03个百分点。

2024年上半年,公司经营活动现金流净额为20.52亿元,同比下降23.09%;筹资活动现金流净额-31.04亿元,同比减少12.92亿元;投资活动现金流净额27.14亿元,上年同期为16.21亿元。

进一步统计发现,2024年上半年公司自由现金流为22.46亿元,相比上年同期下降7.46%。

2024年上半年,公司营业收入现金比为116.33%,净现比为242.05%。

营运能力方面,2024年上半年,公司总资产周转率为0.14次,上年同期为0.14次(2023年上半年行业平均值为0.17次,公司位居同行业48/80);公司应收账款周转率、存货周转率分别为4.30次、66.08次。

2024年上半年,公司期间费用为21.81亿元,较上年同期减少2567.70万元;期间费用率为31.65%,较上年同期下降0.45个百分点。其中,销售费用同比下降5.27%,管理费用同比下降7.27%,研发费用同比下降13.5%,财务费用同比增长31.93%。

资产重大变化方面,截至2024年上半年末,公司固定资产较上年末减少30.87%,占公司总资产比重下降2.77个百分点;货币资金较上年末增加3.69%,占公司总资产比重上升1.56个百分点;商誉较上年末减少1.50%,占公司总资产比重上升0.53个百分点;无形资产较上年末减少1.14%,占公司总资产比重上升0.36个百分点。

负债重大变化方面,截至2024年上半年末,公司长期借款较上年末减少31.72%,占公司总资产比重下降5.70个百分点;一年内到期的非流动负债较上年末增加22.43%,占公司总资产比重上升2.96个百分点;租赁负债较上年末减少6.19%,占公司总资产比重下降0.43个百分点;其他应付款(含利息和股利)较上年末增加13.71%,占公司总资产比重上升1.03个百分点。

从存货变动来看,截至2024年上半年末,公司存货账面价值为5895.73万元,占净资产的0.35%。根据财报,公司本期没有计提存货跌价准备。

2024年上半年,锦江酒店的商誉达到116.54亿元,相当于同期公司净资产170.01亿元的68.55%。

在偿债能力方面,公司2024年上半年末资产负债率为63.42%,相比上年末下降2.26个百分点;有息资产负债率为27.92%,相比上年末下降3.30个百分点。

2024年上半年,公司流动比率为0.99,速动比率为0.98。

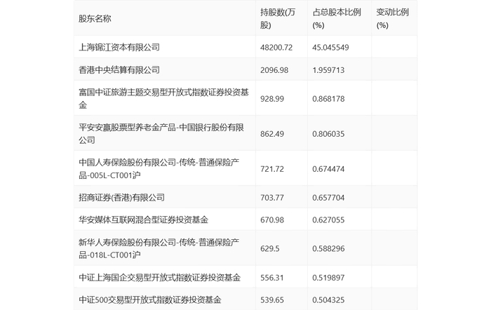
半年报显示,2024年上半年末公司十大流通股东中,新进股东为富国中证旅游主题交易型开放式指数证券投资基金、华安媒体互联网混合型证券投资基金、中证500交易型开放式指数证券投资基金,取代了一季度末的新华人寿保险股份有限公司-分红-个人分红-018L-FH002沪、汇添富消费行业混合型证券投资基金、华泰柏瑞沪深300交易型开放式指数证券投资基金。在具体持股比例上,平安安赢股票型养老金产品-中国银行股份有限公司、中国人寿保险股份有限公司-传统-普通保险产品-005L-CT001沪、招商证券(香港)有限公司持股有所上升,香港中央结算有限公司、新华人寿保险股份有限公司-传统-普通保险产品-018L-CT001沪、中证上海国企交易型开放式指数证券投资基金持股有所下降。

筹码集中度方面,截至2024年上半年末,公司股东总户数为5.49万户,较一季度末增长了5432户,增幅10.98%;户均持股市值由一季度末的41.92万元下降至32.82万元,降幅为21.71%。

指标注解:

市盈率

=总市值/净利润。当公司亏损时市盈率为负,此时用市盈率估值没有实际意义,往往用市净率或市销率做参考。

市净率

=总市值/净资产。市净率估值法多用于盈利波动较大而净资产相对稳定的公司。

市销率

=总市值/营业收入。市销率估值法通常用于亏损或微利的成长型公司。

文中市盈率和市销率采用TTM方式,即以截至最近一期财报(含预报)12个月的数据计算。市净率采用LF方式,即以最近一期财报数据计算。

市盈率为负时,不显示当期分位数,会导致折线图中断。

加载中...