新浪财经

长安汽车:2024年上半年净利润28.32亿元 同比下降63.00%

中证网

关注

中证智能财讯 长安汽车(000625)8月31日披露2024年半年报。2024年上半年,公司实现营业总收入767.23亿元,同比增长17.15%;归母净利润28.32亿元,同比下降63.00%;扣非净利润11.69亿元,同比下降5.89%;经营活动产生的现金流量净额为34.35亿元,同比下降50.61%;报告期内,长安汽车基本每股收益为0.29元,加权平均净资产收益率为3.94%。

报告期内,公司合计非经常性损益为16.63亿元,其中计入当期损益的政府补助为14.71亿元。

以8月30日收盘价计算,长安汽车目前市盈率(TTM)约为18.43倍,市净率(LF)约为1.67倍,市销率(TTM)约为0.74倍。

公司近年市盈率(TTM)、市净率(LF)、市销率(TTM)历史分位图如下所示:

根据半年报,公司第二季度实现营业总收入396.99亿元,同比增长28.33%,环比增长7.23%;归母净利润16.74亿元,同比增长145.13%,环比增长44.52%;扣非净利润10.57亿元,同比增长1011.57%,环比增长846.27%。

资料显示,公司属于汽车制造业,主要业务涵盖整车研发、制造和销售以及发动机的研发、生产。同时积极发展电池、电机、电控为代表的三电技术,智能座舱、智能驾驶等智能化技术。

2024年上半年,公司毛利率为13.80%,同比下降2.54个百分点;净利率为2.93%,较上年同期下降7.71个百分点。从单季度指标来看,2024年第二季度公司毛利率为13.23%,同比下降0.63个百分点,环比下降1.18个百分点;净利率为3.50%,较上年同期上升2.61个百分点,较上一季度上升1.19个百分点。

数据显示,2024年上半年公司加权平均净资产收益率为3.94%,较上年同期下降7.76个百分点;公司2024年上半年投入资本回报率为2.35%,较上年同期下降7.03个百分点。

2024年上半年,公司经营活动现金流净额为34.35亿元,同比下降50.61%,主要系支付供应商货款增加影响所致;筹资活动现金流净额-33.08亿元,同比减少27.42亿元,主要系2023年权益分派本期已支付,去年同期权益分派未支付影响所致;投资活动现金流净额56.75亿元,上年同期为52.6亿元。

进一步统计发现,2024年上半年公司自由现金流为112.33亿元,相比上年同期下降50.50%。

2024年上半年,公司营业收入现金比为119.76%,净现比为121.31%。

营运能力方面,2024年上半年,公司总资产周转率为0.41次,上年同期为0.41次(2023年上半年行业平均值为0.30次,公司位居同行业61/291);固定资产周转率为3.88次,上年同期为3.43次(2023年上半年行业平均值为1.59次,公司位居同行业36/291);公司应收账款周转率、存货周转率分别为28.41次、4.85次。

2024年上半年,公司期间费用为78.68亿元,较上年同期增加8.04亿元;但期间费用率为10.25%,较上年同期下降0.54个百分点。其中,销售费用同比增长34.98%,管理费用同比增长6.82%,研发费用同比下降1.77%,财务费用由去年同期的-4.53亿元变为-5.49亿元。

资料显示,销售费用的变动主要因为销量增加,销售服务、运输仓储等费用增加影响。

资产重大变化方面,截至2024年上半年末,公司其他流动资产较上年末减少77.05%,占公司总资产比重下降3.93个百分点;货币资金较上年末增加9.35%,占公司总资产比重上升3.76个百分点;应收票据较上年末减少9.73%,占公司总资产比重下降1.65个百分点;其他非流动资产较上年末增加312.22%,占公司总资产比重上升0.75个百分点。

负债重大变化方面,截至2024年上半年末,公司应付账款较上年末减少10.49%,占公司总资产比重下降1.83个百分点;应付票据较上年末增加8.96%,占公司总资产比重上升2.09个百分点;合同负债较上年末减少24.32%,占公司总资产比重下降0.97个百分点;应交税费较上年末减少55.11%,占公司总资产比重下降0.55个百分点。

从存货变动来看,截至2024年上半年末,公司存货账面价值为137.93亿元,占净资产的19.23%,较上年末增加3.27亿元。其中,存货跌价准备为5.56亿元,计提比例为3.87%。

在偿债能力方面,公司2024年上半年末资产负债率为60.49%,相比上年末下降0.24个百分点;有息资产负债率为0.65%,相比上年末上升0.03个百分点。

2024年上半年,公司流动比率为1.26,速动比率为1.12。

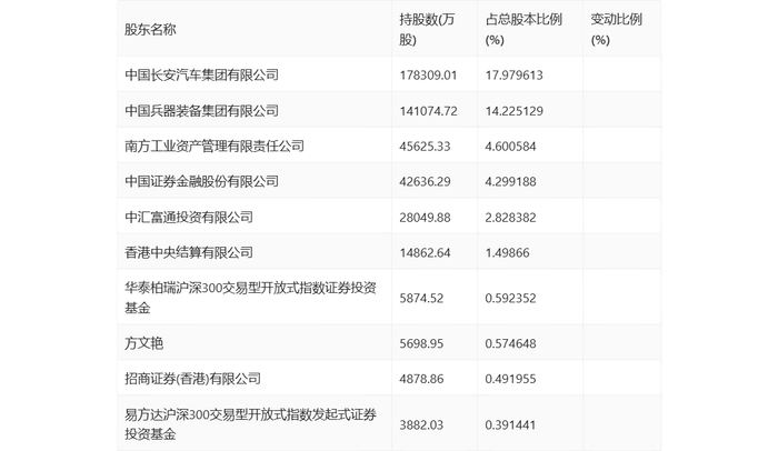
半年报显示,2024年上半年末公司十大流通股东中,持股最多的为中国长安汽车集团有限公司,占比17.98%。十大流通股东名单相比2024年一季报维持不变。在具体持股比例上,华泰柏瑞沪深300交易型开放式指数证券投资基金、易方达沪深300交易型开放式指数发起式证券投资基金持股有所上升,香港中央结算有限公司、方文艳、招商证券(香港)有限公司持股有所下降。

指标注解:

市盈率

=总市值/净利润。当公司亏损时市盈率为负,此时用市盈率估值没有实际意义,往往用市净率或市销率做参考。

市净率

=总市值/净资产。市净率估值法多用于盈利波动较大而净资产相对稳定的公司。

市销率

=总市值/营业收入。市销率估值法通常用于亏损或微利的成长型公司。

文中市盈率和市销率采用TTM方式,即以截至最近一期财报(含预报)12个月的数据计算。市净率采用LF方式,即以最近一期财报数据计算。

市盈率为负时,不显示当期分位数,会导致折线图中断。

加载中...