新浪财经

通威股份:2024年上半年实现营业收入437.97亿元

中证网

关注

中证智能财讯 通威股份(600438)8月31日披露2024年半年报。2024年上半年,公司实现营业总收入437.97亿元,同比下降40.87%;归母净利润亏损31.29亿元,上年同期盈利132.70亿元;扣非净利润亏损31.78亿元,上年同期盈利126.20亿元;经营活动产生的现金流量净额为9.61亿元,同比下降95.46%;报告期内,通威股份基本每股收益为-0.6951元,加权平均净资产收益率为-5.16%。

公告称,公司营业收入变化主要由于光伏板块经营规模扩大,但不足以覆盖产品价格大幅下降影响。

以8月30日收盘价计算,通威股份目前市盈率(TTM)约为-30.29倍,市净率(LF)约为1.6倍,市销率(TTM)约为0.79倍。

公司近年市盈率(TTM)、市净率(LF)、市销率(TTM)历史分位图如下所示:

根据半年报,公司第二季度实现营业总收入242.27亿元,同比下降40.66%,环比增长23.79%;归母净利润-23.43亿元,同比下降150.18%,环比下降197.78%;扣非净利润-23.88亿元,同比下降158.02%,环比下降202.24%。

2024年上半年,公司毛利率为7.12%,同比下降27.02个百分点;净利率为-8.31%,较上年同期下降31.37个百分点。从单季度指标来看,2024年第二季度公司毛利率为5.43%,同比下降21.38个百分点,环比下降3.77个百分点;净利率为-12.36%,较上年同期下降27.40个百分点,较上一季度下降9.05个百分点。

数据显示,2024年上半年公司加权平均净资产收益率为-5.16%,较上年同期下降25.49个百分点;公司2024年上半年投入资本回报率为-2.35%,较上年同期下降18.27个百分点。

2024年上半年,公司经营活动现金流净额为9.61亿元,同比下降95.46%;筹资活动现金流净额198.02亿元,同比增加300.32亿元;投资活动现金流净额-168.84亿元,上年同期为-260.57亿元。

进一步统计发现,2024年上半年公司自由现金流为-84.85亿元,上年同期为71.97亿元。

2024年上半年,公司营业收入现金比为97.70%,净现比为-30.72%。

营运能力方面,2024年上半年,公司总资产周转率为0.24次,上年同期为0.49次(2023年上半年行业平均值为0.36次,公司位居同行业19/66);固定资产周转率为0.59次,上年同期为1.38次(2023年上半年行业平均值为2.90次,公司位居同行业50/66);公司应收账款周转率、存货周转率分别为6.52次、4.28次。

2024年上半年,公司期间费用为47.40亿元,较上年同期增加10.18亿元;期间费用率为10.82%,较上年同期上升5.80个百分点。其中,销售费用同比增长32.41%,管理费用同比增长12.83%,研发费用同比下降6.74%,财务费用同比增长252.81%。

资料显示,销售费用的变动主要因为光伏组件业务扩大;管理费用的变动主要因为经营规模扩大;财务费用的变动主要因为融资规模增加;研发费用的变动主要因为公司光伏研发所需材料价格下降。

资产重大变化方面,截至2024年上半年末,公司在建工程较上年末增加52.69%,占公司总资产比重上升2.39个百分点;货币资金较上年末增加0.31%,占公司总资产比重下降1.99个百分点;交易性金融资产较上年末增加47.99%,占公司总资产比重上升1.39个百分点;其他非流动资产较上年末减少32.80%,占公司总资产比重下降1.37个百分点。

负债重大变化方面,截至2024年上半年末,公司长期借款较上年末增加61.64%,占公司总资产比重上升5.94个百分点,主要系经营、投资规模扩大,融资增加;应付票据较上年末增加99.73%,占公司总资产比重上升4.05个百分点;应付账款较上年末增加40.08%,占公司总资产比重上升1.70个百分点,主要系投资、经营规模扩大,采购业务增加;短期借款较上年末增加1067.12%,占公司总资产比重上升1.13个百分点,主要系经营规模扩大,融资增加。

在偿债能力方面,公司2024年上半年末资产负债率为67.19%,相比上年末上升12.11个百分点;有息资产负债率为33.57%,相比上年末上升7.91个百分点。

2024年上半年,公司流动比率为1.23,速动比率为1.05。

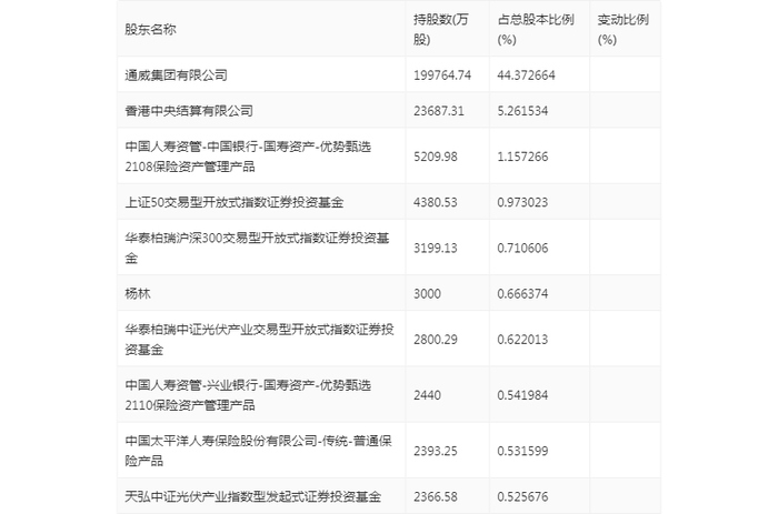
半年报显示,2024年上半年末公司十大流通股东中,新进股东为中国太平洋人寿保险股份有限公司-传统-普通保险产品、天弘中证光伏产业指数型发起式证券投资基金,取代了一季度末的睿远成长价值混合型证券投资基金、全国社保基金一一零组合。在具体持股比例上,通威集团有限公司、香港中央结算有限公司、华泰柏瑞沪深300交易型开放式指数证券投资基金、华泰柏瑞中证光伏产业交易型开放式指数证券投资基金持股有所上升,中国人寿资管-中国银行-国寿资产-优势甄选2108保险资产管理产品、上证50交易型开放式指数证券投资基金、杨林持股有所下降。

筹码集中度方面,截至2024年上半年末,公司股东总户数为33.98万户,较一季度末下降了1.37万户,降幅3.87%;户均持股市值由一季度末的31.68万元下降至25.32万元,降幅为20.08%。

指标注解:

市盈率

=总市值/净利润。当公司亏损时市盈率为负,此时用市盈率估值没有实际意义,往往用市净率或市销率做参考。

市净率

=总市值/净资产。市净率估值法多用于盈利波动较大而净资产相对稳定的公司。

市销率

=总市值/营业收入。市销率估值法通常用于亏损或微利的成长型公司。

文中市盈率和市销率采用TTM方式,即以截至最近一期财报(含预报)12个月的数据计算。市净率采用LF方式,即以最近一期财报数据计算。

市盈率为负时,不显示当期分位数,会导致折线图中断。

加载中...