新浪财经

监管连开8张罚单,中信建投证券、致同会计师事务所等中介机构集体为紫晶存储欺诈发行“买单”

媒体滚动 2024.08.31 08:51

财联社 记者 林坚

8月30日晚间,证监会披露了紫晶存储案的最新进展,这是2019年证券法修订后首例适用行政执法当事人承诺制度的案件,广受关注。根据最终结果,中信建投证券、致同会计师事务所(特殊普通合伙)、容诚会计师事务所(特殊普通合伙)、广东恒益律师事务所等4家中介机构已向投保基金公司交齐承诺金,合计12.75亿元,并进行了自查整改,证监会进行了现场核查验收。

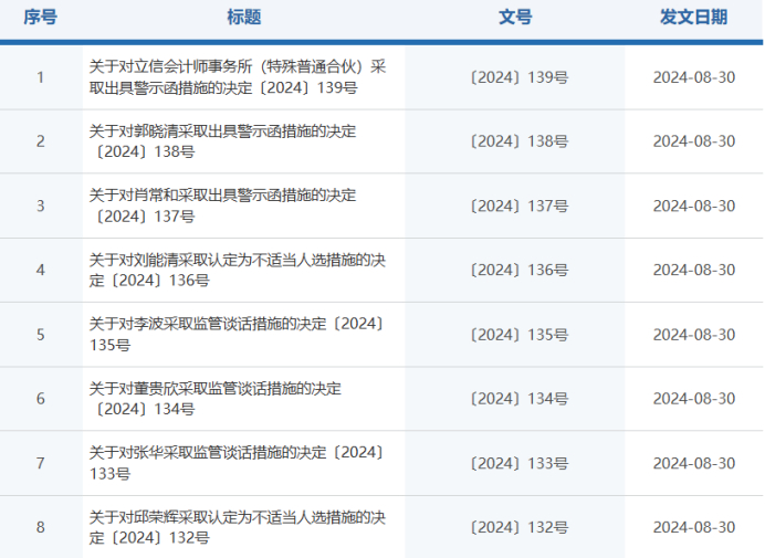
在案件处理过程中,证监会表态,将严肃追究相关人员责任。财联社记者注意到,相应罚单已逐一落地,赔偿、追究处罚完成闭环。同天,广东证监局对外公示了相关处罚罚单,合计8张。经过梳理,具体情况如下:

1.立信会计师事务所(特殊普通合伙)审计项目执业中存在三大违规问题,被采取出具警示函的行政监管措施。

2.立信会计师事务所(特殊普通合伙)审计项目执业存在问题,肖常和作为紫晶存储2020年度审计报告的签字注册会计师,对相关违规行为负有主要责任,被采取出具警示函的行政监管措施。

3.立信会计师事务所(特殊普通合伙)审计项目执业存在问题,郭晓清作为紫晶存储2020年度审计报告的签字注册会计师,对相关违规行为负有主要责任,被采取出具警示函的行政监管措施。

4.作为项目保荐代表人,刘能清是直接负责的主管人员,被认定为不适当人选,自行政监管措施决定作出之日起3年内,不得担任证券公司证券发行上市保荐业务相关职务或者实际履行上述职务。

5.作为项目保荐代表人,邱荣辉是直接负责的主管人员,被认定为不适当人选,自行政监管措施决定作出之日起3年内,不得担任证券公司证券发行上市保荐业务相关职务或者实际履行上述职务。

6.作为时任分管投行委委员、投行部深圳部负责人,李波是保荐机构存在违规行为的其他直接责任人员,被采取监管谈话的行政监管措施。

7.作为项目质控责任人之一,张华是保荐机构存在违规行为的其他直接责任人员,被采取监管谈话的行政监管措施。

8.作为项目质控责任人之一,董贵欣是保荐机构存在违规行为的其他直接责任人员,被采取监管谈话的行政监管措施。

广东证监局8月30日官网发布8条罚单

2023年4月18日,紫晶存储因欺诈发行、信息披露违法违规受到证监会行政处罚并退市。紫晶存储及实控人以及相关董事、总经理悉数遭到重罚,董事长被采取终身市场禁入,其他多位董监高同被采取5年或10年不等市场禁入措施,实控人及一致行动人被批捕。综合来看,市场长期追踪的处罚情况得以落地。

需要留意到,受到市场以及业界关注的是这波罚单内并未出现全部的涉事中介机构,对此,记者采访以及根据公开条例规则发现,这是根据《证券期货行政执法当事人承诺制度实施办法》做出的决定,符合现行规定。该《办法》显示:

行政执法当事人承诺,是指国务院证券监督管理机构对涉嫌证券期货违法的单位或者个人进行调查期间,被调查的当事人承诺纠正涉嫌违法行为、赔偿有关投资者损失、消除损害或者不良影响并经国务院证券监督管理机构认可,当事人履行承诺后国务院证券监督管理机构终止案件调查的行政执法方式。

证监会8月30日也称,鉴于4家中介机构已经履行承诺认可协议,根据《证券法》第一百七十一条、《证券期货行政执法当事人承诺制度实施办法》第十五条等规定,证监会依法终止对4家中介机构上述事项的调查。

罚单落地,但赔偿仍在进行。证监会有关部门负责人表示,后续,投保基金公司还将依照规定发布相关公告,在前期先行赔付中未申领赔偿金的适格投资者可以继续向投保基金公司申领相应的承诺金赔偿。部门负责人还表示,紫晶存储案较高效地保护了投资者合法权益,充分体现了行政执法当事人承诺制度在救济、惩戒、教育、化解市场矛盾纠纷等方面的综合性作用。

下一步,证监会将持续加大对资本市场违法违规行为的打击力度,强化中介机构把关责任,践行金融为民理念,依法依规稳慎做好行政执法当事人承诺工作,更加有效保护投资者特别是中小投资者合法权益,推动资本市场高质量发展。

记者留意到,为了真正地能够保护投资者,真正让违法者有“痛感”,让投资者有“获得感”,数据显示,证监会2023年已合计罚没63.89亿元,同比增长140%。

不仅如此,数据统计显示,今年上半年涉投行违规的罚单多达74张,多达31家券商被罚,总计有多达67名保代被列入保荐代表人分类名单C(处罚处分类)。

紫晶存储案投资者损失得到及时高效赔偿

紫晶存储案,可以称之为我国证券监管史上里程碑案件,该案位列证监会2024年投资者保护十大典型案例,这主要体现在该案是2019年证券法修订后首例适用行政执法当事人承诺制度的案件。

2023年5月,中信建投证券等中介机构共同出资设立紫晶存储事件先行赔付专项基金,中国证券投资者保护基金有限责任公司作为第三方中立机构接受委托担任专项基金管理人,负责基金的管理、运作。从时间线来看,行政执法当事人承诺制度发挥实效的关键节点在2023年年底。

彼时12月29日,证监会与广东紫晶信息存储技术股份有限公司欺诈发行、信息披露违法违规行为中涉嫌未勤勉尽责的中信建投证券、致同会计师事务所(特殊普通合伙)、容诚会计师事务所(特殊普通合伙)、广东恒益律师事务所等4家中介机构签署了承诺认可协议。目前来看,证监会官网也已集中披露了4家中介机构签署的承诺认可协议。

根据协议,4家中介机构共计交纳约12.75亿元承诺金,除了前期先行赔付的约10.86亿元投资者损失以外,还需向承诺金管理机构投保基金公司交纳约1.89亿元承诺金,其中包括尚未支付的约1179万元投资者损失款,并按照要求进行自查整改,严肃追究相关人员责任,提交书面整改报告。

从速度来看,先行赔付工作在三个月内高效完成,累计申报有效赔付金额约10.86亿元,占总赔付金额比例98.93%,申报有效赔付人数约16986人,占总赔付人数比例97.22%。证监会指出,申报人数、赔付金额及投资者和解率均为历次先行赔付工作中最高,各项工作平稳完成并取得了良好工作成效。

整体来看,紫晶存储先行赔付案实现了行政执法和民事赔偿的有效结合,节约了司法资源、提高了执法效率。通过快速赔偿投资者损失,在前端及时化解相关民事纠纷,实现法律效果与社会效果的统一。

证监会官网披露了协议签署公告

影响仍有,保代执业负面信息将会公示

罚单的后续影响依然还有。记者近期报道,中证协正在完善保荐代表人负面评价公示机制。保荐代表人分类名单将在原有A、B、C三类名单基础上,新增分类名单D(暂停业务类),将进一步强化保荐代表人的声誉约束。

后期,公示名单将公布最近三年内受过证监会行政处罚的,以及被证监会采取认定为不适当人选或暂不受理与行政许可有关文件等行政监管措施、被行业自律组织采取认定不适合从事相关业务,或暂不接受签字的文件或暂不受理出具的相关业务文件等纪律处分,且在执行期的时任保荐代表人名单。

可以看到,两位保代被认定为不适当人选,自行政监管措施决定作出之日起3年内,不得担任证券公司证券发行上市保荐业务相关职务或者实际履行上述职务。

对于后续公示保代的个体信息,将进一步压实投行“看门人”责任,强化对保荐代表人的声誉约束,将“申报即担责”要求落实到人。

加载中...